вконтакте

Контактный телефон: +7 (981) 121-46-93, +7 (800) 200-90-76 , Email: parts-katalog@yandex.ru, где купить

 
 

  Логин:

Пароль:

Регистрация

www.partskatalog.ru Все каталоги Запчасти Mercury Запчасти Suzuki Запчасти Tohatsu Запчасти Honda Контакты



УВАЖАЕМЫЕ КЛИЕНТЫ!
C 19 ДЕКАБРЯ 2025 ПО 02 МАРТА 2026 ГОДА ОТДЕЛ ЗАПЧАСТЕЙ И СЕРВИС РАБОТАТЬ НЕ БУДУТ
ПРОДАЖА ЛОДОЧНЫХ МОТОРОВ В ШТАТНОМ РЕЖИМЕ
ОБ ИЗМЕНЕНИЯХ В ГРАФИКЕ РАБОТЫ ЧИТАЙТЕ НА САЙТА




Все разделы каталога запчастей на этот двигатель

назад Раздел:   вперёд

вернуться к списку узлов и деталей

ДЕТАЛИРОВКА ДЛЯ МОДЕЛИ: EVINRUDE E25RECB 1998

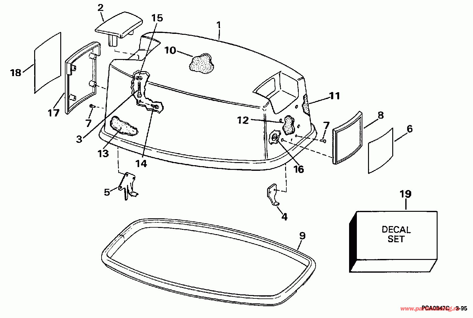
КРЫШКА ДВИГАТЕЛЯ (КАПОТ) -- JOHNSON | ENGINE COVER -- JOHNSON;


Подвесной лодочный мотор Эвинруд E25RECB 1998  -  Johnson - Johnson

Номер на
рисунке
АртикулНаименованиеКол-во
на складе
Цена
1 0438324

Крышка двигателя (капот) в сборе.. 20SR Only (ENGINE COVER ASSY.. 20SR Only)

нет в наличии, поставок нет
1 5000796

   (последний код) UMC SVC AY, JO/WHT

нет в наличии, поставок нет
1 0438326

Крышка двигателя (капот) в сборе.. 25BA, 25BAL, 25RD, 25R, 25RL (ENGINE COVER ASSY.. 25BA, 25BAL, 25RD, 25R, 25RL)

нет в наличии, поставок нет
1 5000796

   (последний код) UMC SVC AY, JO/WHT

нет в наличии, поставок нет
1 0438328

Крышка двигателя (капот) в сборе.. 30BA, 30BAL (ENGINE COVER ASSY.. 30BA, 30BAL)

нет в наличии, поставок нет
1 0438330

Крышка двигателя (капот) в сборе.. 25JR Only (ENGINE COVER ASSY.. 25JR Only)

нет в наличии, поставок нет
1 5000796

   (последний код) UMC SVC AY, JO/WHT

нет в наличии, поставок нет
2 0208399

Рукоятка наклона (TILT HANDLE)

нет в наличии, поставок нет
3 0330838

Винт, Рукоятка наклона (SCREW, Tilt handle)

нет в наличии, поставок нет
3 0329268

   (последний код) SCREW

нет в наличии, поставок нет
4 0207482

Крючок капота двигателя, front (HOOK, Engine cover, front)

нет в наличии, поставок нет
4 0206656

   (последний код) HOOK

нет в наличии, поставок нет
5 0329635

Крючок капота двигателя, rear (HOOK, Engine cover, rear)

нет в наличии, поставок нет
5 0316171

   (последний код) ANCHOR BLOCK

нет в наличии, поставок нет
6 0343188

Пластина, Рама, front. 20SR Only (PLATE, Frame, front. 20SR Only)

нет в наличии, поставок нет
6 0343190

Пластина, Рама, front. 25BA, 25BAL, 25RD, 25R, 25RL (PLATE, Frame, front. 25BA, 25BAL, 25RD, 25R, 25RL)

нет в наличии, поставок нет
6 0343192

Пластина, Рама, front. 30BA, 30BAL (PLATE, Frame, front. 30BA, 30BAL)

нет в наличии, поставок нет
6 0343185

Пластина, Рама, front. 25JR Only (PLATE, Frame, front. 25JR Only)

нет в наличии, поставок нет
7 0554355

Заклёпка (RIVET)

нет в наличии, поставок нет
7 0544355

   (последний код) RIVET

нет в наличии, поставок нет
8 0207863

Рама, Front (FRAME, Front)

нет в наличии, поставок нет
8 0206660

   (последний код) APPLIQUE

нет в наличии, поставок нет
9 0316225

Резинка капота двигателя (SEAL, Engine cover)

нет в наличии, поставок нет
9 0326487

   (последний код) SEAL

нет в наличии, поставок нет
10 0341527

SOUND BLANKET, Top (SOUND BLANKET, Top)

нет в наличии, поставок нет
10 0211277

   (последний код) SOUND-BLANKE

нет в наличии, поставок нет
11 0341528

SOUND BLANKET, Port (SOUND BLANKET, Port)

нет в наличии, поставок нет
11 0211278

   (последний код) SOUND BLANKET

нет в наличии, поставок нет
12 0341530

SOUND BLANKET, Front (SOUND BLANKET, Front)

нет в наличии, поставок нет
12 0211280

   (последний код) SOUND-BLANKE

нет в наличии, поставок нет
13 0341529

SOUND BLANKET, Stbd. (SOUND BLANKET, Stbd.)

нет в наличии, поставок нет
13 0211279

   (последний код) SOUND-BLANKE

нет в наличии, поставок нет
14 0334528

Винт, Рама Креплениеing, rear (SCREW, Frame mounting, rear)

нет в наличии, поставок нет
15 0202150

Шайба, Рукоятка наклона (WASHER, Tilt handle)

нет в наличии, поставок нет
16 0317223

Гайка, Push-on (NUT, Push-on)

нет в наличии, поставок нет
17 0338054

Рама, Rear (FRAME, Rear)

нет в наличии, поставок нет
18 0343189

Пластина, Рама, rear. 20SR Only (PLATE, Frame, rear. 20SR Only)

нет в наличии, поставок нет
18 0343191

Пластина, Рама, rear. 25BA, 25BAL, 25RD, 25R, 25RL (PLATE, Frame, rear. 25BA, 25BAL, 25RD, 25R, 25RL)

нет в наличии, поставок нет
18 0343193

Пластина, Рама, rear. 30BA, 30BAL (PLATE, Frame, rear. 30BA, 30BAL)

нет в наличии, поставок нет
18 0343186

Пластина, Рама, rear. 25JR Only (PLATE, Frame, rear. 25JR Only)

нет в наличии, поставок нет
19 0438437

Комплект наклеек (DECAL SET)

нет в наличии, поставок нет
evinrude

Время выполнения запроса 2.058296918869 сек.


 
 

данный сайт носит информационный характер и не является публичной офертой

склад запчастей для водомоторной техники