вконтакте

Контактный телефон: +7 (981) 121-46-93, +7 (800) 200-90-76 , Email: parts-katalog@yandex.ru, где купить

 
 

  Логин:

Пароль:

Регистрация

www.partskatalog.ru Все каталоги Запчасти Mercury Запчасти Suzuki Запчасти Tohatsu Запчасти Honda Контакты


Все разделы каталога запчастей на этот двигатель

назад Раздел:   вперёд

вернуться к списку узлов и деталей

ДЕТАЛИРОВКА ДЛЯ МОДЕЛИ: EVINRUDE E25TEECB 1998

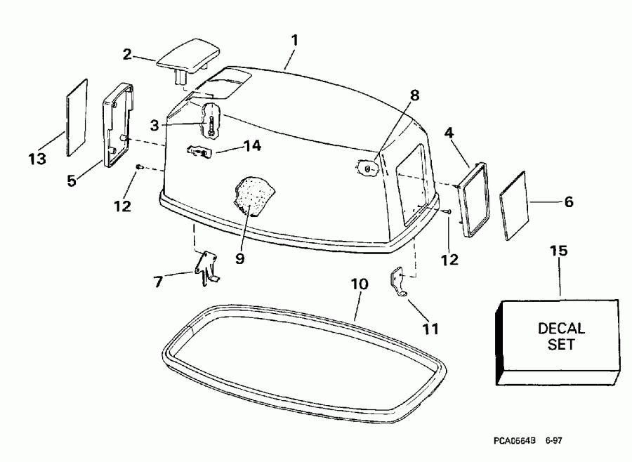
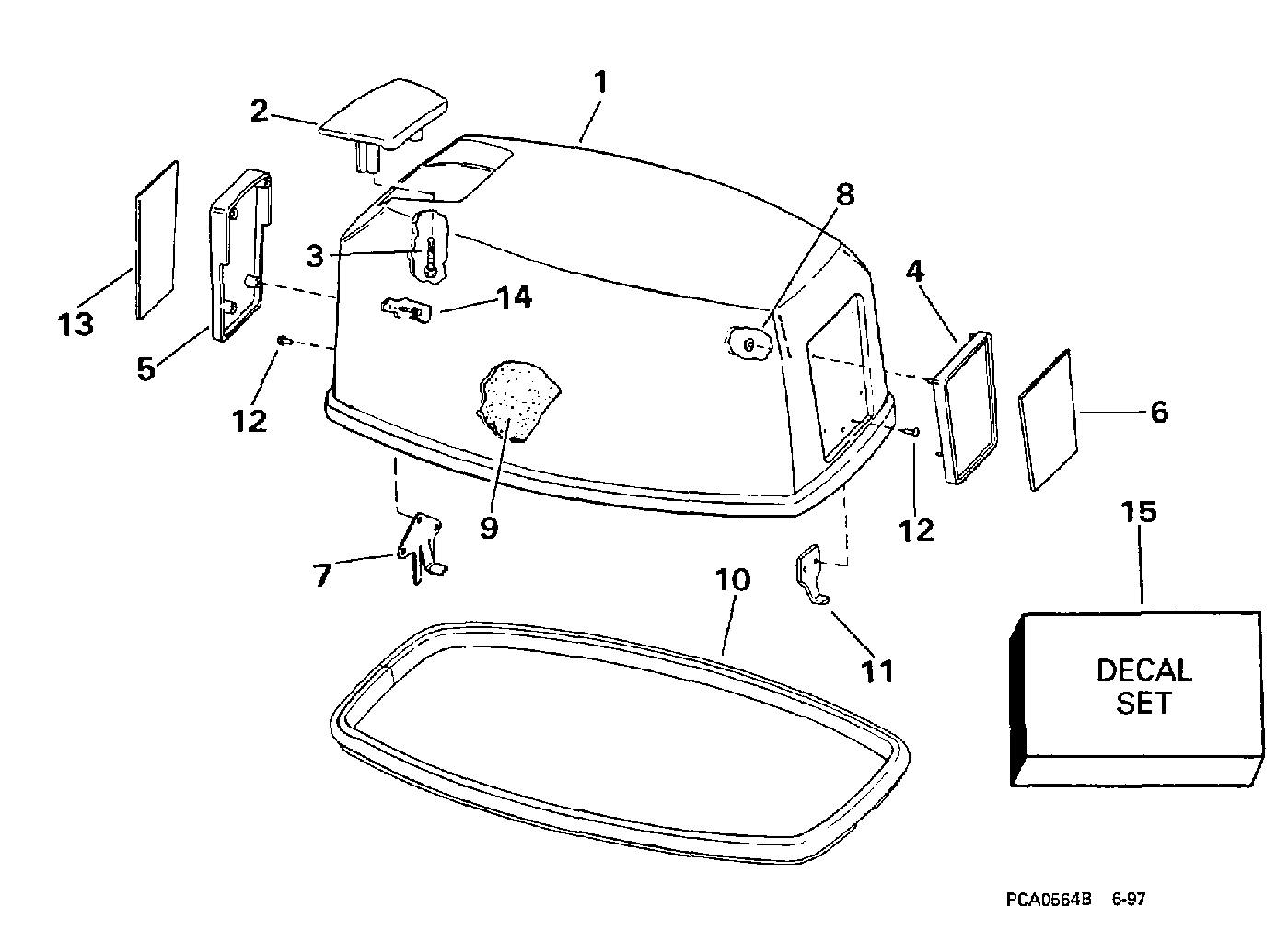
КРЫШКА ДВИГАТЕЛЯ (КАПОТ) -- EVINRUDE | ENGINE COVER -- EVINRUDE;


Лодочный мотор Evinrude E25TEECB 1998  -  Evinrude

Номер на
рисунке
АртикулНаименованиеКол-во
на складе
Цена
1 0284984

Крышка двигателя (капот) в сборе.. 25TE, 25TEL (ENGINE COVER ASSY.. 25TE, 25TEL)

нет в наличии, поставок нет
1 0284985

Крышка двигателя (капот) в сборе.. 30TE, 30TEL (ENGINE COVER ASSY.. 30TE, 30TEL)

нет в наличии, поставок нет
2 0322882

Рукоятка наклона (TILT HANDLE)

нет в наличии, поставок нет
3 0330823

Винт, Рукоятка наклона (SCREW, Tilt handle)

нет в наличии, поставок нет
3 0325838

   (последний код) SCREW

нет в наличии, поставок нет
4 0210965

Рама, Front (FRAME, Front)

нет в наличии, поставок нет
5 0210973

Рама, Rear (FRAME, Rear)

нет в наличии, поставок нет
6 0213219

Пластина, Рама, front (PLATE, Frame, front)

нет в наличии, поставок нет
7 0329635

Крючок капота двигателя, rear (HOOK, Engine cover, rear)

нет в наличии, поставок нет
7 0316171

   (последний код) ANCHOR BLOCK

нет в наличии, поставок нет
8 0317223

Гайка, Push-on (NUT, Push-on)

нет в наличии, поставок нет
9 0341523

SOUND BLANKET, Top (SOUND BLANKET, Top)

нет в наличии, поставок нет
9 0211273

   (последний код) SOUND-BLANKE

нет в наличии, поставок нет
9 0341525

SOUND BLANKET, Port (SOUND BLANKET, Port)

нет в наличии, поставок нет
9 0211275

   (последний код) SOUND-BLANKE

нет в наличии, поставок нет
9 0341524

SOUND BLANKET, Stbd. (SOUND BLANKET, Stbd.)

нет в наличии, поставок нет
9 0211274

   (последний код) SOUND-BLANKE

нет в наличии, поставок нет
9 0341526

SOUND BLANKET, Front (SOUND BLANKET, Front)

нет в наличии, поставок нет
9 0211276

   (последний код) SOUND-BLANKE

нет в наличии, поставок нет
10 0316225

Резинка капота двигателя (SEAL, Engine cover)

нет в наличии, поставок нет
10 0326487

   (последний код) SEAL

нет в наличии, поставок нет
11 0207482

Крючок капота двигателя, front (HOOK, Engine cover, front)

нет в наличии, поставок нет
11 0206656

   (последний код) HOOK

нет в наличии, поставок нет
12 0554355

Заклёпка (RIVET)

нет в наличии, поставок нет
12 0544355

   (последний код) RIVET

нет в наличии, поставок нет
13 0213223

Пластина, Рама, rear, 25. 25TE, 25TEL (PLATE, Frame, rear, 25. 25TE, 25TEL)

нет в наличии, поставок нет
13 0213226

Пластина, Рама, rear, 30. 30TE, 30TEL (PLATE, Frame, rear, 30. 30TE, 30TEL)

нет в наличии, поставок нет
14 0334528

Винт, Рама Креплениеing, rear (SCREW, Frame mounting, rear)

нет в наличии, поставок нет
15 0285043

Комплект наклеек. 25TE, 25TEL (DECAL SET. 25TE, 25TEL)

нет в наличии, поставок нет
15 0285044

Комплект наклеек. 30TE, 30TEL (DECAL SET. 30TE, 30TEL)

нет в наличии, поставок нет
evinrude

Время выполнения запроса 1.0184891223907 сек.


 
 

данный сайт носит информационный характер и не является публичной офертой

склад запчастей для водомоторной техники