вконтакте

Контактный телефон: +7 (981) 121-46-93, +7 (800) 200-90-76 , Email: parts-katalog@yandex.ru, где купить

 
 

  Логин:

Пароль:

Регистрация

www.partskatalog.ru Все каталоги Запчасти Mercury Запчасти Suzuki Запчасти Tohatsu Запчасти Honda Контакты


Все разделы каталога запчастей на этот двигатель

назад Раздел:   вперёд

вернуться к списку узлов и деталей

ДЕТАЛИРОВКА ДЛЯ МОДЕЛИ: EVINRUDE BE20SRLECB 1998

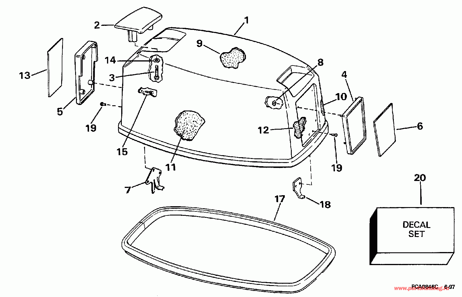
КРЫШКА ДВИГАТЕЛЯ (КАПОТ) -- EVINRUDE | ENGINE COVER -- EVINRUDE;


Лодочный мотор Эвинруд BE20SRLECB 1998  - Evinrude

Номер на
рисунке
АртикулНаименованиеКол-во
на складе
Цена
1 0284987

Крышка двигателя (капот) в сборе.. 20SR Only (ENGINE COVER ASSY.. 20SR Only)

нет в наличии, поставок нет
1 0284988

Крышка двигателя (капот) в сборе.. 25BA, 25BAL, 25RD, 25R, 25RL (ENGINE COVER ASSY.. 25BA, 25BAL, 25RD, 25R, 25RL)

нет в наличии, поставок нет
1 0284989

Крышка двигателя (капот) в сборе.. 30BA, 30BAL (ENGINE COVER ASSY.. 30BA, 30BAL)

нет в наличии, поставок нет
1 0284991

Крышка двигателя (капот) в сборе.. 25JR Only (ENGINE COVER ASSY.. 25JR Only)

нет в наличии, поставок нет
2 0208399

Рукоятка наклона (TILT HANDLE)

нет в наличии, поставок нет
3 0330838

Винт, Рукоятка наклона (SCREW, Tilt handle)

нет в наличии, поставок нет
3 0329268

   (последний код) SCREW

нет в наличии, поставок нет
4 0210965

Рама, Front (FRAME, Front)

нет в наличии, поставок нет
5 0210973

Рама, Rear (FRAME, Rear)

нет в наличии, поставок нет
6 0213219

Пластина, Рама, front. 20SR Only (PLATE, Frame, front. 20SR Only)

нет в наличии, поставок нет
7 0329635

Крючок капота двигателя, rear (HOOK, Engine cover, rear)

нет в наличии, поставок нет
7 0316171

   (последний код) ANCHOR BLOCK

нет в наличии, поставок нет
8 0317223

Гайка, Push-on (NUT, Push-on)

нет в наличии, поставок нет
9 0341527

SOUND BLANKET, Top (SOUND BLANKET, Top)

нет в наличии, поставок нет
9 0211277

   (последний код) SOUND-BLANKE

нет в наличии, поставок нет
10 0341528

SOUND BLANKET, Port (SOUND BLANKET, Port)

нет в наличии, поставок нет
10 0211278

   (последний код) SOUND BLANKET

нет в наличии, поставок нет
11 0341529

SOUND BLANKET, Stbd. (SOUND BLANKET, Stbd.)

нет в наличии, поставок нет
11 0211279

   (последний код) SOUND-BLANKE

нет в наличии, поставок нет
12 0341530

SOUND BLANKET, Front (SOUND BLANKET, Front)

нет в наличии, поставок нет
12 0211280

   (последний код) SOUND-BLANKE

нет в наличии, поставок нет
13 0213220

Пластина, Рама, rear. 20SR Only (PLATE, Frame, rear. 20SR Only)

нет в наличии, поставок нет
13 0213223

Пластина, Рама, rear. 25BA, 25BAL, 25RD, 25R, 25RL (PLATE, Frame, rear. 25BA, 25BAL, 25RD, 25R, 25RL)

нет в наличии, поставок нет
13 0213226

Пластина, Рама, rear. 30BA, 30BAL (PLATE, Frame, rear. 30BA, 30BAL)

нет в наличии, поставок нет
13 0213232

Пластина, Рама, rear. 25JR Only (PLATE, Frame, rear. 25JR Only)

нет в наличии, поставок нет
14 0202150

Шайба, Рукоятка наклона (WASHER, Tilt handle)

нет в наличии, поставок нет
15 0334528

Винт, Рама Креплениеing, rear (SCREW, Frame mounting, rear)

нет в наличии, поставок нет
17 0316225

Резинка капота двигателя (SEAL, Engine cover)

нет в наличии, поставок нет
17 0326487

   (последний код) SEAL

нет в наличии, поставок нет
18 0207482

Крючок капота двигателя, front (HOOK, Engine cover, front)

нет в наличии, поставок нет
18 0206656

   (последний код) HOOK

нет в наличии, поставок нет
19 0554355

Заклёпка (RIVET)

нет в наличии, поставок нет
19 0544355

   (последний код) RIVET

нет в наличии, поставок нет
20 0285042

Комплект наклеек. 20SR Only (DECAL SET. 20SR Only)

нет в наличии, поставок нет
20 0285043

Комплект наклеек. 25BA, 25BAL, 25RD, 25R, 25RL (DECAL SET. 25BA, 25BAL, 25RD, 25R, 25RL)

нет в наличии, поставок нет
20 0285044

Комплект наклеек. 30BA, 30BAL (DECAL SET. 30BA, 30BAL)

нет в наличии, поставок нет
20 0285046

Комплект наклеек. 25JR Only (DECAL SET. 25JR Only)

нет в наличии, поставок нет
evinrude

Время выполнения запроса 0.90353393554688 сек.


 
 

данный сайт носит информационный характер и не является публичной офертой

склад запчастей для водомоторной техники