вконтакте

Контактный телефон: +7 (981) 121-46-93, +7 (800) 200-90-76 , Email: parts-katalog@yandex.ru, где купить

 
 

  Логин:

Пароль:

Регистрация

www.partskatalog.ru Все каталоги Запчасти Mercury Запчасти Suzuki Запчасти Tohatsu Запчасти Honda Контакты


Все разделы каталога запчастей на этот двигатель

назад Раздел:   вперёд

вернуться к списку узлов и деталей

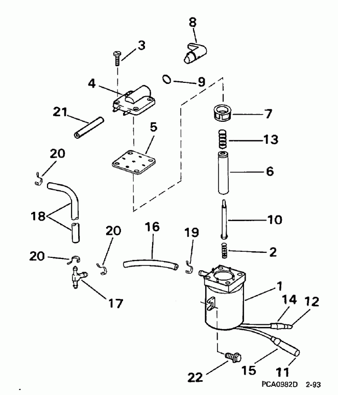
ДЕТАЛИРОВКА ДЛЯ МОДЕЛИ: EVINRUDE E15EECR 1998

ELECTRIC PRIMER SYSTEM | ELECTRIC PRIMER SYSTEM;


Подвесной лодочный мотор EVINRUDE E15EECR 1998  - ectric Primer System

Номер на
рисунке
АртикулНаименованиеКол-во
на складе
Цена
1 0437235

Соленоид, в сборе. (SOLENOID ASSY.)

нет в наличии, поставок нет
1 0435225

   (последний код) SOLENOID AY,PRIMER

нет в наличии, поставок нет
2 0511986

Пружина клапана (SPRING, Valve)

нет в наличии, поставок нет
3 0330121

Винт, Крышка to Корпус (SCREW, Cover to housing)

нет в наличии, поставок нет
3 0326186

   (последний код) SCREW

нет в наличии, поставок нет
4 0341073

Крышка (COVER)

нет в наличии, поставок нет
5 0341297

Прокладка (GASKET)

нет в наличии, поставок нет
6 0511809

Плунжер (PLUNGER)

нет в наличии, поставок нет
7 0332365

Фильтр (FILTER)

нет в наличии, поставок нет
7 0511811

   (последний код) FILTER

нет в наличии, поставок нет
8 0511812

Ручной клапан (MANUAL VALVE)

нет в наличии, поставок нет
9 0331365

Уплотнительное кольцо, Клапан (O-RING, Valve)

нет в наличии, поставок нет
9 0326721

   (последний код) O-RING

нет в наличии, поставок нет
10 0333447

Клапан, Плунжер (VALVE, Plunger)

нет в наличии, поставок нет
10 0511988

   (последний код) VALVE

нет в наличии, поставок нет
11 0512876

Клемма, Socket (TERMINAL, Socket)

нет в наличии, поставок нет
11 3852244

   (последний код) TERMINAL,SOC

нет в наличии, поставок нет
12 0512947

Клемма, Bullet (TERMINAL, Bullet)

нет в наличии, поставок нет
12 0910462

   (последний код) TERM.-60766-

нет в наличии, поставок нет
13 0511987

Пружина, Плунжер (SPRING, Plunger)

нет в наличии, поставок нет
14 0513185

Гильза, Bullet (SLEEVE, Bullet)

нет в наличии, поставок нет
14 0512948

   (последний код) SLEEVE

нет в наличии, поставок нет
15 0513186

Гильза, Socket (SLEEVE, Socket)

нет в наличии, поставок нет
15 3852248

   (последний код) SLEEVE,SKT-B

нет в наличии, поставок нет
16 0

Шланг, Tee to primer, 1 дюйм (25 мм) сокращёная длина from 327228 -- 5 / 32 дюйм I.D., 25 фут (7, 6m) Roll (HOSE, Tee to primer, 1 in. (25mm). Cut to Length from 327228 -- 5/32 in. I.D., 25 ft. (7,6m) Roll)

нет в наличии, поставок нет
17 0313537

TEE, Solenoid to Карбюратор (TEE, Solenoid to carburetor)

нет в наличии, поставок нет
18 0338185

Шланг, Tee to Карбюратор (HOSE, Tee to carburetor)

нет в наличии, поставок нет
19 0317893

Крепёжный хомут (TIE STRAP)

нет в наличии, поставок нет
19 3852149

   (последний код) TIE-STRAP

нет в наличии, поставок нет
20 0320107

Крепёжный хомут (TIE STRAP)

нет в наличии, поставок нет
20 5035626

   (последний код) BAND,REM CON

нет в наличии, поставок нет
21 0

Шланг, Primer to carb. 3 1 / 2 дюйм (82 мм) сокращёная длина from 327229 -- 0.0575 дюйм I.D., 25 фут (7, 6m) Roll (HOSE, Primer to carb. 3 1/2 in. (82mm). Cut to Length from 327229 -- 0.0575 in. I.D., 25 ft. (7,6m) Roll)

нет в наличии, поставок нет
22 0332226

Винт, Primer to Коллектор (SCREW, Primer to manifold)

нет в наличии, поставок нет
22 3852207

   (последний код) SCREW

нет в наличии, поставок нет
evinrude

Время выполнения запроса 0.59768891334534 сек.


 
 

данный сайт носит информационный характер и не является публичной офертой

склад запчастей для водомоторной техники