вконтакте

Контактный телефон: +7 (981) 121-46-93, +7 (800) 200-90-76 , Email: parts-katalog@yandex.ru, где купить

 
 

  Логин:

Пароль:

Регистрация

www.partskatalog.ru Все каталоги Запчасти Mercury Запчасти Suzuki Запчасти Tohatsu Запчасти Honda Контакты


Все разделы каталога запчастей на этот двигатель

назад Раздел:   вперёд

вернуться к списку узлов и деталей

ДЕТАЛИРОВКА ДЛЯ МОДЕЛИ: EVINRUDE HE15KCO 1998

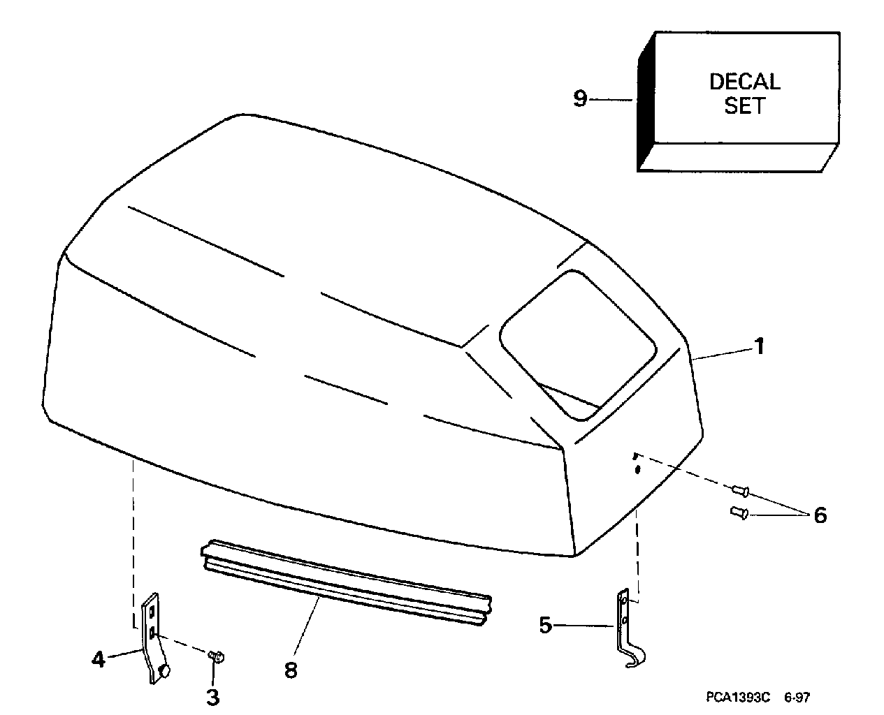
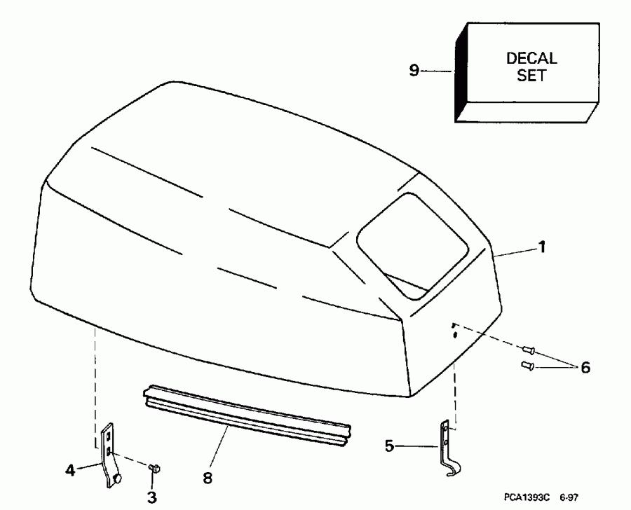
КРЫШКА ДВИГАТЕЛЯ (КАПОТ) -- EVINRUDE | ENGINE COVER -- EVINRUDE;


Лодочный мотор Evinrude HE15KCO 1998  - Evinrude -  Evinrude

Номер на
рисунке
АртикулНаименованиеКол-во
на складе
Цена
1 0285072

Крышка двигателя (капот) в сборе.. 10 Models Only (ENGINE COVER ASSY.. 10 Models Only)

нет в наличии, поставок нет
1 0285073

Крышка двигателя (капот) в сборе.. 15RP & 15KC Models (ENGINE COVER ASSY.. 15RP & 15KC Models)

нет в наличии, поставок нет
2 0339204

Сальник (SEAL)

нет в наличии, поставок нет
3 0329217

Винт, Rear Крючок (SCREW, Rear hook)

нет в наличии, поставок нет
3 0333707

   (последний код) SCREW

нет в наличии, поставок нет
4 0438947

Крючок, Rear (HOOK, Rear)

нет в наличии, поставок нет
5 0436301

Крючок спереди (HOOK, Front)

нет в наличии, поставок нет
6 0339068

Заклёпка, Front Крючок (RIVET, Front hook)

нет в наличии, поставок нет
7 0285087

Комплект наклеек. 10 Models Only (DECAL SET. 10 Models Only)

нет в наличии, поставок нет
7 0285088

Комплект наклеек. 15RP & 15KC Models (DECAL SET. 15RP & 15KC Models)

нет в наличии, поставок нет
evinrude

Время выполнения запроса 0.80102586746216 сек.


 
 

данный сайт носит информационный характер и не является публичной офертой

склад запчастей для водомоторной техники