вконтакте

Контактный телефон: +7 (981) 121-46-93, +7 (800) 200-90-76 , Email: parts-katalog@yandex.ru, где купить

 
 

  Логин:

Пароль:

Регистрация

www.partskatalog.ru Все каталоги Запчасти Mercury Запчасти Suzuki Запчасти Tohatsu Запчасти Honda Контакты



УВАЖАЕМЫЕ КЛИЕНТЫ!
C 19 ДЕКАБРЯ 2025 ПО 02 МАРТА 2026 ГОДА ОТДЕЛ ЗАПЧАСТЕЙ И СЕРВИС РАБОТАТЬ НЕ БУДУТ
ПРОДАЖА ЛОДОЧНЫХ МОТОРОВ В ШТАТНОМ РЕЖИМЕ
ОБ ИЗМЕНЕНИЯХ В ГРАФИКЕ РАБОТЫ ЧИТАЙТЕ НА САЙТА




Все разделы каталога запчастей на этот двигатель

назад Раздел:   вперёд

вернуться к списку узлов и деталей

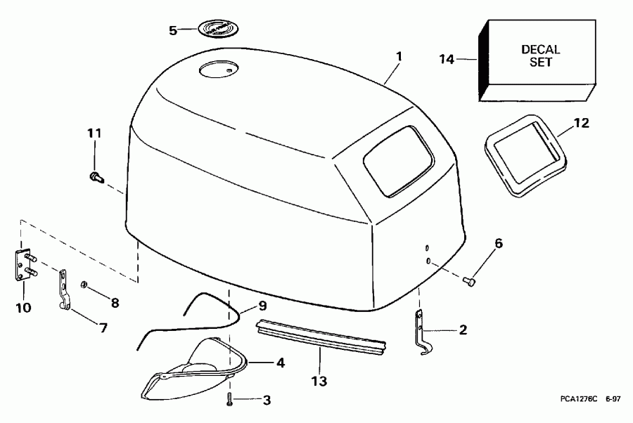
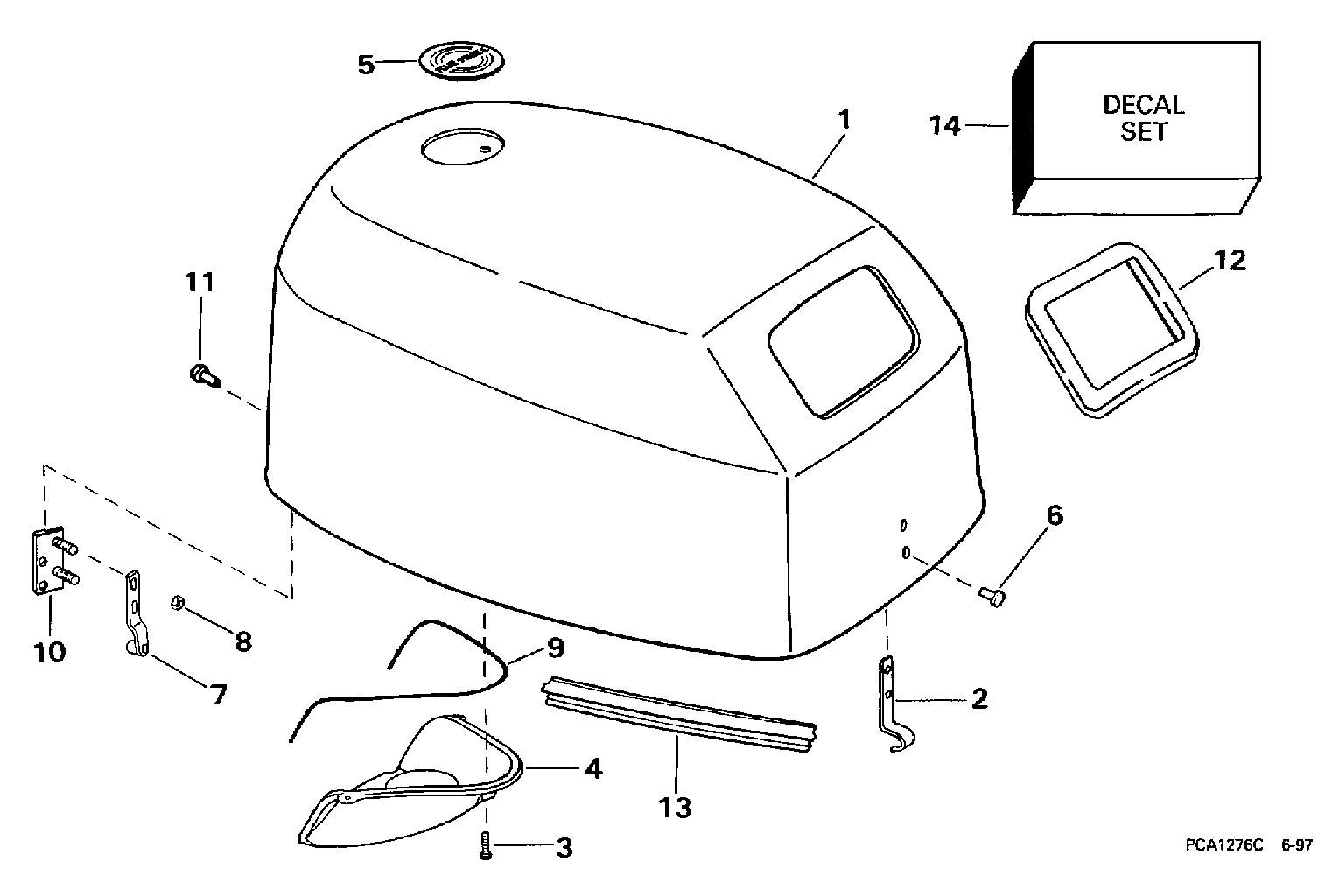
ДЕТАЛИРОВКА ДЛЯ МОДЕЛИ: EVINRUDE HE10FELECA 1998

КРЫШКА ДВИГАТЕЛЯ (КАПОТ) -- JOHNSON | ENGINE COVER -- JOHNSON;


Подвесной мотор Evinrude HE10FELECA 1998  - Johnson

Номер на
рисунке
АртикулНаименованиеКол-во
на складе
Цена
1 0445041

Крышка двигателя (капот) в сборе.. 8 Models (ENGINE COVER ASSY.. 8 Models)

нет в наличии, поставок нет
1 0445042

Крышка двигателя (капот) в сборе.. 10 Models (ENGINE COVER ASSY.. 10 Models)

нет в наличии, поставок нет
2 0446356

Крючок в сборе., Front (HOOK ASSY., Front)

нет в наличии, поставок нет
3 0330838

Винт, Baffle (SCREW, Baffle)

нет в наличии, поставок нет
3 0329268

   (последний код) SCREW

нет в наличии, поставок нет
4 0446174

BAFFLE (BAFFLE)

нет в наличии, поставок нет
5 0341125

APPLIQUE, Four-stroke (APPLIQUE, Four-stroke)

нет в наличии, поставок нет
6 0446339

Заклёпка (RIVET)

нет в наличии, поставок нет
7 0437119

Крючок, Rear (HOOK, Rear)

нет в наличии, поставок нет
8 0341237

Гайка, Крючок to Кронштейн (NUT, Hook to bracket)

нет в наличии, поставок нет
9 0

Сальник, Baffle. сокращёная длина from P / N 309044 (SEAL, Baffle. Cut to Length from P/N 309044)

нет в наличии, поставок нет
10 0437120

Кронштейн в сборе. (BRACKET ASSY.)

нет в наличии, поставок нет
11 0446338

Заклёпка, Rear (RIVET, Rear)

нет в наличии, поставок нет
12 0446256

Сальник, Корпус to Крышка (SEAL, Housing to cover)

нет в наличии, поставок нет
13 0446355

Сальник, верхний to Нижняя часть корпусаs (SEAL, Upper to lower covers)

нет в наличии, поставок нет
14 0449513

Комплект наклеек. 8 Models (DECAL SET. 8 Models)

нет в наличии, поставок нет
14 0449515

Комплект наклеек. 10 Models (DECAL SET. 10 Models)

нет в наличии, поставок нет
evinrude

Время выполнения запроса 0.31255006790161 сек.


 
 

данный сайт носит информационный характер и не является публичной офертой

склад запчастей для водомоторной техники