вконтакте

Контактный телефон: +7 (981) 121-46-93, +7 (800) 200-90-76 , Email: parts-katalog@yandex.ru, где купить

 
 

  Логин:

Пароль:

Регистрация

www.partskatalog.ru Все каталоги Запчасти Mercury Запчасти Suzuki Запчасти Tohatsu Запчасти Honda Контакты


Все разделы каталога запчастей на этот двигатель

назад Раздел:   вперёд

вернуться к списку узлов и деталей

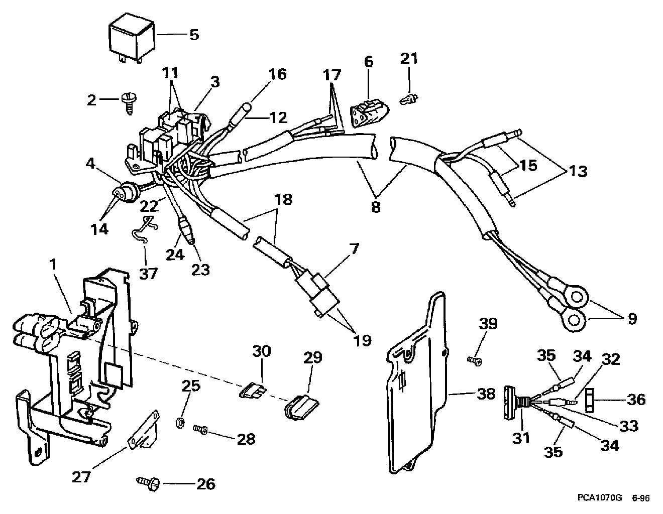
ДЕТАЛИРОВКА ДЛЯ МОДЕЛИ: EVINRUDE BE250CXEUM 1997

МЕХАНИЗИРОВАННЫЙ ДИФФЕРЕНТ НАКЛОНА ЭЛЕКТРИКА | POWER TRIM/TILT ELECTRICAL;


Лодочный мотор Эвинруд BE250CXEUM 1997  - wer Trim / tilt Электрика / wer Trim/tilt Electrical

Номер на
рисунке
АртикулНаименованиеКол-во
на складе
Цена
1 0586013

Кронштейн, Component (BRACKET, Component)

нет в наличии, поставок нет
1 0584999

   (последний код) BRKT&INSERT

нет в наличии, поставок нет
2 0315656

Винт, Реле to Кронштейн (SCREW, Relay to bracket)

нет в наличии, поставок нет
0585169 0585169

Реле & Кабели в сборе.. Not Shown (RELAY & CABLE ASSY.. Not Shown)

нет в наличии, поставок нет
3 0334191

Кронштейн, Tilt & trim Реле (BRACKET, Tilt & trim relay)

нет в наличии, поставок нет
3 3852210

   (последний код) BRACKET

нет в наличии, поставок нет
4 0512745

Коннектор, 2-socket (CONNECTOR, 2-socket)

нет в наличии, поставок нет
5 0586224

Реле в сборе. (RELAY ASSY.)

1 шт2730 руб.
5 3857533

   (последний код) RELAY AY

нет в наличии, поставок нет
6 0514686

Коннектор, 3-Штифт (CONNECTOR, 3-pin)

нет в наличии, поставок нет
7 0513663

Коннектор, 2-Внешняя розетка (CONNECTOR, 2-receptacle)

нет в наличии, поставок нет
7 3852249

   (последний код) CONN,2-CONT

нет в наличии, поставок нет
8 0585168

Кабели в сборе. (CABLE ASSY.)

нет в наличии, поставок нет
9 0204053

Клемма, Кольцо (TERMINAL, Ring)

нет в наличии, поставок нет
9 3852037

   (последний код) TERMINAL,RIN

нет в наличии, поставок нет
10 0317893

Крепёжный хомут (TIE STRAP)

нет в наличии, поставок нет
10 3852149

   (последний код) TIE-STRAP

нет в наличии, поставок нет
11 0513167

Клемма, Внешняя розетка (TERMINAL, Receptacle)

нет в наличии, поставок нет
11 3852247

   (последний код) TERMINAL,RCP

нет в наличии, поставок нет
12 0512260

Гильза (SLEEVE)

нет в наличии, поставок нет
13 0512947

Клемма, Bullet (TERMINAL, Bullet)

нет в наличии, поставок нет
13 0910462

   (последний код) TERM.-60766-

нет в наличии, поставок нет
14 0581656

Клемма, Socket (TERMINAL, Socket)

нет в наличии, поставок нет
14 3852257

   (последний код) TERMINAL AY,SCKT

нет в наличии, поставок нет
15 0513185

Гильза (SLEEVE)

нет в наличии, поставок нет
15 0512948

   (последний код) SLEEVE

нет в наличии, поставок нет
16 0513851

Клемма (TERMINAL)

нет в наличии, поставок нет
16 0513782

   (последний код) TERMINAL,SOC

нет в наличии, поставок нет
17 0514679

Клемма, Штифт (TERMINAL, Pin)

нет в наличии, поставок нет
18 0585167

Кабели в сборе., Trim motor (CABLE ASSY., Trim motor)

нет в наличии, поставок нет
19 0513666

Клемма, Blade (TERMINAL, Blade)

нет в наличии, поставок нет
19 3852252

   (последний код) TERMINAL,BLA

нет в наличии, поставок нет
20 0513665

Сальник, Коннектор (SEAL, Connector)

нет в наличии, поставок нет
20 3852251

   (последний код) PLUG,CONN SEAL

нет в наличии, поставок нет
21 0514682

LOCK WEDGE (LOCK WEDGE)

нет в наличии, поставок нет
22 0584377

LEAD в сборе., Реле to trim limiting Переключатель (LEAD ASSY., Relay to trim limiting switch)

нет в наличии, поставок нет
23 0512947

Клемма, Bullet (TERMINAL, Bullet)

нет в наличии, поставок нет
23 0910462

   (последний код) TERM.-60766-

нет в наличии, поставок нет
24 0513185

Гильза (SLEEVE)

нет в наличии, поставок нет
24 0512948

   (последний код) SLEEVE

нет в наличии, поставок нет
25 0309907

Шайба, Винт (WASHER, Screw)

нет в наличии, поставок нет
26 0343634

Винт, Кронштейн, 1 / 2 дюйм (SCREW, Bracket, 1/2 in.)

нет в наличии, поставок нет
26 0335200

   (последний код) SCREW

нет в наличии, поставок нет
26 0335687

Винт, Кронштейн, 3 / 4 дюйм (SCREW, Bracket, 3/4 in.)

нет в наличии, поставок нет
26 3852213

   (последний код) SCREW

нет в наличии, поставок нет
27 0514005

Кронштейн (BRACKET)

нет в наличии, поставок нет
28 0514162

Винт, Кронштейн (SCREW, Bracket)

нет в наличии, поставок нет
29 0514022

Заглушка, Запасной предохранитель (PLUG, Fuse, spare)

нет в наличии, поставок нет
30 0514021

Запасной предохранитель (FUSE, Spare)

нет в наличии, поставок нет
31 0584842

Переключатель в сборе., Trim & tilt (SWITCH ASSY., Trim & tilt)

нет в наличии, поставок нет
31 0584697

   (последний код) SWITCH AY,T&T

нет в наличии, поставок нет
32 0512947

Клемма, Bullet (TERMINAL, Bullet)

нет в наличии, поставок нет
32 0910462

   (последний код) TERM.-60766-

нет в наличии, поставок нет
33 0513185

Гильза (SLEEVE)

нет в наличии, поставок нет
33 0512948

   (последний код) SLEEVE

нет в наличии, поставок нет
34 0512876

Клемма, Socket (TERMINAL, Socket)

нет в наличии, поставок нет
34 3852244

   (последний код) TERMINAL,SOC

нет в наличии, поставок нет
35 0513186

Гильза (SLEEVE)

нет в наличии, поставок нет
35 3852248

   (последний код) SLEEVE,SKT-B

нет в наличии, поставок нет
36 0334656

Гайка (NUT)

нет в наличии, поставок нет
37 0512741

Фиксатор, Коннектор (RETAINER, Connector)

нет в наличии, поставок нет
38 0340937

Крышка, Кронштейн (COVER, Bracket)

нет в наличии, поставок нет
39 0330838

Винт, Крышка (SCREW, Cover)

нет в наличии, поставок нет
39 0329268

   (последний код) SCREW

нет в наличии, поставок нет
evinrude

Время выполнения запроса 3.118577003479 сек.


 
 

данный сайт носит информационный характер и не является публичной офертой

склад запчастей для водомоторной техники