вконтакте

Контактный телефон: +7 (981) 121-46-93, +7 (800) 200-90-76 , Email: parts-katalog@yandex.ru, где купить

 
 

  Логин:

Пароль:

Регистрация

www.partskatalog.ru Все каталоги Запчасти Mercury Запчасти Suzuki Запчасти Tohatsu Запчасти Honda Контакты


Все разделы каталога запчастей на этот двигатель

назад Раздел:   вперёд

вернуться к списку узлов и деталей

ДЕТАЛИРОВКА ДЛЯ МОДЕЛИ: EVINRUDE BE225CXEUD 1997

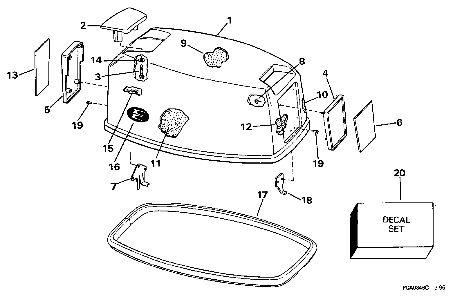
КРЫШКА ДВИГАТЕЛЯ (КАПОТ) - EVINRUDE - 200STL, 225STL | ENGINE COVER - EVINRUDE - 200STL, 225STL;


Подвесной двигатель Evinrude BE225CXEUD 1997  - Evinrude - 200stl, 225stl - Evinrude - 200stl, 225stl

Номер на
рисунке
АртикулНаименованиеКол-во
на складе
Цена
0285028 0285028

Крышка двигателя (капот) в сборе., 200. Not Shown (ENGINE COVER ASSY., 200. Not Shown)

нет в наличии, поставок нет
0285029 0285029

Крышка двигателя (капот) в сборе., 225. Not Shown (ENGINE COVER ASSY., 225. Not Shown)

нет в наличии, поставок нет
1 0435716

Крючок (HOOK)

нет в наличии, поставок нет
2 0323228

Винт, Система впуска to Кронштейн (SCREW, Intake to bracket)

нет в наличии, поставок нет
3 0337791

Крышка, Air Система впуска (COVER, Air intake)

нет в наличии, поставок нет
4 0337790

Резинка капота двигателя (SEAL, Engine cover)

нет в наличии, поставок нет
5 0437394

Кронштейн, Front (BRACKET, Front)

нет в наличии, поставок нет
5 0337788

   (последний код) BRACKET,LATCH

нет в наличии, поставок нет
6 0337789

LOCATING Кронштейн, Rear (LOCATING BRACKET, Rear)

нет в наличии, поставок нет
7 0324898

Бампер, Locating Кронштейнs (BUMPER, Locating brackets)

нет в наличии, поставок нет
8 0437393

Кронштейн, Rear (BRACKET, Rear)

нет в наличии, поставок нет
8 0337529

   (последний код) BRACKET,LATC

нет в наличии, поставок нет
9 0337793

BAFFLE, Air Система впуска (BAFFLE, Air intake)

нет в наличии, поставок нет
10 0317223

Защелка (FASTENER)

нет в наличии, поставок нет
11 0212470

LENS, Front, V6 (LENS, Front, V6)

нет в наличии, поставок нет
12 0212478

LENS, Ev., front (LENS, Ev., front)

нет в наличии, поставок нет
12 0212477

   (последний код) APPLIQUE,EV

нет в наличии, поставок нет
13 0212479

LENS, Ev., port & stbd. (LENS, Ev., port & stbd.)

нет в наличии, поставок нет
13 0212247

   (последний код) APPLIQUE,EVI

нет в наличии, поставок нет
14 0328744

Винт, Крючок (SCREW, Hook)

нет в наличии, поставок нет
14 0308741

   (последний код) SCREW

нет в наличии, поставок нет
15 0332191

Воздушный винт Система впуска (SCREW, Air intake)

нет в наличии, поставок нет
17 0337528

BAFFLE (BAFFLE)

нет в наличии, поставок нет
18 0212478

LENS, Ev., rear (LENS, Ev., rear)

нет в наличии, поставок нет
18 0212477

   (последний код) APPLIQUE,EV

нет в наличии, поставок нет
19 0338482

Сальник, Baffle (SEAL, Baffle)

нет в наличии, поставок нет
20 0341491

SOUND BLANKET, Port (SOUND BLANKET, Port)

нет в наличии, поставок нет
20 0345773

   (последний код) BLANKET,SOUND

нет в наличии, поставок нет
21 0341492

SOUND BLANKET, Stbd. (SOUND BLANKET, Stbd.)

нет в наличии, поставок нет
21 0345774

   (последний код) BLANKET,SOUND

нет в наличии, поставок нет
22 0341493

SOUND BLANKET, Front (SOUND BLANKET, Front)

нет в наличии, поставок нет
22 0337795

   (последний код) SOUND-BLANKE

нет в наличии, поставок нет
23 0341494

SOUND BLANKET, Top (SOUND BLANKET, Top)

нет в наличии, поставок нет
24 0212468

LENS, Rear, 200 (LENS, Rear, 200)

нет в наличии, поставок нет
24 0212469

LENS, Rear, 225 (LENS, Rear, 225)

нет в наличии, поставок нет
25 0284889

Комплект наклеек, 200 (DECAL SET, 200)

нет в наличии, поставок нет
25 0284891

Комплект наклеек, 225 (DECAL SET, 225)

нет в наличии, поставок нет
26 0431929

ADHESIVE KIT, Locating Кронштейнs (ADHESIVE KIT, Locating brackets)

нет в наличии, поставок нет
evinrude

Время выполнения запроса 1.1911718845367 сек.


 
 

данный сайт носит информационный характер и не является публичной офертой

склад запчастей для водомоторной техники