вконтакте

Контактный телефон: +7 (981) 121-46-93, +7 (800) 200-90-76 , Email: parts-katalog@yandex.ru, где купить

 
 

  Логин:

Пароль:

Регистрация

www.partskatalog.ru Все каталоги Запчасти Mercury Запчасти Suzuki Запчасти Tohatsu Запчасти Honda Контакты



УВАЖАЕМЫЕ КЛИЕНТЫ!
C 19 ДЕКАБРЯ 2025 ПО 02 МАРТА 2026 ГОДА ОТДЕЛ ЗАПЧАСТЕЙ И СЕРВИС РАБОТАТЬ НЕ БУДУТ
ПРОДАЖА ЛОДОЧНЫХ МОТОРОВ В ШТАТНОМ РЕЖИМЕ
ОБ ИЗМЕНЕНИЯХ В ГРАФИКЕ РАБОТЫ ЧИТАЙТЕ НА САЙТА




Все разделы каталога запчастей на этот двигатель

назад Раздел:   вперёд

вернуться к списку узлов и деталей

ДЕТАЛИРОВКА ДЛЯ МОДЕЛИ: EVINRUDE E50ESLEUR 1997

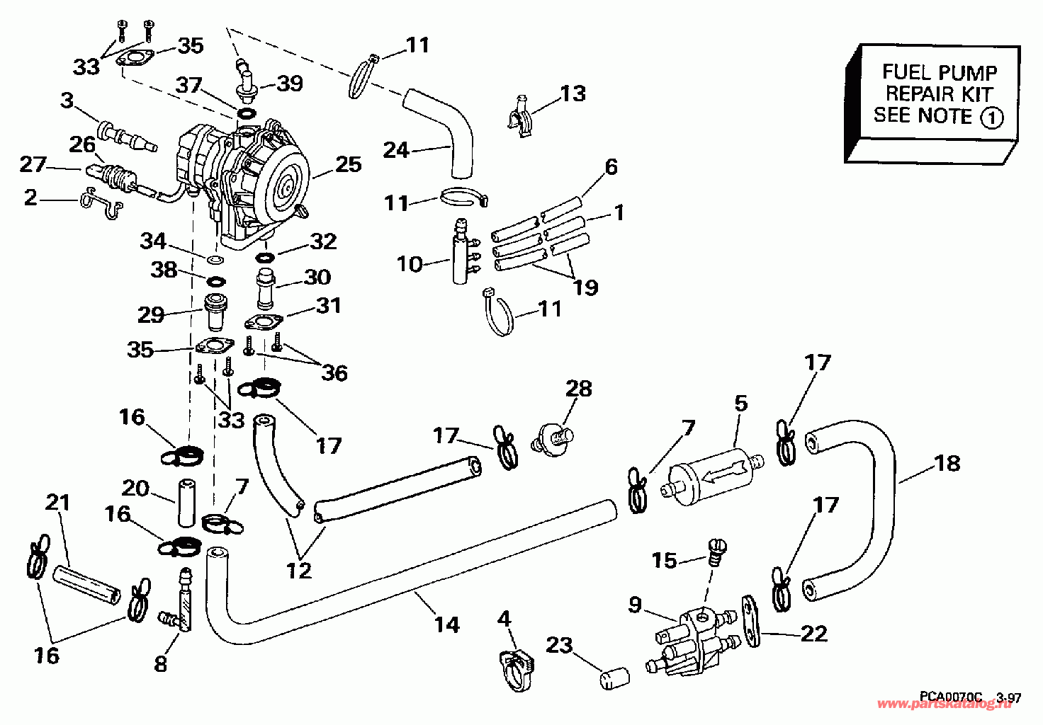
ТОПЛИВНЫЙ НАСОС | FUEL PUMP;


Лодочный подвесной мотор EVINRUDE E50ESLEUR 1997  - el Помпа - el Pump

Номер на
рисунке
АртикулНаименованиеКол-во
на складе
Цена
1 0

Шланг, Коллектор to primer, 8 дюйм (203 мм) сокращёная длина from 327228 -- 5 / 32 дюйм I.D., 25 фут (7, 6m) Roll (HOSE, Manifold to primer, 8 in. (203mm). Cut to Length from 327228 -- 5/32 in. I.D., 25 ft. (7,6m) Roll)

нет в наличии, поставок нет
2 0512743

Фиксатор (RETAINER)

нет в наличии, поставок нет
2 3852238

   (последний код) RETAINER,CON

нет в наличии, поставок нет
3 0333521

Крепление, Isolation (MOUNT, Isolation)

нет в наличии, поставок нет
4 0322654

Струбцина Хомут, Oil Шланг (CLAMP STRAP, Oil hose)

нет в наличии, поставок нет
4 3852172

   (последний код) CLAMP,SNAP

нет в наличии, поставок нет
5 0435918

Топливный фильтр в сборе. (FUEL FILTER ASSY.)

нет в наличии, поставок нет
6 0

Топливный шланг Коллектор to carb., верхний , 6 1 / 4 in (159 мм) сокращёная длина from 327228 -- 5 / 32 дюйм I.D., 25 фут (7, 6m) Roll (HOSE, Fuel manifold to carb., upper, 6 1/4 in (159mm). Cut to Length from 327228 -- 5/32 in. I.D., 25 ft. (7,6m) Roll)

нет в наличии, поставок нет
7 0339279

Струбцина, 625 (CLAMP, .625)

нет в наличии, поставок нет
8 0331841

SIGHT Масляная трубка (SIGHT TUBE, Oil)

нет в наличии, поставок нет
9 0398229

Топливный коннектор в сборе. (FUEL CONNECTOR ASSY.)

нет в наличии, поставок нет
10 0395540

FUEL Коллектор в сборе. (FUEL MANIFOLD ASSY.)

нет в наличии, поставок нет
11 0320107

Струбцина Хомут (CLAMP STRAP)

нет в наличии, поставок нет
11 5035626

   (последний код) BAND,REM CON

нет в наличии, поставок нет
12 0332851

PULSE Шланг (PULSE HOSE)

нет в наличии, поставок нет
12 0331138

   (последний код) HOSE

нет в наличии, поставок нет
13 0329661

Держатель / Заглушка (HOLDER/PLUG)

нет в наличии, поставок нет
14 0

Шланг, Фильтр to Топливный насос, 10 3 / 4 дюйм (273 мм) сокращёная длина from 125115 -- 5 / 16 дюйм I.D., 25 фут (7, 6m) Roll (HOSE, Filter to fuel pump, 10 3/4 in. (273mm). Cut to Length from 125115 -- 5/16 in. I.D., 25 ft. (7,6m) Roll)

нет в наличии, поставок нет
15 0328731

Винт, Топливный коннектор (SCREW, Fuel connector)

нет в наличии, поставок нет
15 0329265

   (последний код) SCREW

нет в наличии, поставок нет
16 0339277

Струбцина, 500 (CLAMP, .500)

нет в наличии, поставок нет
17 0339278

Струбцина, 562 (CLAMP, .562)

нет в наличии, поставок нет
18 0331683

Шланг, Коннектор to Фильтр (HOSE, Connector to filter)

нет в наличии, поставок нет
18 0331769

   (последний код) HOSE

нет в наличии, поставок нет
19 0

Топливный шланг Коллектор to нижний carb., 5 дюйм (125 мм) сокращёная длина from 327228 -- 5 / 32 дюйм I.D., 25 фут (7, 6m) Roll (HOSE, Fuel manifold to lower carb., 5 in. (125mm). Cut to Length from 327228 -- 5/32 in. I.D., 25 ft. (7,6m) Roll)

нет в наличии, поставок нет
20 0

Шланг, Sight Трубка to Помпа, 1 1 / 2 дюйм (38 мм) сокращёная длина from 333485 -- 1 / 4 дюйм I.D., 25 фут (7, 6m) Roll (HOSE, Sight tube to pump, 1 1/2 in. (38mm). Cut to Length from 333485 -- 1/4 in. I.D., 25 ft. (7,6m) Roll)

нет в наличии, поставок нет
21 0

Масляный шланг conn. to sight Трубка, 3 дюйм (76 мм) сокращёная длина from 333485 -- 1 / 4 дюйм I.D., 25 фут (7, 6m) Roll (HOSE, Oil conn. to sight tube, 3 in. (76mm). Cut to Length from 333485 -- 1/4 in. I.D., 25 ft. (7,6m) Roll)

нет в наличии, поставок нет
22 0331533

Сальник, Fuel conn. to Нижняя часть корпуса (SEAL, Fuel conn. to lower cover)

нет в наличии, поставок нет
23 0315391

Заглушка, Oil Ниппель (PLUG, Oil nipple)

нет в наличии, поставок нет
24 0332845

Шланг, Помпа to Коллектор (HOSE, Pump to manifold)

нет в наличии, поставок нет
24 0319739

   (последний код) HOSE

нет в наличии, поставок нет
25 0435559

Топливный насос в сборе.. See Аксессуары Parts Catalog для Ремонтный комплект Part Numbers (FUEL PUMP ASSY.. See Accessories Parts Catalog for Repair Kit Part Numbers)

нет в наличии, поставок нет
25 5007421

   (последний код) KIT AY,F PUMP&LMTR

нет в наличии, поставок нет
26 0512749

Коннектор (CONNECTOR)

нет в наличии, поставок нет
26 3852241

   (последний код) CONN,4-SKT-P

нет в наличии, поставок нет
27 0581656

SOCKET (SOCKET)

нет в наличии, поставок нет
27 3852257

   (последний код) TERMINAL AY,SCKT

нет в наличии, поставок нет
28 0435009

PULSE LIMITER (PULSE LIMITER)

нет в наличии, поставок нет
28 3852225

   (последний код) LIMITER-AY,P

нет в наличии, поставок нет
29 0343852

FITTING, Fuel вход (FITTING, Fuel inlet)

нет в наличии, поставок нет
30 0340186

FITTING, Pulse (FITTING, Pulse)

нет в наличии, поставок нет
31 0340201

Фиксатор, Pulse fitting (RETAINER, Pulse fitting)

нет в наличии, поставок нет
32 0125203

Уплотнительное кольцо, Pulse fitting (O-RING, Pulse fitting)

нет в наличии, поставок нет
33 0124549

Винт, Фиксатор (SCREW, Retainer)

нет в наличии, поставок нет
34 0124943

Обратный клапан, Fuel вход (CHECK VALVE, Fuel inlet)

нет в наличии, поставок нет
35 0343172

Фиксатор, Fuel fitting (RETAINER, Fuel fitting)

нет в наличии, поставок нет
36 0125212

Винт, Pulse fitting Фиксатор (SCREW, Pulse fitting retainer)

нет в наличии, поставок нет
37 0335230

Уплотнительное кольцо, Fuel выход (O-RING, Fuel outlet)

нет в наличии, поставок нет
38 0124378

Уплотнительное кольцо, Fuel вход (O-RING, Fuel inlet)

нет в наличии, поставок нет
38 3852011

   (последний код) O-RING

нет в наличии, поставок нет
39 0343162

FITTING, Fuel выход (FITTING, Fuel outlet)

нет в наличии, поставок нет
39 0345237

   (последний код) ELBOW

нет в наличии, поставок нет
evinrude

Время выполнения запроса 2.8034307956696 сек.


 
 

данный сайт носит информационный характер и не является публичной офертой

склад запчастей для водомоторной техники