вконтакте

Контактный телефон: +7 (981) 121-46-93, +7 (800) 200-90-76 , Email: parts-katalog@yandex.ru, где купить

 
 

  Логин:

Пароль:

Регистрация

www.partskatalog.ru Все каталоги Запчасти Mercury Запчасти Suzuki Запчасти Tohatsu Запчасти Honda Контакты



УВАЖАЕМЫЕ КЛИЕНТЫ!
C 19 ДЕКАБРЯ 2025 ПО 02 МАРТА 2026 ГОДА ОТДЕЛ ЗАПЧАСТЕЙ И СЕРВИС РАБОТАТЬ НЕ БУДУТ
ПРОДАЖА ЛОДОЧНЫХ МОТОРОВ В ШТАТНОМ РЕЖИМЕ
ОБ ИЗМЕНЕНИЯХ В ГРАФИКЕ РАБОТЫ ЧИТАЙТЕ НА САЙТА




Все разделы каталога запчастей на этот двигатель

назад Раздел:   вперёд

вернуться к списку узлов и деталей

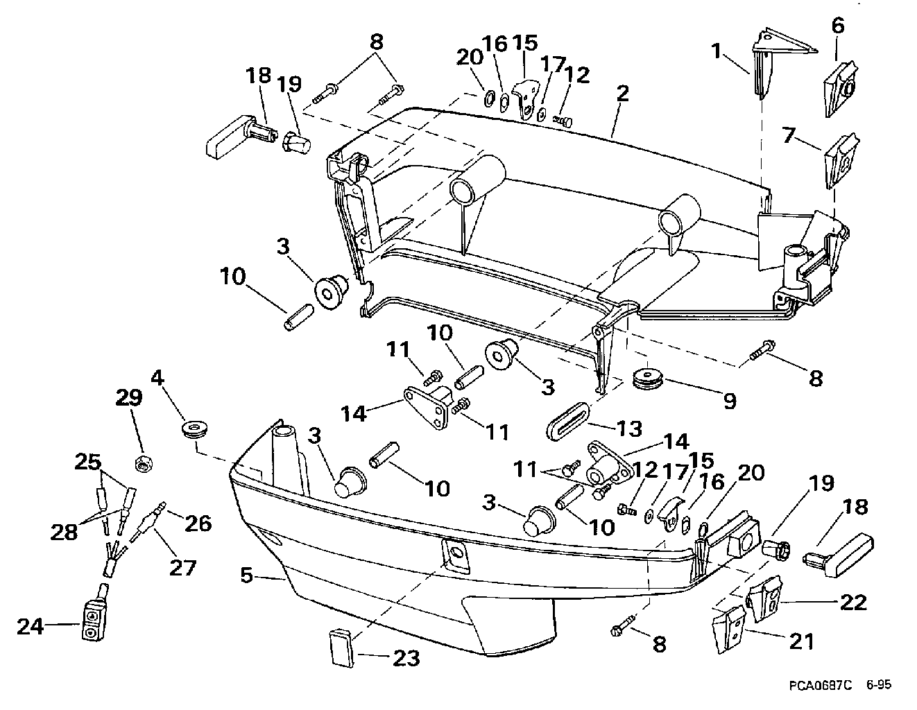
ДЕТАЛИРОВКА ДЛЯ МОДЕЛИ: EVINRUDE HE40REUC 1997

НИЖНЯЯ КРЫШКА ДВИГАТЕЛЯ | LOWER ENGINE COVER;


 EVINRUDE HE40REUC 1997  - wer Engine Cover - wer Крышка двигателя (капот)

Номер на
рисунке
АртикулНаименованиеКол-во
на складе
Цена
1 0333759

Кронштейн, Fuel conn.. 40TL, 50TL, 50TS 40TE Only 40E, 50ES 40TTL Only (BRACKET, Fuel conn.. 40TL, 50TL, 50TS 40TE Only 40E, 50ES 40TTL Only)

нет в наличии, поставок нет
1 0344240

Кронштейн, Fuel conn.. 40R, 50R (BRACKET, Fuel conn.. 40R, 50R)

нет в наличии, поставок нет
1 0333760

   (последний код) BRACKET

нет в наличии, поставок нет
2 0344373

Крышка двигателя (капот), нижний , port (ENGINE COVER, Lower, port)

нет в наличии, поставок нет
2 5004984

   (последний код) LMC AY, PORT/WHITE

нет в наличии, поставок нет
3 0332413

Крепление (MOUNT)

нет в наличии, поставок нет
4 0320521

Пыльник, Overboard Индикатор (GROMMET, Overboard indicator)

нет в наличии, поставок нет
5 0344374

Крышка двигателя (капот), нижний , stbd. (ENGINE COVER, Lower, stbd.)

нет в наличии, поставок нет
5 5004985

   (последний код) LMC AY, STBD/WHITE

нет в наличии, поставок нет
6 0333761

Кронштейн, Топливная груша.. 40R, 50R (BRACKET, Primer pump assy.. 40R, 50R)

нет в наличии, поставок нет
7 0340213

Пыльник, Inst. & Кабель аккумулятора. 40TL, 50TL, 50TS 40TTL Only (GROMMET, Inst. & battery cable. 40TL, 50TL, 50TS 40TTL Only)

нет в наличии, поставок нет
7 0334462

   (последний код) GROMMET

нет в наличии, поставок нет
7 0340214

Пыльник. 40TE Only 40E, 50ES (GROMMET. 40TE Only 40E, 50ES)

нет в наличии, поставок нет
8 0332415

Винт (SCREW)

нет в наличии, поставок нет
9 0321452

Пыльник, Переключающая тяга (GROMMET, Shift rod)

нет в наличии, поставок нет
9 0318249

   (последний код) GROMMET

нет в наличии, поставок нет
10 0332406

Штифт, Roll (PIN, Roll)

нет в наличии, поставок нет
11 0551793

Винт, Sвышеport, port & stbd. (SCREW, Support, port & stbd.)

нет в наличии, поставок нет
12 0912127

Винт, Latch to handle (SCREW, Latch to handle)

нет в наличии, поставок нет
13 0344332

Сальник, Рулевая система Рычаг (SEAL, Steering arm)

нет в наличии, поставок нет
13 0332441

   (последний код) SEAL

нет в наличии, поставок нет
14 0333772

Кронштейн, Крепление (BRACKET, Mount)

нет в наличии, поставок нет
15 0330253

LATCH (LATCH)

нет в наличии, поставок нет
15 0323235

   (последний код) HOOK-MTR-CVR

нет в наличии, поставок нет
16 0553766

Шайба, Latch handle (WASHER, Latch handle)

нет в наличии, поставок нет
16 0123886

   (последний код) SPRING-WASHE

нет в наличии, поставок нет
17 0328703

Шайба (WASHER)

нет в наличии, поставок нет
17 3852184

   (последний код) WASHER

нет в наличии, поставок нет
18 0396611

HANDLE в сборе., Latch (HANDLE ASSY., Latch)

нет в наличии, поставок нет
18 0432321

   (последний код) HDL&SFT-AY

нет в наличии, поставок нет
19 0334851

Втулка, Latch handle (BUSHING, Latch handle)

нет в наличии, поставок нет
20 0321863

Шайба, Latch handle Вал (WASHER, Latch handle shaft)

нет в наличии, поставок нет
21 0334164

Пыльник тросика дросселя. 40TL, 50TL, 50TS 40E, 50ES (GROMMET, Throttle cable. 40TL, 50TL, 50TS 40E, 50ES)

нет в наличии, поставок нет
22 0332478

Пыльник тросика управленияs. 40TE Only 40R, 50R 40TTL Only (GROMMET, Control cables. 40TE Only 40R, 50R 40TTL Only)

нет в наличии, поставок нет
23 0335694

Заглушка, Tilt & Переключатель трима. 40TE Only 40E, 50ES 40R, 50R (PLUG, Tilt & trim switch. 40TE Only 40E, 50ES 40R, 50R)

нет в наличии, поставок нет
23 0334833

   (последний код) PLUG

нет в наличии, поставок нет
24 0585146

TRIM / TILT Переключатель в сборе. (TRIM/TILT SWITCH ASSY.)

нет в наличии, поставок нет
24 0584841

   (последний код) SWITCH AY,T&T

нет в наличии, поставок нет
25 0512876

Клемма, Socket (TERMINAL, Socket)

нет в наличии, поставок нет
25 3852244

   (последний код) TERMINAL,SOC

нет в наличии, поставок нет
26 0512947

Клемма, Bullet (TERMINAL, Bullet)

нет в наличии, поставок нет
26 0910462

   (последний код) TERM.-60766-

нет в наличии, поставок нет
27 0513185

Гильза, Bullet Клемма (SLEEVE, Bullet terminal)

нет в наличии, поставок нет
27 0512948

   (последний код) SLEEVE

нет в наличии, поставок нет
28 0513186

Гильза, Socket (SLEEVE, Socket)

нет в наличии, поставок нет
28 3852248

   (последний код) SLEEVE,SKT-B

нет в наличии, поставок нет
29 0334656

Гайка, Tilt & Переключатель трима (NUT, Tilt & trim switch)

нет в наличии, поставок нет
evinrude

Время выполнения запроса 0.7149510383606 сек.


 
 

данный сайт носит информационный характер и не является публичной офертой

склад запчастей для водомоторной техники