вконтакте

Контактный телефон: +7 (981) 121-46-93, +7 (800) 200-90-76 , Email: parts-katalog@yandex.ru, где купить

 
 

  Логин:

Пароль:

Регистрация

www.partskatalog.ru Все каталоги Запчасти Mercury Запчасти Suzuki Запчасти Tohatsu Запчасти Honda Контакты


Все разделы каталога запчастей на этот двигатель

назад Раздел:   вперёд

вернуться к списку узлов и деталей

ДЕТАЛИРОВКА ДЛЯ МОДЕЛИ: EVINRUDE E30TELEUD 1997

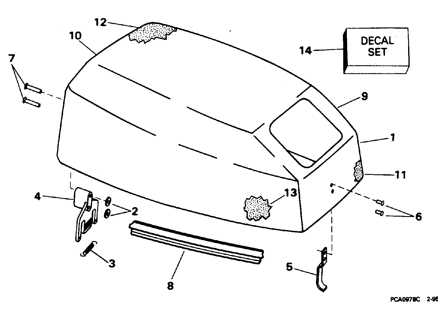
КРЫШКА ДВИГАТЕЛЯ (КАПОТ) - JOHNSON | ENGINE COVER - JOHNSON;


Лодочный мотор EVINRUDE E30TELEUD 1997  - Johnson - Johnson

Номер на
рисунке
АртикулНаименованиеКол-во
на складе
Цена
1 0438333

Крышка двигателя (капот) в сборе.. 25TE, 25TEL (ENGINE COVER ASSY.. 25TE, 25TEL)

нет в наличии, поставок нет
1 0438334

Крышка двигателя (капот) в сборе.. 30TE, 30TEL (ENGINE COVER ASSY.. 30TE, 30TEL)

нет в наличии, поставок нет
2 0322882

Рукоятка наклона (TILT HANDLE)

нет в наличии, поставок нет
3 0330823

Винт, Рукоятка наклона (SCREW, Tilt handle)

нет в наличии, поставок нет
3 0325838

   (последний код) SCREW

нет в наличии, поставок нет
4 0207482

Крючок капота двигателя, front (HOOK, Engine cover, front)

нет в наличии, поставок нет
4 0206656

   (последний код) HOOK

нет в наличии, поставок нет
5 0329635

Крючок капота двигателя, rear (HOOK, Engine cover, rear)

нет в наличии, поставок нет
5 0316171

   (последний код) ANCHOR BLOCK

нет в наличии, поставок нет
6 0337610

Пластина, Рама, front, 25. 25TE, 25TEL (PLATE, Frame, front, 25. 25TE, 25TEL)

нет в наличии, поставок нет
6 0337614

Пластина, Рама, front, 30. 30TE, 30TEL (PLATE, Frame, front, 30. 30TE, 30TEL)

нет в наличии, поставок нет
7 0554355

Заклёпка (RIVET)

нет в наличии, поставок нет
7 0544355

   (последний код) RIVET

нет в наличии, поставок нет
8 0207863

Рама, Front (FRAME, Front)

нет в наличии, поставок нет
8 0206660

   (последний код) APPLIQUE

нет в наличии, поставок нет
9 0316225

Резинка капота двигателя (SEAL, Engine cover)

нет в наличии, поставок нет
9 0326487

   (последний код) SEAL

нет в наличии, поставок нет
10 0341523

SOUND BLANKET, Top (SOUND BLANKET, Top)

нет в наличии, поставок нет
10 0211273

   (последний код) SOUND-BLANKE

нет в наличии, поставок нет
10 0341525

SOUND BLANKET, Port (SOUND BLANKET, Port)

нет в наличии, поставок нет
10 0211275

   (последний код) SOUND-BLANKE

нет в наличии, поставок нет
10 0341526

SOUND BLANKET, Front (SOUND BLANKET, Front)

нет в наличии, поставок нет
10 0211276

   (последний код) SOUND-BLANKE

нет в наличии, поставок нет
10 0341524

SOUND BLANKET, Stbd. (SOUND BLANKET, Stbd.)

нет в наличии, поставок нет
10 0211274

   (последний код) SOUND-BLANKE

нет в наличии, поставок нет
11 0317223

Гайка, Push-on (NUT, Push-on)

нет в наличии, поставок нет
12 0338054

Рама, Rear (FRAME, Rear)

нет в наличии, поставок нет
13 0337611

Пластина, Рама, rear, 25. 25TE, 25TEL (PLATE, Frame, rear, 25. 25TE, 25TEL)

нет в наличии, поставок нет
13 0337615

Пластина, Рама, rear, 30. 30TE, 30TEL (PLATE, Frame, rear, 30. 30TE, 30TEL)

нет в наличии, поставок нет
14 0334528

Винт, Рама Креплениеing, rear (SCREW, Frame mounting, rear)

нет в наличии, поставок нет
16 0438437

Комплект наклеек (DECAL SET)

нет в наличии, поставок нет
evinrude

Время выполнения запроса 0.86229395866394 сек.


 
 

данный сайт носит информационный характер и не является публичной офертой

склад запчастей для водомоторной техники