вконтакте

Контактный телефон: +7 (981) 121-46-93, +7 (800) 200-90-76 , Email: parts-katalog@yandex.ru, где купить

 
 

  Логин:

Пароль:

Регистрация

www.partskatalog.ru Все каталоги Запчасти Mercury Запчасти Suzuki Запчасти Tohatsu Запчасти Honda Контакты



УВАЖАЕМЫЕ КЛИЕНТЫ!
C 19 ДЕКАБРЯ 2025 ПО 02 МАРТА 2026 ГОДА ОТДЕЛ ЗАПЧАСТЕЙ И СЕРВИС РАБОТАТЬ НЕ БУДУТ
ПРОДАЖА ЛОДОЧНЫХ МОТОРОВ В ШТАТНОМ РЕЖИМЕ
ОБ ИЗМЕНЕНИЯХ В ГРАФИКЕ РАБОТЫ ЧИТАЙТЕ НА САЙТА




Все разделы каталога запчастей на этот двигатель

назад Раздел:   вперёд

вернуться к списку узлов и деталей

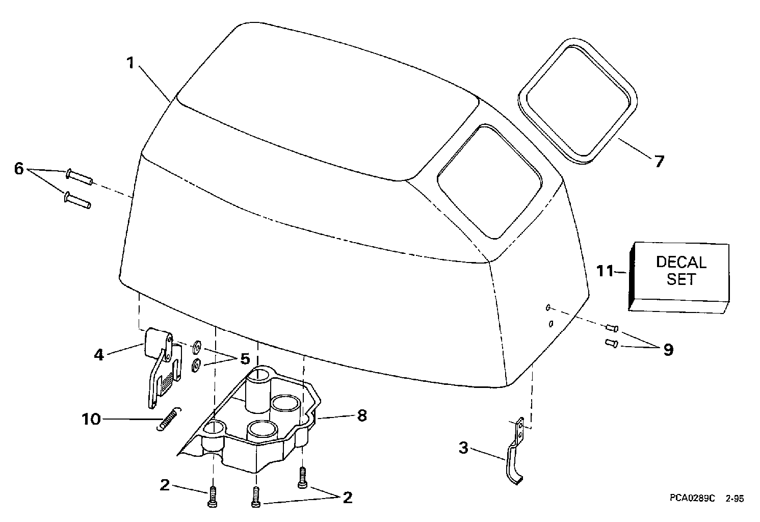
ДЕТАЛИРОВКА ДЛЯ МОДЕЛИ: EVINRUDE BE8RCLB 1997

КРЫШКА ДВИГАТЕЛЯ (КАПОТ) | ENGINE COVER;


 Evinrude BE8RCLB 1997  - gine Крышка - gine Cover

Номер на
рисунке
АртикулНаименованиеКол-во
на складе
Цена
1 0284794

Крышка двигателя (капот), Ev. (ENGINE COVER, Ev.)

нет в наличии, поставок нет
1 0285304

   (последний код) COVER AY,MOTOR-

нет в наличии, поставок нет
1 0438913

Крышка двигателя (капот), Jo. (ENGINE COVER, Jo.)

нет в наличии, поставок нет
1 0438308

   (последний код) MTR CVR 8HP COMM S

нет в наличии, поставок нет
2 0330838

Винт, Baffle (SCREW, Baffle)

нет в наличии, поставок нет
2 0329268

   (последний код) SCREW

нет в наличии, поставок нет
3 0335433

Крючок спереди (HOOK, Front)

нет в наличии, поставок нет
4 0434168

Крючок Ремонтный комплект (HOOK REPAIR KIT)

нет в наличии, поставок нет
5 0303715

Шайба, Заклёпка (WASHER, Rivet)

нет в наличии, поставок нет
6 0339069

Заклёпка (RIVET)

нет в наличии, поставок нет
6 0336253

   (последний код) RIVET

нет в наличии, поставок нет
7 0336095

Сальник, Корпус стартера (SEAL, Starter housing)

нет в наличии, поставок нет
8 0336173

BAFFLE, Крышка (BAFFLE, Cover)

нет в наличии, поставок нет
9 0339068

Заклёпка, Front Крючок (RIVET, Front hook)

нет в наличии, поставок нет
10 0336457

Пружина, Rear Крючок (SPRING, Rear hook)

нет в наличии, поставок нет
11 0284816

Комплект наклеек, Ev. (DECAL SET, Ev.)

нет в наличии, поставок нет
11 0438917

Комплект наклеек, Jo. (DECAL SET, Jo.)

нет в наличии, поставок нет
11 5000310

   (последний код) DECAL SET 8HP JO

нет в наличии, поставок нет
evinrude

Время выполнения запроса 1.0605638027191 сек.


 
 

данный сайт носит информационный характер и не является публичной офертой

склад запчастей для водомоторной техники