вконтакте

Контактный телефон: +7 (981) 121-46-93, +7 (800) 200-90-76 , Email: parts-katalog@yandex.ru, где купить

 
 

  Логин:

Пароль:

Регистрация

www.partskatalog.ru Все каталоги Запчасти Mercury Запчасти Suzuki Запчасти Tohatsu Запчасти Honda Контакты



УВАЖАЕМЫЕ КЛИЕНТЫ!
C 31 ОКТЯБРЯ 2025 ПО 10 НОЯБРЯ 2025 ГОДА РАБОТАТЬ НЕ БУДЕМ




Все разделы каталога запчастей на этот двигатель

назад Раздел:   вперёд

вернуться к списку узлов и деталей

ДЕТАЛИРОВКА ДЛЯ МОДЕЛИ: EVINRUDE BE5DRLEUC 1997

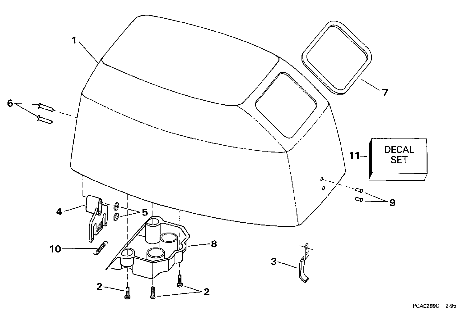
КРЫШКА ДВИГАТЕЛЯ (КАПОТ) | ENGINE COVER;


Подвесной мотор EVINRUDE BE5DRLEUC 1997  - gine Cover

Номер на
рисунке
АртикулНаименованиеКол-во
на складе
Цена
1 0284694

Крышка двигателя (капот), Ev., 5DR (ENGINE COVER, Ev., 5DR)

нет в наличии, поставок нет
1 0285304

   (последний код) COVER AY,MOTOR-

нет в наличии, поставок нет
1 0284793

Крышка двигателя (капот), Ev., all 6 hp (ENGINE COVER, Ev., all 6 hp)

нет в наличии, поставок нет
1 0285304

   (последний код) COVER AY,MOTOR-

нет в наличии, поставок нет
1 0284794

Крышка двигателя (капот), Ev., all 8 hp (ENGINE COVER, Ev., all 8 hp)

нет в наличии, поставок нет
1 0285304

   (последний код) COVER AY,MOTOR-

нет в наличии, поставок нет
1 0438908

Крышка двигателя (капот), Jo., 5DR (ENGINE COVER, Jo., 5DR)

нет в наличии, поставок нет
1 0438307

   (последний код) COVER AY,MOTOR-UPR

нет в наличии, поставок нет
1 0438909

Крышка двигателя (капот), Jo., 6DR, 6R (ENGINE COVER, Jo., 6DR, 6R)

нет в наличии, поставок нет
1 0438303

   (последний код) MTR COVER 6HP JO

нет в наличии, поставок нет
1 0438911

Крышка двигателя (капот), Jo., 8R (ENGINE COVER, Jo., 8R)

нет в наличии, поставок нет
1 0438305

   (последний код) MOTOR CVR 8HP WH

нет в наличии, поставок нет
1 0438912

Крышка двигателя (капот), Jo., 8 Sail (ENGINE COVER, Jo., 8 Sail)

нет в наличии, поставок нет
1 0438306

   (последний код) MTR COVER 8HPWSAIL

нет в наличии, поставок нет
2 0330838

Винт, Baffle (SCREW, Baffle)

нет в наличии, поставок нет
2 0329268

   (последний код) SCREW

нет в наличии, поставок нет
3 0335433

Крючок спереди (HOOK, Front)

нет в наличии, поставок нет
4 0434168

Крючок Ремонтный комплект, Rear (HOOK REPAIR KIT, Rear)

нет в наличии, поставок нет
5 0303715

Шайба, Заклёпка (WASHER, Rivet)

нет в наличии, поставок нет
6 0339069

Заклёпка, Rear Крючок (RIVET, Rear hook)

нет в наличии, поставок нет
6 0336253

   (последний код) RIVET

нет в наличии, поставок нет
7 0336095

Сальник, Корпус стартера (SEAL, Starter housing)

нет в наличии, поставок нет
8 0336173

BAFFLE, Крышка (BAFFLE, Cover)

нет в наличии, поставок нет
9 0339068

Заклёпка, Front Крючок (RIVET, Front hook)

нет в наличии, поставок нет
10 0336457

Пружина, Rear Крючок (SPRING, Rear hook)

нет в наличии, поставок нет
11 0284814

Комплект наклеек, Ev., 5 Models (DECAL SET, Ev., 5 Models)

нет в наличии, поставок нет
11 0284815

Комплект наклеек, Ev., 6 Models (DECAL SET, Ev., 6 Models)

нет в наличии, поставок нет
11 0284816

Комплект наклеек, Ev., 8 Models (DECAL SET, Ev., 8 Models)

нет в наличии, поставок нет
11 0284816

Комплект наклеек, Ev., 8 Sail (DECAL SET, Ev., 8 Sail)

нет в наличии, поставок нет
11 0438914

Комплект наклеек, Jo., 5 Models (DECAL SET, Jo., 5 Models)

нет в наличии, поставок нет
11 0438429

   (последний код) DECAL 5HP WHITE

нет в наличии, поставок нет
11 0438915

Комплект наклеек, Jo., 6 Models (DECAL SET, Jo., 6 Models)

нет в наличии, поставок нет
11 0438430

   (последний код) DECAL SET 6HP W

нет в наличии, поставок нет
11 0438916

Комплект наклеек, Jo., 8 Models (DECAL SET, Jo., 8 Models)

нет в наличии, поставок нет
11 0438431

   (последний код) DECAL SET 8HP SAIL

нет в наличии, поставок нет
evinrude

Время выполнения запроса 2.051332950592 сек.


 
 

данный сайт носит информационный характер и не является публичной офертой

склад запчастей для водомоторной техники