вконтакте

Контактный телефон: +7 (981) 121-46-93, +7 (800) 200-90-76 , Email: parts-katalog@yandex.ru, где купить

 
 

  Логин:

Пароль:

Регистрация

www.partskatalog.ru Все каталоги Запчасти Mercury Запчасти Suzuki Запчасти Tohatsu Запчасти Honda Контакты


Все разделы каталога запчастей на этот двигатель

назад Раздел:   вперёд

вернуться к списку узлов и деталей

ДЕТАЛИРОВКА ДЛЯ МОДЕЛИ: EVINRUDE HE90MLEDA 1996

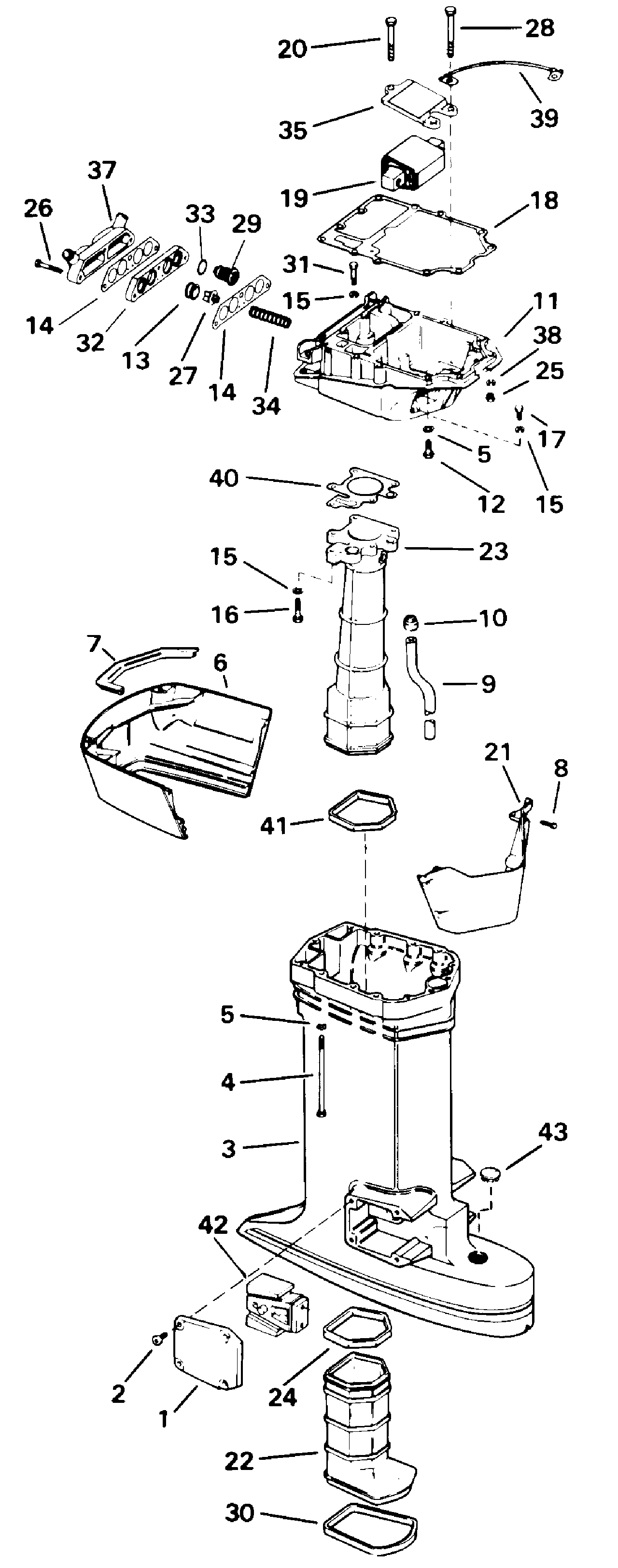
УДЛИНИТЕЛЬ КОРПУСА | EXHAUST HOUSING;


Лодочный подвесной мотор Эвинруд HE90MLEDA 1996  - haust Housing / haust Корпус

Номер на
рисунке
АртикулНаименованиеКол-во
на складе
Цена
1 0338741

Крышка, Монтажный кронштейн (левый)ower (COVER, Mount bracket lower)

нет в наличии, поставок нет
1 0337773

   (последний код) COVER,LOWER

нет в наличии, поставок нет
2 0908668

Винт, Крышка (SCREW, Cover)

нет в наличии, поставок нет
2 3852454

   (последний код) SCREW

нет в наличии, поставок нет
3 0341451

Удлинитель корпуса, Outer. 20 дюйм (508 мм) transom models only (EXHAUST HOUSING, Outer. 20 in. (508mm) transom models only)

нет в наличии, поставок нет
3 0337826

   (последний код) EXHAUST-HOUSING

нет в наличии, поставок нет
3 0435318

Удлинитель корпуса, Outer. 25 дюйм (635 мм) transom models only (EXHAUST HOUSING, Outer. 25 in. (635mm) transom models only)

нет в наличии, поставок нет
3 0398475

   (последний код) EXHAUST-HSG

нет в наличии, поставок нет
3 0337549

Удлинитель корпуса, 20 дюйм, 115 Jet (EXHAUST HOUSING, 20 in., 115 Jet)

нет в наличии, поставок нет
3 0336674

   (последний код) HOUSING,EXHA

нет в наличии, поставок нет
4 0328698

Винт, Удлинитель корпуса (SCREW, Exhaust housing)

нет в наличии, поставок нет
5 0301250

Шайба, Удлинитель корпуса (WASHER, Exhaust housing)

нет в наличии, поставок нет
5 0911009

   (последний код) WASHER

нет в наличии, поставок нет
6 0390131

Крышка, Rear (COVER, Rear)

нет в наличии, поставок нет
6 0389274

   (последний код) COVER&INSERT AY

нет в наличии, поставок нет
7 0318258

Сальник, Крышка (SEAL, Cover)

нет в наличии, поставок нет
8 0328694

Винт, Крышкаs (SCREW, Covers)

нет в наличии, поставок нет
8 0911122

   (последний код) SCREW

нет в наличии, поставок нет
9 0323403

Водяная трубка. 20 дюйм (508 мм) transom models only (WATER TUBE. 20 in. (508mm) transom models only)

нет в наличии, поставок нет
9 0323404

Водяная трубка. 25 дюйм (635 мм) transom models only (WATER TUBE. 25 in. (635mm) transom models only)

нет в наличии, поставок нет
10 0305145

Пыльник водяной трубки (GROMMET, Water tube)

нет в наличии, поставок нет
11 0331039

ADAPTER, Удлинитель корпуса (ADAPTER, Exhaust housing)

нет в наличии, поставок нет
11 0331037

   (последний код) ADAPTOR

нет в наличии, поставок нет
12 0302860

Винт (SCREW)

нет в наличии, поставок нет
13 0321692

Пыльник (GROMMET)

нет в наличии, поставок нет
14 0332369

Прокладка (GASKET)

нет в наличии, поставок нет
14 0321897

   (последний код) GASKET

нет в наличии, поставок нет
15 0302290

Шайба с блокировкой (LOCK WASHER)

нет в наличии, поставок нет
15 0338307

   (последний код) WASHER,LOCK

нет в наличии, поставок нет
16 0306418

Винт, Inner to outer Корпус (SCREW, Inner to outer housing)

нет в наличии, поставок нет
17 0306409

Винт, Adapter to Корпус, outer (SCREW, Adapter to housing, outer)

нет в наличии, поставок нет
18 0342513

Прокладка, Adapter to powerhead (GASKET, Adapter to powerhead)

нет в наличии, поставок нет
18 0321727

   (последний код) GASKET

нет в наличии, поставок нет
19 0395755

Монтажная резинка в сборе., верхний (RUBBER MOUNT ASSY., Upper)

нет в наличии, поставок нет
20 0330930

Винт, верхний Крепление (SCREW, Upper mount)

нет в наличии, поставок нет
20 0335021

   (последний код) SCREW 3/8-16

нет в наличии, поставок нет
21 0323800

Выхлопная крышка Передний корпус (COVER, Exhaust housing, front)

нет в наличии, поставок нет
22 0327796

Удлинитель корпуса, Inner нижний 20 дюйм (508 мм) transom models only (EXHAUST HOUSING, Inner lower. 20 in. (508mm) transom models only)

нет в наличии, поставок нет
22 0320838

   (последний код) HH-EXH-HSG-I

нет в наличии, поставок нет
22 0327797

Удлинитель корпуса, Inner нижний 25 дюйм (635 мм) transom models only (EXHAUST HOUSING, Inner lower. 25 in. (635mm) transom models only)

нет в наличии, поставок нет
22 0320839

   (последний код) EXH-HSG-INR

нет в наличии, поставок нет
23 0329556

Удлинитель корпуса, Inner (EXHAUST HOUSING, Inner)

нет в наличии, поставок нет
24 0320936

Сальник, Удлинитель корпуса (SEAL, Exhaust housing)

нет в наличии, поставок нет
25 0306422

Гайка, Powerhead to adapter (NUT, Powerhead to adapter)

нет в наличии, поставок нет
26 0305652

Винт, Термостат Корпус (SCREW, Thermostat housing)

нет в наличии, поставок нет
26 0310743

   (последний код) SCREW

нет в наличии, поставок нет
27 0318395

Сброс клапана (VALVE, Relief)

нет в наличии, поставок нет
28 0330931

Винт, Крепление (SCREW, Mount)

нет в наличии, поставок нет
28 0121250

   (последний код) SCREW

нет в наличии, поставок нет
29 0434841

Термостат (THERMOSTAT)

нет в наличии, поставок нет
29 5005440

   (последний код) THERMOSTAT AY

нет в наличии, поставок нет
30 0320961

Сальник, Редуктор to Внутренности машинки газ-реверс (SEAL, Gearcase to inner housing)

нет в наличии, поставок нет
31 0303398

Винт (SCREW)

нет в наличии, поставок нет
31 0330119

   (последний код) SCREW

нет в наличии, поставок нет
32 0321693

Клапан Корпус (VALVE BODY)

нет в наличии, поставок нет
33 0321932

Прокладка, Термостат (GASKET, Thermostat)

нет в наличии, поставок нет
34 0317245

Пружина давления relief (SPRING, Pressure relief)

нет в наличии, поставок нет
35 0331022

Пластина верхней опоры (PLATE, Upper mount)

нет в наличии, поставок нет
37 0321690

Крышка термостата (COVER, Thermostat)

нет в наличии, поставок нет
38 0301250

Шайба с блокировкой (LOCK WASHER)

нет в наличии, поставок нет
38 0911009

   (последний код) WASHER

нет в наличии, поставок нет
39 0583967

LEAD в сборе., Заземление (LEAD ASSY., Ground)

нет в наличии, поставок нет
39 0583357

   (последний код) LEAD-AY

нет в наличии, поставок нет
40 0323459

Прокладка (GASKET)

нет в наличии, поставок нет
41 0320936

Сальник, Удлинитель корпуса (SEAL, Exhaust housing)

нет в наличии, поставок нет
42 0434631

Крепление в сборе., нижний (MOUNT ASSY., Lower)

нет в наличии, поставок нет
42 0391709

   (последний код) RUBBER MOUNT

нет в наличии, поставок нет
43 0337908

Заглушка, Переключающая тяга hole, 115 Jet models (PLUG, Shift rod hole, 115 Jet models)

нет в наличии, поставок нет
evinrude

Время выполнения запроса 1.4946980476379 сек.


 
 

данный сайт носит информационный характер и не является публичной офертой

склад запчастей для водомоторной техники