вконтакте

Контактный телефон: +7 (981) 121-46-93, +7 (800) 200-90-76 , Email: parts-katalog@yandex.ru, где купить

 
 

  Логин:

Пароль:

Регистрация

www.partskatalog.ru Все каталоги Запчасти Mercury Запчасти Suzuki Запчасти Tohatsu Запчасти Honda Контакты



УВАЖАЕМЫЕ КЛИЕНТЫ!
C 19 ДЕКАБРЯ 2025 ПО 02 МАРТА 2026 ГОДА ОТДЕЛ ЗАПЧАСТЕЙ И СЕРВИС РАБОТАТЬ НЕ БУДУТ
ПРОДАЖА ЛОДОЧНЫХ МОТОРОВ В ШТАТНОМ РЕЖИМЕ
ОБ ИЗМЕНЕНИЯХ В ГРАФИКЕ РАБОТЫ ЧИТАЙТЕ НА САЙТА




Все разделы каталога запчастей на этот двигатель

назад Раздел:   вперёд

вернуться к списку узлов и деталей

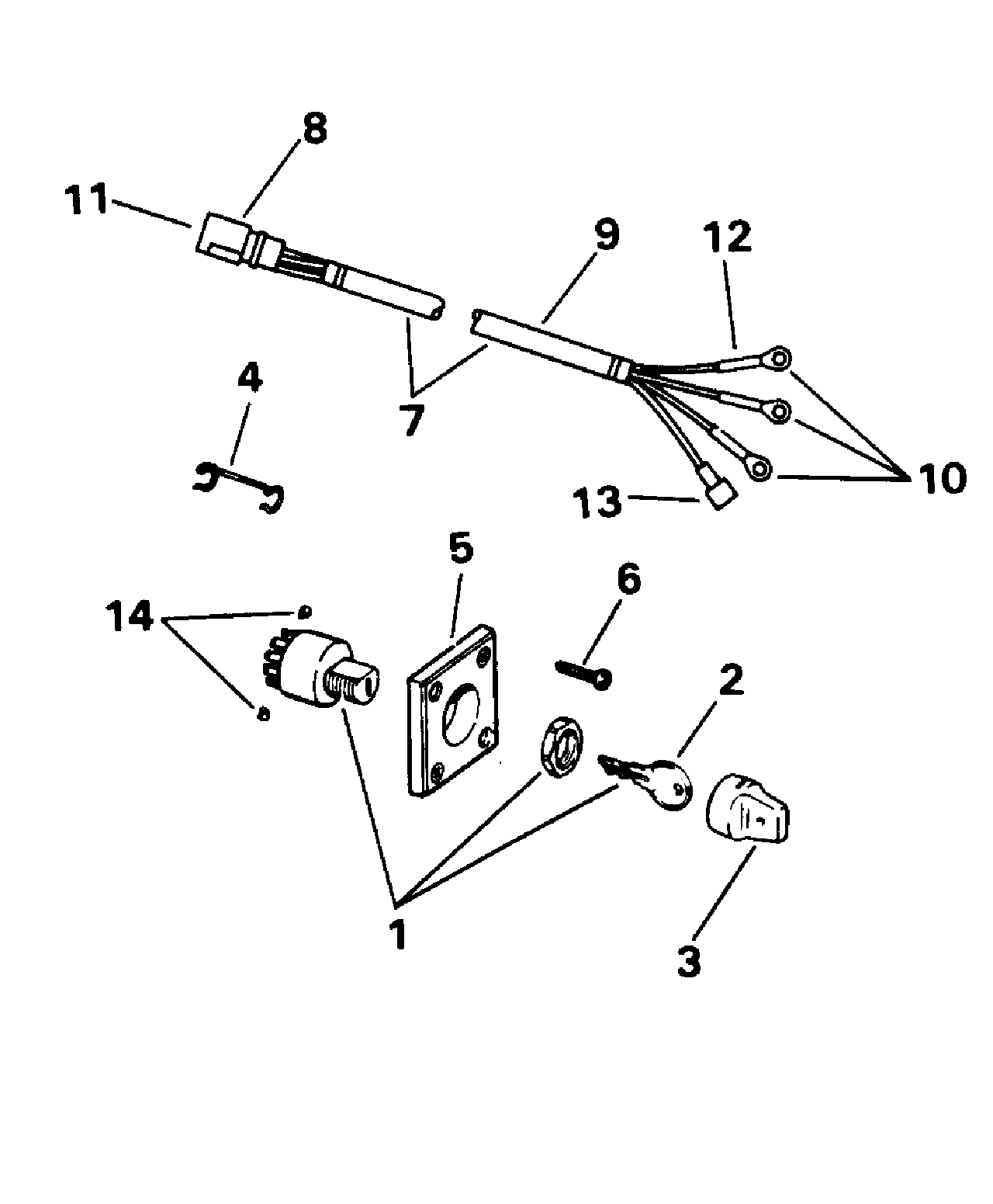
ДЕТАЛИРОВКА ДЛЯ МОДЕЛИ: EVINRUDE BE10FDLEDR 1996

IGNITION ПЕРЕКЛЮЧАТЕЛЬ & КАБЕЛИ - 9.9 | IGNITION SWITCH & CABLE - 9.9;


Подвесной двигатель Эвинруд BE10FDLEDR 1996  - 9.9 - 9.9

Номер на
рисунке
АртикулНаименованиеКол-во
на складе
Цена
1 0584600

Переключатель & Ключ в сборе. (SWITCH & KEY ASSY.)

нет в наличии, поставок нет
1 0175321

   (последний код) SWITCH&KEY AY

нет в наличии, поставок нет
2 0322693

Ключ BLANK. See Сервис Bulletin для Ключ OrdeКольцо Inдляmation (KEY BLANK. See Service Bulletin for Key Ordering Information)

нет в наличии, поставок нет
3 0332179

PUSH Ручка (PUSH KNOB)

нет в наличии, поставок нет
4 0512743

Фиксатор (RETAINER)

нет в наличии, поставок нет
4 3852238

   (последний код) RETAINER,CON

нет в наличии, поставок нет
5 0174653

BEZEL KIT (BEZEL KIT)

нет в наличии, поставок нет
6 0125308

Винт, Bezel (SCREW, Bezel)

нет в наличии, поставок нет
7 0584599

Кабели в сборе. (CABLE ASSY.)

нет в наличии, поставок нет
7 0175338

   (последний код) CABLE AY,SWITCH

нет в наличии, поставок нет
8 0512750

Коннектор (CONNECTOR)

нет в наличии, поставок нет
8 3852242

   (последний код) CONN,4-PIN-R

нет в наличии, поставок нет
9 0513964

Гильза (SLEEVE)

нет в наличии, поставок нет
10 0327166

Кольцо Клемма (RING TERMINAL)

нет в наличии, поставок нет
11 0511469

Клемма, Штифт (TERMINAL, Pin)

нет в наличии, поставок нет
11 3852229

   (последний код) TERMINAL,PIN

нет в наличии, поставок нет
12 0510781

Трубопровод (TUBING)

нет в наличии, поставок нет
13 0123975

Крышка (COVER)

нет в наличии, поставок нет
14 0306559

Винт, Ignition leads (SCREW, Ignition leads)

нет в наличии, поставок нет
evinrude

Время выполнения запроса 2.2332408428192 сек.


 
 

данный сайт носит информационный характер и не является публичной офертой

склад запчастей для водомоторной техники