вконтакте

Контактный телефон: +7 (981) 121-46-93, +7 (800) 200-90-76 , Email: parts-katalog@yandex.ru, где купить

 
 

  Логин:

Пароль:

Регистрация

www.partskatalog.ru Все каталоги Запчасти Mercury Запчасти Suzuki Запчасти Tohatsu Запчасти Honda Контакты



УВАЖАЕМЫЕ КЛИЕНТЫ!
C 19 ДЕКАБРЯ 2025 ПО 02 МАРТА 2026 ГОДА ОТДЕЛ ЗАПЧАСТЕЙ И СЕРВИС РАБОТАТЬ НЕ БУДУТ
ПРОДАЖА ЛОДОЧНЫХ МОТОРОВ В ШТАТНОМ РЕЖИМЕ
ОБ ИЗМЕНЕНИЯХ В ГРАФИКЕ РАБОТЫ ЧИТАЙТЕ НА САЙТА




Все разделы каталога запчастей на этот двигатель

назад Раздел:   вперёд

вернуться к списку узлов и деталей

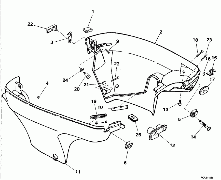
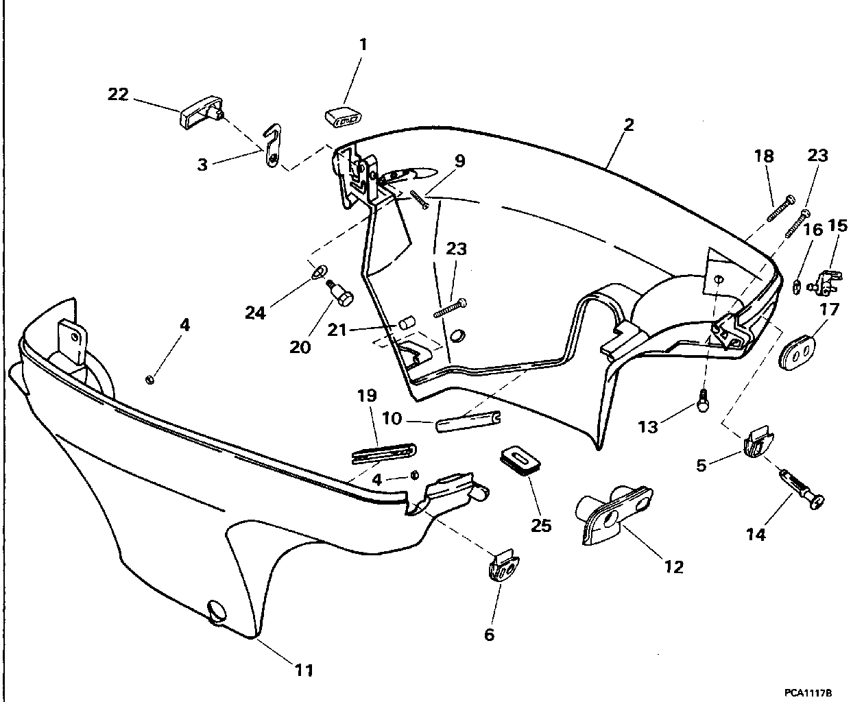
ДЕТАЛИРОВКА ДЛЯ МОДЕЛИ: EVINRUDE HE8FRLEDC 1996

НИЖНЯЯ КРЫШКА ДВИГАТЕЛЯ | LOWER ENGINE COVER;


 Эвинруд HE8FRLEDC 1996  - wer Engine Cover - wer Крышка двигателя (капот)

Номер на
рисунке
АртикулНаименованиеКол-во
на складе
Цена
1 0337413

Бампер, Крышка (BUMPER, Cover)

нет в наличии, поставок нет
2 0446389

Крышка двигателя (капот), нижний , port. Remote Models (ENGINE COVER, Lower, port. Remote Models)

нет в наличии, поставок нет
2 0446213

Крышка двигателя (капот), нижний , port. TE Models Шнур Models (ENGINE COVER, Lower, port. TE Models Rope Models)

нет в наличии, поставок нет
3 0337414

LATCH, Rear (LATCH, Rear)

нет в наличии, поставок нет
4 0115340

Гайка, Винт (NUT, Screw)

2 шт660 руб.
4 0446248

   (последний код) NUT,M5

нет в наличии, поставок нет
5 0446243

Пыльник ручки заслонки. TE Models Шнур Models (GROMMET, Choke knob. TE Models Rope Models)

нет в наличии, поставок нет
6 0446254

Пыльник, Кабель аккумулятора. Remote Models (GROMMET, Battery cable. Remote Models)

нет в наличии, поставок нет
6 0446255

   (последний код) GROMMET

нет в наличии, поставок нет
6 0446255

Пыльник, Кабель аккумулятораs. TE Models (GROMMET, Battery cables. TE Models)

нет в наличии, поставок нет
6 0446254

   (последний код) GROMMET

нет в наличии, поставок нет
6 0446253

Пыльник, Двигатель стартера Кабели. Шнур Models (GROMMET, Starter motor cable. Rope Models)

нет в наличии, поставок нет
9 0337358

Винт, Бампер (SCREW, Bumper)

нет в наличии, поставок нет
10 0446240

Сальник, Крышка, port (SEAL, Cover, port)

нет в наличии, поставок нет
11 0446214

Крышка двигателя (капот), нижний , stbd. (ENGINE COVER, Lower, stbd.)

нет в наличии, поставок нет
11 0446453

   (последний код) COVER,MTR-LWR/STBD

нет в наличии, поставок нет
12 0446242

Пыльник, Дроссель (GROMMET, Throttle)

нет в наличии, поставок нет
13 0336165

Винт, Топливный коннектор (SCREW, Fuel connector)

нет в наличии, поставок нет
13 5030329

   (последний код) BOLT,FUEL CONN PL

нет в наличии, поставок нет
14 0338965

CHOKE Рычаг. TE Models Шнур Models (CHOKE LEVER. TE Models Rope Models)

нет в наличии, поставок нет
14 0336147

   (последний код) KNOB,CHOKE

нет в наличии, поставок нет
15 0437407

Топливный коннектор в сборе. (FUEL CONNECTOR ASSY.)

нет в наличии, поставок нет
15 0438793

   (последний код) KIT AY,FUEL CONN

нет в наличии, поставок нет
16 0330996

Сальник, Топливный коннектор (SEAL, Fuel connector)

нет в наличии, поставок нет
17 0446252

Пыльник, Переключатель & Тросик дросселяs. Remote Models (GROMMET, Shift & throttle cables. Remote Models)

нет в наличии, поставок нет
18 0446246

Винт, Крышка (SCREW, Cover)

нет в наличии, поставок нет
19 0446241

Сальник, Крышка, stbd. (SEAL, Cover, stbd.)

нет в наличии, поставок нет
20 0337465

Винт, Handle to Крышка (SCREW, Handle to cover)

нет в наличии, поставок нет
21 0446286

ISOLATOR (ISOLATOR)

нет в наличии, поставок нет
22 0437002

HANDLE в сборе. (HANDLE ASSY.)

нет в наличии, поставок нет
23 0446245

Винт, Крышка (SCREW, Cover)

нет в наличии, поставок нет
24 0330234

Шайба, Винт, handle (WASHER, Screw, handle)

нет в наличии, поставок нет
25 0446322

Пыльник, Переключающая тяга (GROMMET, Shift rod)

нет в наличии, поставок нет
25 0446497

   (последний код) GROMMET

нет в наличии, поставок нет
evinrude

Время выполнения запроса 0.49471783638 сек.


 
 

данный сайт носит информационный характер и не является публичной офертой

склад запчастей для водомоторной техники