вконтакте

Контактный телефон: +7 (981) 121-46-93, +7 (800) 200-90-76 , Email: parts-katalog@yandex.ru, где купить

 
 

  Логин:

Пароль:

Регистрация

www.partskatalog.ru Все каталоги Запчасти Mercury Запчасти Suzuki Запчасти Tohatsu Запчасти Honda Контакты



УВАЖАЕМЫЕ КЛИЕНТЫ!
C 19 ДЕКАБРЯ 2025 ПО 02 МАРТА 2026 ГОДА ОТДЕЛ ЗАПЧАСТЕЙ И СЕРВИС РАБОТАТЬ НЕ БУДУТ
ПРОДАЖА ЛОДОЧНЫХ МОТОРОВ В ШТАТНОМ РЕЖИМЕ
ОБ ИЗМЕНЕНИЯХ В ГРАФИКЕ РАБОТЫ ЧИТАЙТЕ НА САЙТА




Все разделы каталога запчастей на этот двигатель

назад Раздел:   вперёд

вернуться к списку узлов и деталей

ДЕТАЛИРОВКА ДЛЯ МОДЕЛИ: EVINRUDE E3ROEDE 1996

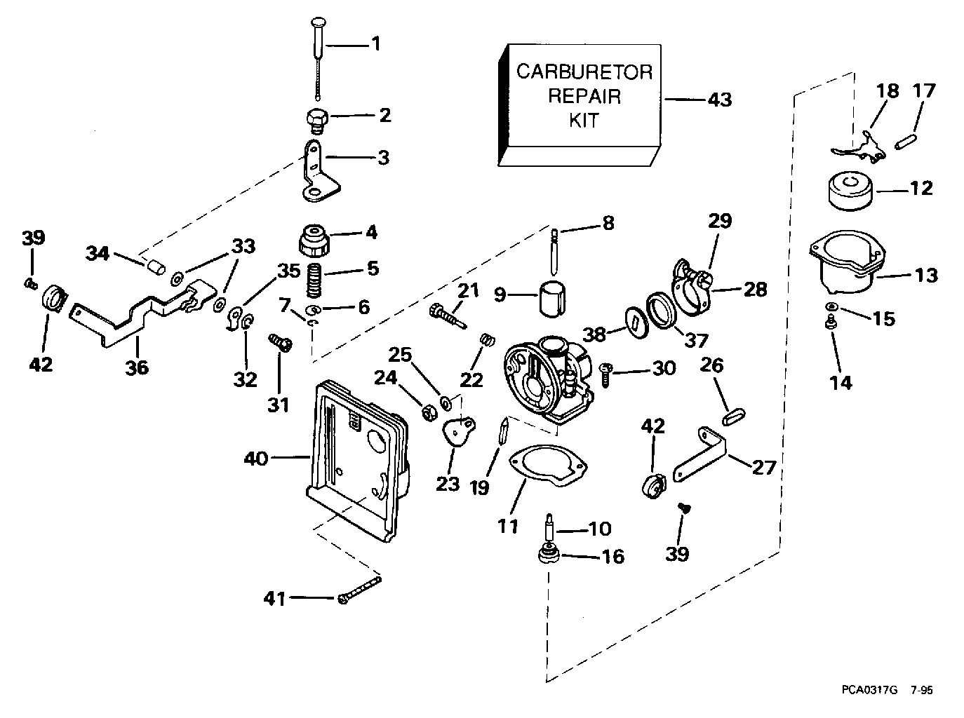
КАРБЮРАТОР | CARBURETOR;


Подвесной двигатель EVINRUDE E3ROEDE 1996  - rburetor / rburetor

Номер на
рисунке
АртикулНаименованиеКол-во
на складе
Цена
0114890 0114890

Карбюратор в сборе., 2.0, 2.3 models. Not Shown (CARBURETOR ASSY., 2.0, 2.3 models. Not Shown)

нет в наличии, поставок нет
0114890 0114806

   (последний код) CARBURETOR AY

нет в наличии, поставок нет
0114808 0114808

Карбюратор в сборе., 3.3 model. Not Shown (CARBURETOR ASSY., 3.3 model. Not Shown)

нет в наличии, поставок нет
0114808 5005713

   (последний код) CARBURETOR AY

нет в наличии, поставок нет
1 0115559

Тросик дросселя в сборе. (THROTTLE WIRE ASSY.)

нет в наличии, поставок нет
2 0115560

Винт дросселя Рычаг Держатель (SCREW, Throttle lever holder)

нет в наличии, поставок нет
3 0115561

Держатель рычага дросселя (HOLDER, Throttle lever)

нет в наличии, поставок нет
4 0115562

Колпачок, Карбюратор Корпус (CAP, Carburetor body)

нет в наличии, поставок нет
5 0115563

Пружина клапана дросселя (SPRING, Throttle valve)

нет в наличии, поставок нет
6 0115564

Пружина, Receiver (SPRING, Receiver)

нет в наличии, поставок нет
7 0115565

Зажим, Игла жиклёра (CLIP, Jet needle)

нет в наличии, поставок нет
8 0115603

Игла жиклёра (JET NEEDLE)

нет в наличии, поставок нет
9 0115567

Клапан дросселя (THROTTLE VALVE)

нет в наличии, поставок нет
10 0115608

Игла распылителя (NEEDLE JET)

нет в наличии, поставок нет
11 0115569

Прокладка поплавковой камеры (GASKET, Float chamber)

нет в наличии, поставок нет
12 0115570

Поплавок (FLOAT)

нет в наличии, поставок нет
13 0115571

Поплавковая камера (FLOAT CHAMBER)

нет в наличии, поставок нет
14 0115572

Дренажный винт (DRAIN SCREW)

нет в наличии, поставок нет
15 0115573

Прокладка, Дренажный винт (GASKET, Drain screw)

нет в наличии, поставок нет
16 0115602

Главный жиклёр (MAIN JET)

нет в наличии, поставок нет
17 0115575

Стопор поплавка hinge (PIN, Float hinge)

нет в наличии, поставок нет
18 0115576

Крепление поплавка (FLOAT HINGE)

нет в наличии, поставок нет
19 0114864

Игольчатый клапан (NEEDLE VALVE)

нет в наличии, поставок нет
19 5007028

   (последний код) NEEDLE,SEAT&HINGE

1 шт7670 руб.
21 0115579

Винт точной регулировки (SLOW STOP SCREW)

нет в наличии, поставок нет
22 0115580

Пружина, Винт точной регулировки (SPRING, Slow stop screw)

нет в наличии, поставок нет
23 0115581

Пластина воздушной заслонки (CHOKE PLATE)

нет в наличии, поставок нет
24 0115582

Гайка, Пластина воздушной заслонки (NUT, Choke plate)

нет в наличии, поставок нет
25 0115583

Шайба, Пластина воздушной заслонки (WASHER, Choke plate)

нет в наличии, поставок нет
26 0115584

SHUTTER Винт (SHUTTER SCREW)

нет в наличии, поставок нет
27 0115585

Рычаг задвижки (SHUTTER LEVER)

нет в наличии, поставок нет
28 0115586

Ремешок, Карбюратор Корпус (BAND, Carburetor body)

нет в наличии, поставок нет
29 0115587

Винт, Крепежный хомут корпуса карбюратора (SCREW, Carburetor body band)

нет в наличии, поставок нет
30 0115588

Винт, Поплавковая камера (SCREW, Float chamber)

нет в наличии, поставок нет
31 0115589

Винт дросселя Рычаг (SCREW, Throttle lever)

нет в наличии, поставок нет
32 0115590

Шайба, Рычаг дросселя (WASHER, Throttle lever)

нет в наличии, поставок нет
33 0115591

Прокладка рычага дросселя (GASKET Throttle lever)

нет в наличии, поставок нет
34 0115592

Воротник, Рычаг дросселя (COLLAR, Throttle lever)

нет в наличии, поставок нет
35 0115593

SвышеPORTER, Рычаг дросселя (SUPPORTER, Throttle lever)

нет в наличии, поставок нет
36 0115594

Рычаг дросселя (THROTTLE LEVER)

нет в наличии, поставок нет
37 0115595

Уплотнительное кольцо, Карбюратор Корпус (O-RING, Carburetor body)

нет в наличии, поставок нет
37 0115448

   (последний код) O RING, CARBURETOR

нет в наличии, поставок нет
38 0115600

RESTRICTION Пластина, 2.0, 2.3 models (RESTRICTION PLATE, 2.0, 2.3 models)

нет в наличии, поставок нет
39 0115210

Винт, Ручка, Карбюратор (SCREW, Knob, carburetor)

нет в наличии, поставок нет
40 0114877

AIR Глушитель & Наклейка в сборе.. Models with "E" or "A" Suffix (AIR SILENCER & DECAL ASSY.. Models with "E" or "A" Suffix)

нет в наличии, поставок нет
40 0115155

AIR Глушитель & Наклейка в сборе.. Models with "F" or "--2" Suffix (AIR SILENCER & DECAL ASSY.. Models with "F" or "--2" Suffix)

нет в наличии, поставок нет
41 0115211

Воздушный винт Глушитель & panel (SCREW, Air silencer & panel)

нет в наличии, поставок нет
42 0115209

Ручка, Карбюратор (KNOB, Carburetor)

нет в наличии, поставок нет
43 0114830

Ремкомплект карбюратора (CARBURETOR REPAIR KIT)

1 шт6770 руб.
43 5007029

   (последний код) KIT AY,CARB REPAIR

2 шт6770 руб.
evinrude

Время выполнения запроса 2.7840678691864 сек.


 
 

данный сайт носит информационный характер и не является публичной офертой

склад запчастей для водомоторной техники