вконтакте

Контактный телефон: +7 (981) 121-46-93, +7 (800) 200-90-76 , Email: parts-katalog@yandex.ru, где купить

 
 

  Логин:

Пароль:

Регистрация

www.partskatalog.ru Все каталоги Запчасти Mercury Запчасти Suzuki Запчасти Tohatsu Запчасти Honda Контакты


Все разделы каталога запчастей на этот двигатель

назад Раздел:   вперёд

вернуться к списку узлов и деталей

ДЕТАЛИРОВКА ДЛЯ МОДЕЛИ: EVINRUDE E250TXEOR 1995

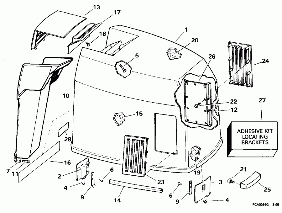
КРЫШКА ДВИГАТЕЛЯ (КАПОТ) - JOHNSON | ENGINE COVER - JOHNSON;


Двигатель EVINRUDE E250TXEOR 1995  - Johnson - Johnson

Номер на
рисунке
АртикулНаименованиеКол-во
на складе
Цена
1 0435968

Крышка двигателя (капот) AY., 250. 250TXE-250TZE 250CXE-250CZE Ocean Runner Styling белый (ENGINE COVER AY., 250. 250TXE-250TZE 250CXE-250CZE Ocean Runner Styling White)

нет в наличии, поставок нет
1 0436804

Крышка двигателя (капот) AY., 300. 300PXE стандарт Styling белый (ENGINE COVER AY., 300. 300PXE Standard Styling White)

нет в наличии, поставок нет
1 0439649

   (последний код) COVER AY,MOTOR-

нет в наличии, поставок нет
1 0437724

Крышка двигателя (капот) AY., 300. 300CXE стандарт Styling Smoke (ENGINE COVER AY., 300. 300CXE Standard Styling Smoke)

нет в наличии, поставок нет
1 0436593

Крышка двигателя (капот) AY., 300. 300PLE стандарт Styling Smoke (ENGINE COVER AY., 300. 300PLE Standard Styling Smoke)

нет в наличии, поставок нет
2 0336992

LOCATING Кронштейн, Rear (LOCATING BRACKET, Rear)

нет в наличии, поставок нет
3 0336990

LOCATING Кронштейн, Front (LOCATING BRACKET, Front)

нет в наличии, поставок нет
4 0324898

Бампер, Locating Кронштейн (BUMPER, Locating bracket)

нет в наличии, поставок нет
5 0323228

Винт, Рукоятка наклона, 7 / 8 дюйм long (SCREW, Tilt handle, 7/8 in. long)

нет в наличии, поставок нет
5 0323229

Винт, Рукоятка наклона, 1 / 2 дюйм long (SCREW, Tilt handle, 1/2 in. long)

нет в наличии, поставок нет
6 0323229

Винт, Крючок (SCREW, Hook)

нет в наличии, поставок нет
7 0328703

Шайба, Baffle (WASHER, Baffle)

нет в наличии, поставок нет
7 3852184

   (последний код) WASHER

нет в наличии, поставок нет
9 0397630

Крючок, Крышка (HOOK, Cover)

нет в наличии, поставок нет
10 0336365

BAFFLE, Air Система впуска (BAFFLE, Air intake)

нет в наличии, поставок нет
11 0323229

Винт, Baffle (SCREW, Baffle)

нет в наличии, поставок нет
12 0341495

SOUND BLANKET, Port, 250 (SOUND BLANKET, Port, 250)

нет в наличии, поставок нет
12 0331632

   (последний код) SOUND BLANKET

нет в наличии, поставок нет
12 0341498

SOUND BLANKET, Port, 300 (SOUND BLANKET, Port, 300)

нет в наличии, поставок нет
12 0334871

   (последний код) SOUND-BLKT

нет в наличии, поставок нет
13 0328009

Рукоятка наклона (TILT HANDLE)

нет в наличии, поставок нет
13 0330013

   (последний код) TILT-HANDLE

нет в наличии, поставок нет
14 0912173

Резинка капота двигателя (SEAL, Engine cover)

нет в наличии, поставок нет
14 0210762

   (последний код) SEAL,MOTOR COVER

нет в наличии, поставок нет
15 0341500

SOUND BLANKET, Stbd., 250 (SOUND BLANKET, Stbd., 250)

нет в наличии, поставок нет
15 0331938

   (последний код) SOUND BLANKET

нет в наличии, поставок нет
15 0341540

SOUND BLANKET, Stbd., 300 (SOUND BLANKET, Stbd., 300)

нет в наличии, поставок нет
15 0334870

   (последний код) SOUND-BLKT

нет в наличии, поставок нет
16 0211813

APPLIQUE, Power strg., 300. 300PXE 300PLE (APPLIQUE, Power strg., 300. 300PXE 300PLE)

нет в наличии, поставок нет
16 0212239

LENS, Rear, C / R, 300. 300CXE (LENS, Rear, C/R, 300. 300CXE)

нет в наличии, поставок нет
17 0330012

BAFFLE (BAFFLE)

нет в наличии, поставок нет
18 0323937

Винт, Baffle to handle (SCREW, Baffle to handle)

нет в наличии, поставок нет
19 0341497

SOUND BLANKET, Front (SOUND BLANKET, Front)

нет в наличии, поставок нет
20 0341499

SOUND BLANKET, Top (SOUND BLANKET, Top)

нет в наличии, поставок нет
20 0336488

   (последний код) BLANKET,SOUN

нет в наличии, поставок нет
21 0334004

Винт, Lift handle (SCREW, Lift handle)

нет в наличии, поставок нет
22 0330823

Винт, Louver, 300 (SCREW, Louver, 300)

нет в наличии, поставок нет
22 0325838

   (последний код) SCREW

нет в наличии, поставок нет
23 0330090

LOUVER, Stbd.. 300PXE 300CXE 300PLE (LOUVER, Stbd.. 300PXE 300CXE 300PLE)

нет в наличии, поставок нет
24 0330091

LOUVER, Port. 300PXE 300CXE 300PLE (LOUVER, Port. 300PXE 300CXE 300PLE)

нет в наличии, поставок нет
25 0332607

LIFT HANDLE, 250 (LIFT HANDLE, 250)

нет в наличии, поставок нет
25 0332608

LIFT HANDLE. 300PXE 300CXE 300PLE (LIFT HANDLE. 300PXE 300CXE 300PLE)

нет в наличии, поставок нет
26 0328608

Кронштейн, Louver Креплениеing., 300 (BRACKET, Louver mounting., 300)

нет в наличии, поставок нет
27 0431929

ADHESIVE KIT, Locating Кронштейнs (ADHESIVE KIT, Locating brackets)

нет в наличии, поставок нет
28 0211076

Наклейка, обратное вращение (DECAL, Counter rotation)

нет в наличии, поставок нет
0436350 0436350

Комплект наклеек, 250. Not Shown (DECAL SET, 250. Not Shown)

нет в наличии, поставок нет
0437269 0437269

Комплект наклеек, 300. Not Shown (DECAL SET, 300. Not Shown)

нет в наличии, поставок нет
evinrude

Время выполнения запроса 1.8627591133118 сек.


 
 

данный сайт носит информационный характер и не является публичной офертой

склад запчастей для водомоторной техники