вконтакте

Контактный телефон: +7 (981) 121-46-93, +7 (800) 200-90-76 , Email: parts-katalog@yandex.ru, где купить

 
 

  Логин:

Пароль:

Регистрация

www.partskatalog.ru Все каталоги Запчасти Mercury Запчасти Suzuki Запчасти Tohatsu Запчасти Honda Контакты


Все разделы каталога запчастей на этот двигатель

назад Раздел:   вперёд

вернуться к списку узлов и деталей

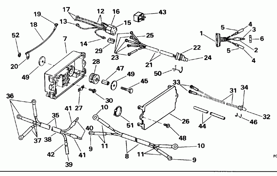
ДЕТАЛИРОВКА ДЛЯ МОДЕЛИ: EVINRUDE E112TSLEOC 1995

МЕХАНИЗИРОВАННЫЙ ДИФФЕРЕНТ НАКЛОНА ЭЛЕКТРИКА | POWER TRIM/TILT ELECTRICAL;


Подвесной мотор EVINRUDE E112TSLEOC 1995  - wer Trim / tilt Электрика - wer Trim/tilt Electrical

Номер на
рисунке
АртикулНаименованиеКол-во
на складе
Цена
1 0584841

TILT Переключатель, Крышка двигателя (капот) (TILT SWITCH, Engine cover)

нет в наличии, поставок нет
1 0585146

   (последний код) SWITCH AY,T&T

нет в наличии, поставок нет
2 0512947

BULLET Клемма (BULLET TERMINAL)

нет в наличии, поставок нет
2 0910462

   (последний код) TERM.-60766-

нет в наличии, поставок нет
3 0513185

Гильза (SLEEVE)

нет в наличии, поставок нет
3 0512948

   (последний код) SLEEVE

нет в наличии, поставок нет
4 0512876

SOCKET Клемма (SOCKET TERMINAL)

нет в наличии, поставок нет
4 3852244

   (последний код) TERMINAL,SOC

нет в наличии, поставок нет
5 0513186

Гильза, Socket (SLEEVE, Socket)

нет в наличии, поставок нет
5 3852248

   (последний код) SLEEVE,SKT-B

нет в наличии, поставок нет
6 0334656

Гайка, Tilt Переключатель (NUT, Tilt switch)

нет в наличии, поставок нет
0583910 0583910

JUNCTION BOX & Крышка в сборе. Not Shown (JUNCTION BOX & COVER ASSY.. Not Shown)

нет в наличии, поставок нет
7 0512776

Основание, Junction box (BASE, Junction box)

нет в наличии, поставок нет
7 0512400

   (последний код) BASE-JUNCTIO

нет в наличии, поставок нет
8 0583010

Кабели в сборе., Motor & Релеs (CABLE ASSY., Motor & relays)

нет в наличии, поставок нет
9 0510780

Клемма (TERMINAL)

нет в наличии, поставок нет
9 3852226

   (последний код) TERMINAL,RIN

нет в наличии, поставок нет
10 0512062

Клемма (TERMINAL)

нет в наличии, поставок нет
11 0510781

Гильза (SLEEVE)

нет в наличии, поставок нет
12 0582986

Коннектор в сборе., голубой leads (CONNECTOR ASSY., Blue leads)

нет в наличии, поставок нет
12 0582662

   (последний код) CONNECTOR-&L

нет в наличии, поставок нет
12 0582987

Коннектор в сборе., зелёный leads (CONNECTOR ASSY., Green leads)

нет в наличии, поставок нет
12 0582666

   (последний код) CONNECTOR&LE

нет в наличии, поставок нет
13 0510780

Клемма (TERMINAL)

нет в наличии, поставок нет
13 3852226

   (последний код) TERMINAL,RIN

нет в наличии, поставок нет
14 0511656

Клемма (TERMINAL)

нет в наличии, поставок нет
14 0309435

   (последний код) TERMINAL

нет в наличии, поставок нет
15 0513166

Клемма (TERMINAL)

нет в наличии, поставок нет
15 3852246

   (последний код) TERMINAL,RCP

нет в наличии, поставок нет
16 0511866

Коннектор (CONNECTOR)

нет в наличии, поставок нет
17 0512062

Кольцо Клемма (RING TERMINAL)

нет в наличии, поставок нет
18 0582671

LEAD в сборе., Junction box Заземление (LEAD ASSY., Junction box ground)

нет в наличии, поставок нет
19 0512062

Кольцо Клемма (RING TERMINAL)

нет в наличии, поставок нет
20 0510818

Клемма (TERMINAL)

нет в наличии, поставок нет
20 3854243

   (последний код) TERMINAL,RIN

нет в наличии, поставок нет
21 0583158

Коннектор & LEAD в сборе. (CONNECTOR & LEAD ASSY.)

нет в наличии, поставок нет
22 0512753

Коннектор (CONNECTOR)

нет в наличии, поставок нет
22 3852243

   (последний код) CONN,5-SKT-P

нет в наличии, поставок нет
23 0510780

Кольцо Клемма (RING TERMINAL)

нет в наличии, поставок нет
23 3852226

   (последний код) TERMINAL,RIN

нет в наличии, поставок нет
24 0581656

SOCKET (SOCKET)

нет в наличии, поставок нет
24 3852257

   (последний код) TERMINAL AY,SCKT

нет в наличии, поставок нет
25 0510781

Гильза (SLEEVE)

нет в наличии, поставок нет
26 0583707

Крышка в сборе (COVER ASSY.)

нет в наличии, поставок нет
26 0583090

   (последний код) COVER&DECAL AY

нет в наличии, поставок нет
27 0315004

JUMPER, Клемма block (JUMPER, Terminal block)

нет в наличии, поставок нет
28 0315057

Крепление, Junction box (MOUNT, Junction box)

нет в наличии, поставок нет
29 0325699

Коннектор, Motor leads (CONNECTOR, Motor leads)

нет в наличии, поставок нет
30 0329182

Винт, Клемма block (SCREW, Terminal block)

нет в наличии, поставок нет
30 0327785

   (последний код) SCREW

нет в наличии, поставок нет
31 0583105

Кабели в сборе., Sending unit (CABLE ASSY., Sending unit)

нет в наличии, поставок нет
31 0582948

   (последний код) CABLE ASSY

нет в наличии, поставок нет
32 0581656

SOCKET (SOCKET)

нет в наличии, поставок нет
32 3852257

   (последний код) TERMINAL AY,SCKT

нет в наличии, поставок нет
33 0510780

Клемма (TERMINAL)

нет в наличии, поставок нет
33 3852226

   (последний код) TERMINAL,RIN

нет в наличии, поставок нет
34 0512745

Коннектор, 2 Штифт (CONNECTOR, 2 pin)

нет в наличии, поставок нет
35 0583909

Кабели, Junction box to Переключатель (CABLE, Junction box to switch)

нет в наличии, поставок нет
36 0510780

Кольцо Клемма (RING TERMINAL)

нет в наличии, поставок нет
36 3852226

   (последний код) TERMINAL,RIN

нет в наличии, поставок нет
37 0510781

Гильза (SLEEVE)

нет в наличии, поставок нет
38 0511144

Трубопровод (TUBING)

нет в наличии, поставок нет
39 0512876

SOCKET (SOCKET)

нет в наличии, поставок нет
39 3852244

   (последний код) TERMINAL,SOC

нет в наличии, поставок нет
40 0512947

BULLET Клемма (BULLET TERMINAL)

нет в наличии, поставок нет
40 0910462

   (последний код) TERM.-60766-

нет в наличии, поставок нет
41 0513185

Гильза, Bullet (SLEEVE, Bullet)

нет в наличии, поставок нет
41 0512948

   (последний код) SLEEVE

нет в наличии, поставок нет
42 0513186

Гильза, Socket (SLEEVE, Socket)

нет в наличии, поставок нет
42 3852248

   (последний код) SLEEVE,SKT-B

нет в наличии, поставок нет
43 0584416

Реле (RELAY)

нет в наличии, поставок нет
43 0586224

   (последний код) RELAY AY

1 шт2730 руб.
44 0327267

Гильза, Motor & sending leads (SLEEVE, Motor & sending leads)

нет в наличии, поставок нет
44 0512422

   (последний код) SLEEVE

нет в наличии, поставок нет
45 0328726

Винт, Junction box Крепление (SCREW, Junction box mount)

нет в наличии, поставок нет
45 0323796

   (последний код) SCREW

нет в наличии, поставок нет
46 0512741

Фиксатор, Датчик трима (RETAINER, Trim sender)

нет в наличии, поставок нет
47 0331984

Гильза, Монтажная резинка (SLEEVE, Rubber mount)

нет в наличии, поставок нет
47 0330111

   (последний код) SPACER

нет в наличии, поставок нет
48 0329182

Винт, Крышка (SCREW, Cover)

нет в наличии, поставок нет
48 0327785

   (последний код) SCREW

нет в наличии, поставок нет
49 0328703

Шайба (WASHER)

нет в наличии, поставок нет
49 3852184

   (последний код) WASHER

нет в наличии, поставок нет
50 0512743

Фиксатор, Коннектор (RETAINER, Connector)

нет в наличии, поставок нет
50 3852238

   (последний код) RETAINER,CON

нет в наличии, поставок нет
51 0320107

Струбцина Хомут, Trim Кабели (CLAMP STRAP, Trim cable)

нет в наличии, поставок нет
51 5035626

   (последний код) BAND,REM CON

нет в наличии, поставок нет
52 0328701

Шайба, Заземление (WASHER, Ground)

нет в наличии, поставок нет
52 3852182

   (последний код) WASHER,LOCK

нет в наличии, поставок нет
evinrude

Время выполнения запроса 8.0239310264587 сек.


 
 

данный сайт носит информационный характер и не является публичной офертой

склад запчастей для водомоторной техники