вконтакте

Контактный телефон: +7 (981) 121-46-93, +7 (800) 200-90-76 , Email: parts-katalog@yandex.ru, где купить

 
 

  Логин:

Пароль:

Регистрация

www.partskatalog.ru Все каталоги Запчасти Mercury Запчасти Suzuki Запчасти Tohatsu Запчасти Honda Контакты



УВАЖАЕМЫЕ КЛИЕНТЫ!
C 19 ДЕКАБРЯ 2025 ПО 02 МАРТА 2026 ГОДА ОТДЕЛ ЗАПЧАСТЕЙ И СЕРВИС РАБОТАТЬ НЕ БУДУТ
ПРОДАЖА ЛОДОЧНЫХ МОТОРОВ В ШТАТНОМ РЕЖИМЕ
ОБ ИЗМЕНЕНИЯХ В ГРАФИКЕ РАБОТЫ ЧИТАЙТЕ НА САЙТА




Все разделы каталога запчастей на этот двигатель

назад Раздел:   вперёд

вернуться к списку узлов и деталей

ДЕТАЛИРОВКА ДЛЯ МОДЕЛИ: EVINRUDE E60TTLEOC 1995

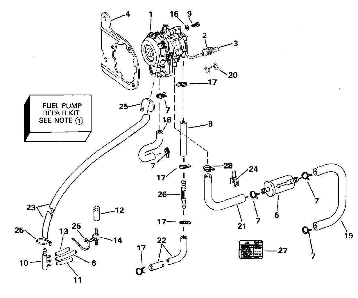
ТОПЛИВНЫЙ НАСОС | FUEL PUMP;


Мотор Эвинруд E60TTLEOC 1995  - el Помпа

Номер на
рисунке
АртикулНаименованиеКол-во
на складе
Цена
1 0435560

Топливный насос в сборе.. See Вспомогательные компоненты Catalog для Ремонтный комплект Part Numbers (FUEL PUMP ASSY.. See Accessory Parts Catalog for Repair Kit Part Numbers)

нет в наличии, поставок нет
1 5007420

   (последний код) KIT AY,F PUMP&LMTR

нет в наличии, поставок нет
2 0512749

Коннектор, 4-socket Заглушка (CONNECTOR, 4-socket plug)

нет в наличии, поставок нет
2 3852241

   (последний код) CONN,4-SKT-P

нет в наличии, поставок нет
3 0581656

Клемма, Socket (TERMINAL, Socket)

нет в наличии, поставок нет
3 3852257

   (последний код) TERMINAL AY,SCKT

нет в наличии, поставок нет
4 0331624

Кронштейн топливного насоса to Коллектор (BRACKET, Fuel pump to manifold)

нет в наличии, поставок нет
5 0398327

Топливный фильтр в сборе. (FUEL FILTER ASSY.)

нет в наличии, поставок нет
5 3852224

   (последний код) FILTER AY,FUEL

нет в наличии, поставок нет
6 0

Шланг, Коллектор to fuel tee, 1 1 / 4 дюйм (32 мм) long. сокращёная длина from 327228 - 5 / 32 дюйм I.D., 25 фут (7, 6m) Roll (HOSE, Manifold to fuel tee, 1 1/4 in. (32mm) long. Cut to Length from 327228 - 5/32 in. I.D., 25 ft. (7,6m) Roll)

нет в наличии, поставок нет
7 0339278

Струбцина, 562 (CLAMP, .562)

нет в наличии, поставок нет
8 0333384

Шланг в сборе., Sight Трубка (HOSE ASSY., Sight tube)

нет в наличии, поставок нет
8 0331622

   (последний код) HOSE---OIL

нет в наличии, поставок нет
9 0308825

Винт, Топливный насос to Крепление (SCREW, Fuel pump to mount)

нет в наличии, поставок нет
9 3852081

   (последний код) SCREW

нет в наличии, поставок нет
10 0395540

FUEL Коллектор в сборе. (FUEL MANIFOLD ASSY.)

нет в наличии, поставок нет
11 0336236

Шланг, Коллектор to нижний Карбюратор (HOSE, Manifold to lower carburetor)

нет в наличии, поставок нет
12 0

Топливный шланг tee to middle carb., 1 1 / 4 дюйм (3 мм) сокращёная длина from 327228 - 5 / 32 дюйм I.D., 25 фут (7, 6m) Roll (HOSE, Fuel tee to middle carb., 1 1/4 in. (3 mm). Cut to Length from 327228 - 5/32 in. I.D., 25 ft. (7,6m) Roll)

нет в наличии, поставок нет
13 0336236

Шланг, Коллектор to верхний Карбюратор (HOSE, Manifold to upper carburetor)

нет в наличии, поставок нет
14 0313537

TEE, Топливный шланг (TEE, Fuel hose)

нет в наличии, поставок нет
15 0328735

Шайба, Монтажный кронштейн (WASHER, Mount bracket)

нет в наличии, поставок нет
15 3852188

   (последний код) WASHER

нет в наличии, поставок нет
17 0339277

Струбцина, Коннектор, 500 (CLAMP, Connector, .500)

нет в наличии, поставок нет
18 0333380

PULSE Шланг (PULSE HOSE)

нет в наличии, поставок нет
18 0330891

   (последний код) HOSE

нет в наличии, поставок нет
19 0333407

Топливный шланг Коннектор to Фильтр (HOSE, Fuel connector to filter)

нет в наличии, поставок нет
19 0326597

   (последний код) HOSE

нет в наличии, поставок нет
20 0512743

Фиксатор, Коннектор (RETAINER, Connector)

нет в наличии, поставок нет
20 3852238

   (последний код) RETAINER,CON

нет в наличии, поставок нет
21 0336234

Шланг, Фильтр to Топливный насос (HOSE, Filter to fuel pump)

нет в наличии, поставок нет
22 0333382

Шланг, Коннектор to sight Трубка (HOSE, Connector to sight tube)

нет в наличии, поставок нет
22 0331619

   (последний код) HOSE

нет в наличии, поставок нет
23 0336742

Топливный шланг Помпа to Коллектор (HOSE, Fuel pump to manifold)

нет в наличии, поставок нет
23 0336235

   (последний код) HOSE

нет в наличии, поставок нет
24 0329661

Держатель / Заглушка (HOLDER/PLUG)

нет в наличии, поставок нет
25 0320107

Струбцина Хомут (CLAMP STRAP)

нет в наличии, поставок нет
25 5035626

   (последний код) BAND,REM CON

нет в наличии, поставок нет
26 0331623

SIGHT Масляная трубка (SIGHT TUBE, Oil)

нет в наличии, поставок нет
27 0335707

Наклейка, Warning horn (DECAL, Warning horn)

нет в наличии, поставок нет
28 0339279

Струбцина, 625 (CLAMP, .625)

нет в наличии, поставок нет
evinrude

Время выполнения запроса 1.494491815567 сек.


 
 

данный сайт носит информационный характер и не является публичной офертой

склад запчастей для водомоторной техники