вконтакте

Контактный телефон: +7 (981) 121-46-93, +7 (800) 200-90-76 , Email: parts-katalog@yandex.ru, где купить

 
 

  Логин:

Пароль:

Регистрация

www.partskatalog.ru Все каталоги Запчасти Mercury Запчасти Suzuki Запчасти Tohatsu Запчасти Honda Контакты



УВАЖАЕМЫЕ КЛИЕНТЫ!
C 19 ДЕКАБРЯ 2025 ПО 02 МАРТА 2026 ГОДА ОТДЕЛ ЗАПЧАСТЕЙ И СЕРВИС РАБОТАТЬ НЕ БУДУТ
ПРОДАЖА ЛОДОЧНЫХ МОТОРОВ В ШТАТНОМ РЕЖИМЕ
ОБ ИЗМЕНЕНИЯХ В ГРАФИКЕ РАБОТЫ ЧИТАЙТЕ НА САЙТА




Все разделы каталога запчастей на этот двигатель

назад Раздел:   вперёд

вернуться к списку узлов и деталей

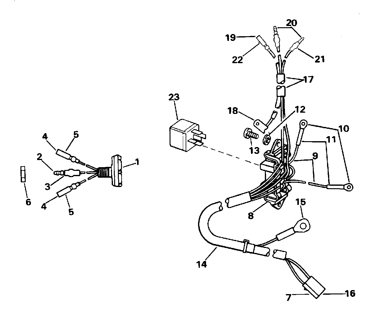
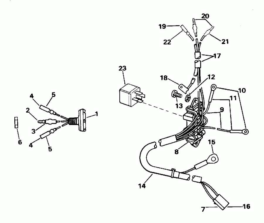
ДЕТАЛИРОВКА ДЛЯ МОДЕЛИ: EVINRUDE E60TTLEOC 1995

МЕХАНИЗИРОВАННЫЙ ДИФФЕРЕНТ НАКЛОНА ЭЛЕКТРИКА | POWER TRIM/TILT ELECTRICAL;


Мотор Evinrude E60TTLEOC 1995  - wer Trim / tilt Электрика / wer Trim/tilt Electrical

Номер на
рисунке
АртикулНаименованиеКол-во
на складе
Цена
1 0584841

TILT Переключатель, Крышка двигателя (капот) (TILT SWITCH, Engine cover)

нет в наличии, поставок нет
1 0585146

   (последний код) SWITCH AY,T&T

нет в наличии, поставок нет
2 0512947

BULLET Клемма (BULLET TERMINAL)

нет в наличии, поставок нет
2 0910462

   (последний код) TERM.-60766-

нет в наличии, поставок нет
3 0513185

Гильза (SLEEVE)

нет в наличии, поставок нет
3 0512948

   (последний код) SLEEVE

нет в наличии, поставок нет
4 0512876

SOCKET Клемма (SOCKET TERMINAL)

нет в наличии, поставок нет
4 3852244

   (последний код) TERMINAL,SOC

нет в наличии, поставок нет
5 0513186

Гильза, Socket (SLEEVE, Socket)

нет в наличии, поставок нет
5 3852248

   (последний код) SLEEVE,SKT-B

нет в наличии, поставок нет
6 0334656

Гайка, Tilt Переключатель (NUT, Tilt switch)

нет в наличии, поставок нет
7 0325699

Коннектор (CONNECTOR)

нет в наличии, поставок нет
8 0334191

Кронштейн, Tilt / trim Реле (BRACKET, Tilt/trim relay)

нет в наличии, поставок нет
8 3852210

   (последний код) BRACKET

нет в наличии, поставок нет
9 0583769

Заземление LEAD (GROUND LEAD)

нет в наличии, поставок нет
10 0511829

Кольцо Клемма (RING TERMINAL)

нет в наличии, поставок нет
10 3852233

   (последний код) TERMINAL,RIN

нет в наличии, поставок нет
11 0510781

Гильза (SLEEVE)

нет в наличии, поставок нет
12 0328739

Шайба КреплениеING (WASHER MOUNTING)

нет в наличии, поставок нет
12 3852190

   (последний код) WASHER

нет в наличии, поставок нет
13 0324064

Винт, Реле Кронштейн & leads (SCREW, Relay bracket & leads)

нет в наличии, поставок нет
14 0583939

Кабели в сборе., Релеs (CABLE ASSY., Relays)

нет в наличии, поставок нет
15 0204053

Кольцо Клемма (RING TERMINAL)

нет в наличии, поставок нет
15 3852037

   (последний код) TERMINAL,RIN

нет в наличии, поставок нет
16 0511656

Клемма, Релеs (TERMINAL, Relays)

нет в наличии, поставок нет
16 0309435

   (последний код) TERMINAL

нет в наличии, поставок нет
17 0583944

Кабели, Реле to tilt Переключатель (CABLE, Relay to tilt switch)

нет в наличии, поставок нет
18 0511399

Клемма (TERMINAL)

нет в наличии, поставок нет
19 0512876

Клемма, Socket (TERMINAL, Socket)

нет в наличии, поставок нет
19 3852244

   (последний код) TERMINAL,SOC

нет в наличии, поставок нет
20 0512947

Клемма, Bullet (TERMINAL, Bullet)

нет в наличии, поставок нет
20 0910462

   (последний код) TERM.-60766-

нет в наличии, поставок нет
21 0513185

Гильза, Bullet (SLEEVE, Bullet)

нет в наличии, поставок нет
21 0512948

   (последний код) SLEEVE

нет в наличии, поставок нет
22 0513186

Гильза (SLEEVE)

нет в наличии, поставок нет
22 3852248

   (последний код) SLEEVE,SKT-B

нет в наличии, поставок нет
23 0584416

Реле, Tilt / trim (RELAY, Tilt/trim)

нет в наличии, поставок нет
23 0586224

   (последний код) RELAY AY

1 шт2730 руб.
evinrude

Время выполнения запроса 4.1971490383148 сек.


 
 

данный сайт носит информационный характер и не является публичной офертой

склад запчастей для водомоторной техники