вконтакте

Контактный телефон: +7 (981) 121-46-93, +7 (800) 200-90-76 , Email: parts-katalog@yandex.ru, где купить

 
 

  Логин:

Пароль:

Регистрация

www.partskatalog.ru Все каталоги Запчасти Mercury Запчасти Suzuki Запчасти Tohatsu Запчасти Honda Контакты


Все разделы каталога запчастей на этот двигатель

назад Раздел:   вперёд

вернуться к списку узлов и деталей

ДЕТАЛИРОВКА ДЛЯ МОДЕЛИ: EVINRUDE E50BELEOD 1995

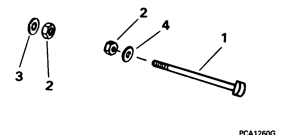
TRANSOM КРЕПЛЕНИЕ KIT P / N 434676 | TRANSOM MOUNT KIT P/N 434676;


Лодочный подвесной мотор Эвинруд E50BELEOD 1995  - ansom Крепление Kit P / n 434676 - ansom Mount Kit P/n 434676

Номер на
рисунке
АртикулНаименованиеКол-во
на складе
Цена
0434676 0434676

TRANSOM Крепление KIT. Not Shown (TRANSOM MOUNT KIT. Not Shown)

нет в наличии, поставок нет
1 0334427

Винт (SCREW)

нет в наличии, поставок нет
1 0318512

   (последний код) SCREW

нет в наличии, поставок нет
2 0310702

Гайка (NUT)

нет в наличии, поставок нет
3 0120196

Шайба (WASHER)

нет в наличии, поставок нет
3 0309192

   (последний код) WASHER

нет в наличии, поставок нет
4 0315776

Шайба (WASHER)

нет в наличии, поставок нет
evinrude

Время выполнения запроса 0.59858322143555 сек.


 
 

данный сайт носит информационный характер и не является публичной офертой

склад запчастей для водомоторной техники