| |
Все разделы каталога запчастей на этот двигатель
вернуться к списку узлов и деталей ДЕТАЛИРОВКА ДЛЯ МОДЕЛИ: EVINRUDE E225CXATF 1993
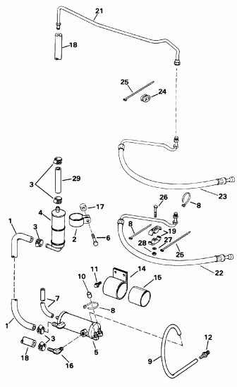
POWER РУЛЕВАЯ СИСТЕМА GROВЫШЕ | POWER STEERING GROUP;
Номер на рисунке | Артикул | Наименование | Кол-во на складе | Цена |
| 1 | 0912067 | Масляный шланг cooler to Фильтр (HOSE, Oil cooler to filter) | нет в наличии, поставок нет |
| 2 | 0912095 | Струбцина, Масляный фильтр (CLAMP, Oil filter) | нет в наличии, поставок нет |
| 3 | 0982115 | Струбцина, Шланг (CLAMP, Hose) | нет в наличии, поставок нет |
| 4 | 0984141 | Масляный фильтр в сборе. (OIL FILTER ASSY.) | нет в наличии, поставок нет |
| 5 | 0984142 | OIL COOLER в сборе. (OIL COOLER ASSY.) | нет в наличии, поставок нет |
| 6 | 0318611 | Винт, Помпа Крепление, long (SCREW, Pump mount, long) | нет в наличии, поставок нет |
| 7 | 0339034 | Масляный шланг cooler to adapter (HOSE, Oil cooler to adapter) | нет в наличии, поставок нет |
| 8 | 0320107 | Крепёжный хомут (TIE STRAP) | нет в наличии, поставок нет |
| 8 | 5035626 | (последний код) BAND,REM CON | нет в наличии, поставок нет |
| 9 | 0330366 | Масляный шланг cooler to adapter (HOSE, Oil cooler to adapter) | нет в наличии, поставок нет |
| 10 | 0309174 | Колпачок (CAP) | нет в наличии, поставок нет |
| 10 | 3852082 | (последний код) CAP | нет в наличии, поставок нет |
| 11 | 0329217 | Винт, Oil cooler Струбцина (SCREW, Oil cooler clamp) | нет в наличии, поставок нет |
| 11 | 0333707 | (последний код) SCREW | нет в наличии, поставок нет |
| 12 | 0326712 | FITTING, Oil cooler drain (FITTING, Oil cooler drain) | нет в наличии, поставок нет |
| 12 | 0326912 | (последний код) NIPPLE | нет в наличии, поставок нет |
| 14 | 0912063 | Хомут, Oil cooler (STRAP, Oil cooler) | нет в наличии, поставок нет |
| 15 | 0912064 | Гильза, Oil cooler (SLEEVE, Oil cooler) | нет в наличии, поставок нет |
| 16 | 0912000 | ELBOW, Oil cooler (ELBOW, Oil cooler) | нет в наличии, поставок нет |
| 16 | 0910957 | (последний код) FITTING | нет в наличии, поставок нет |
| 17 | 0912160 | Проставка, Корпус to Цилиндр (SPACER, Housing to cylinder) | нет в наличии, поставок нет |
| 18 | 0912147 | Масляный шланг cooler to return Трубка (HOSE, Oil cooler to return tube) | нет в наличии, поставок нет |
| 19 | 0912159 | Фиксатор, Шлангs to Нижняя крышка двигателя (RETAINER, Hoses to lower engine cover) | нет в наличии, поставок нет |
| 21 | 0985332 | Трубка в сборе., Крышка двигателя (капот) to oil cooler, retur (TUBE ASSY., Engine cover to oil cooler, retur) | нет в наличии, поставок нет |
| 22 | 0987031 | Шланг, Return Трубка to Клапан hsg. (HOSE, Return tube to valve hsg.) | нет в наличии, поставок нет |
| 23 | 0987032 | Шланг, Pressure Шланг to Клапан hsg. (HOSE, Pressure hose to valve hsg.) | нет в наличии, поставок нет |
| 24 | 0912226 | Пыльник, Return Трубка (GROMMET, Return tube) | нет в наличии, поставок нет |
| 25 | 0910068 | Крепёжный хомут, Return Шланг to pressure Шланг (TIE STRAP, Return hose to pressure hose) | нет в наличии, поставок нет |
| 25 | 3852486 | (последний код) TIE STRAP | нет в наличии, поставок нет |
| 26 | 0325115 | Винт, Фиксатор, Рулевая система Шлангs (SCREW, Retainer, steering hoses) | нет в наличии, поставок нет |
| 26 | 0321483 | (последний код) SCREW CCASE CYL | нет в наличии, поставок нет |
| 27 | 0511421 | Шайба, Фиксатор, Рулевая система Шлангs (WASHER, Retainer, steering hoses) | нет в наличии, поставок нет |
| 28 | 0313022 | Гайка, Фиксатор, Рулевая система Шлангs (NUT, Retainer, steering hoses) | нет в наличии, поставок нет |
| 28 | 3852118 | (последний код) NUT,LOCK | нет в наличии, поставок нет |
| 29 | 0912066 | Шланг, Масляный фильтр to Помпа (HOSE, Oil filter to pump) | нет в наличии, поставок нет |

Время выполнения запроса 0.66452288627625 сек.
|
|