вконтакте

Контактный телефон: +7 (981) 121-46-93, +7 (800) 200-90-76 , Email: parts-katalog@yandex.ru, где купить

 
 

  Логин:

Пароль:

Регистрация

www.partskatalog.ru Все каталоги Запчасти Mercury Запчасти Suzuki Запчасти Tohatsu Запчасти Honda Контакты



УВАЖАЕМЫЕ КЛИЕНТЫ!
C 31 ОКТЯБРЯ 2025 ПО 10 НОЯБРЯ 2025 ГОДА РАБОТАТЬ НЕ БУДЕМ




Все разделы каталога запчастей на этот двигатель

назад Раздел:   вперёд

вернуться к списку узлов и деталей

ДЕТАЛИРОВКА ДЛЯ МОДЕЛИ: EVINRUDE E10RELETM 1993

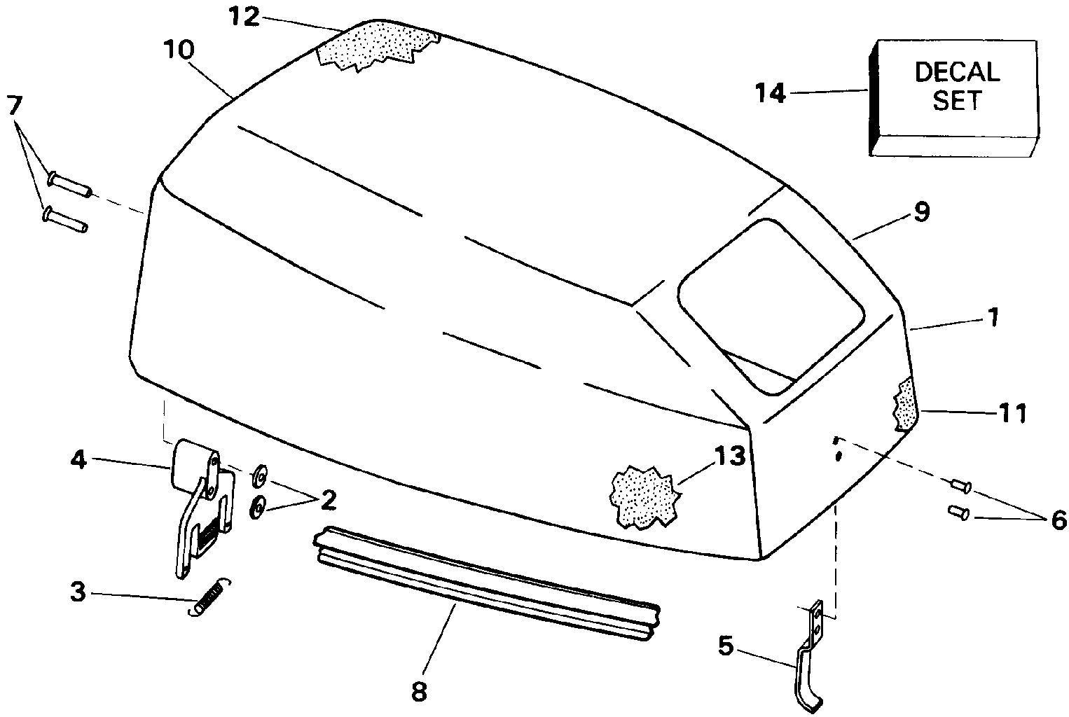
КРЫШКА ДВИГАТЕЛЯ (КАПОТ) - JOHNSON | ENGINE COVER - JOHNSON;


Подвесной лодочный мотор EVINRUDE E10RELETM 1993  - Johnson

Номер на
рисунке
АртикулНаименованиеКол-во
на складе
Цена
1 0435236

Крышка двигателя (капот) в сборе.. 9.9 Models (ENGINE COVER ASSY.. 9.9 Models)

нет в наличии, поставок нет
1 0435238

   (последний код) COVER AY,MOTOR-UPR

нет в наличии, поставок нет
1 0435237

Крышка двигателя (капот) в сборе.. 15 Models (ENGINE COVER ASSY.. 15 Models)

нет в наличии, поставок нет
1 0437218

   (последний код) COVER AY,MOTOR-UPR

нет в наличии, поставок нет
1 0435238

Крышка двигателя (капот) в сборе.. 10SEL Models (ENGINE COVER ASSY.. 10SEL Models)

нет в наличии, поставок нет
1 0435236

   (последний код) COVER AY,MOTOR-

нет в наличии, поставок нет
1 0435235

Крышка двигателя (капот) в сборе.. TJ Models (ENGINE COVER ASSY.. TJ Models)

нет в наличии, поставок нет
2 0303715

Шайба, Заклёпка, Крючок (WASHER, Rivet, hook)

нет в наличии, поставок нет
3 0336457

Пружина, Rear Крючок (SPRING, Rear hook)

нет в наличии, поставок нет
4 0338252

Крючок, Rear (HOOK, Rear)

нет в наличии, поставок нет
5 0436301

Крючок спереди (HOOK, Front)

нет в наличии, поставок нет
6 0339068

Заклёпка, Front Крючок (RIVET, Front hook)

нет в наличии, поставок нет
7 0339069

Заклёпка, Rear Крючок (RIVET, Rear hook)

нет в наличии, поставок нет
7 0336253

   (последний код) RIVET

нет в наличии, поставок нет
8 0339204

Сальник (SEAL)

нет в наличии, поставок нет
9 0339820

SOUND BLANKET, Port (SOUND BLANKET, Port)

нет в наличии, поставок нет
10 0339832

SOUND BLANKET, Rear (SOUND BLANKET, Rear)

нет в наличии, поставок нет
11 0339833

SOUND BLANKET, Front (SOUND BLANKET, Front)

нет в наличии, поставок нет
12 0339834

SOUND BLANKET, Top (SOUND BLANKET, Top)

нет в наличии, поставок нет
13 0339850

SOUND BLANKET, Starboard (SOUND BLANKET, Starboard)

нет в наличии, поставок нет
14 0436262

Комплект наклеек. 9.9 Models (DECAL SET. 9.9 Models)

нет в наличии, поставок нет
14 0436263

Комплект наклеек. 15 Models (DECAL SET. 15 Models)

нет в наличии, поставок нет
14 0436264

Комплект наклеек. 10SEL Models (DECAL SET. 10SEL Models)

нет в наличии, поставок нет
14 0436269

Комплект наклеек. TJ Models (DECAL SET. TJ Models)

нет в наличии, поставок нет
evinrude

Время выполнения запроса 0.78015685081482 сек.


 
 

данный сайт носит информационный характер и не является публичной офертой

склад запчастей для водомоторной техники