вконтакте

Контактный телефон: +7 (981) 121-46-93, +7 (800) 200-90-76 , Email: parts-katalog@yandex.ru, где купить

 
 

  Логин:

Пароль:

Регистрация

www.partskatalog.ru Все каталоги Запчасти Mercury Запчасти Suzuki Запчасти Tohatsu Запчасти Honda Контакты



УВАЖАЕМЫЕ КЛИЕНТЫ!
C 19 ДЕКАБРЯ 2025 ПО 02 МАРТА 2026 ГОДА ОТДЕЛ ЗАПЧАСТЕЙ И СЕРВИС РАБОТАТЬ НЕ БУДУТ
ПРОДАЖА ЛОДОЧНЫХ МОТОРОВ В ШТАТНОМ РЕЖИМЕ
ОБ ИЗМЕНЕНИЯХ В ГРАФИКЕ РАБОТЫ ЧИТАЙТЕ НА САЙТА




Все разделы каталога запчастей на этот двигатель

назад Раздел:   вперёд

вернуться к списку узлов и деталей

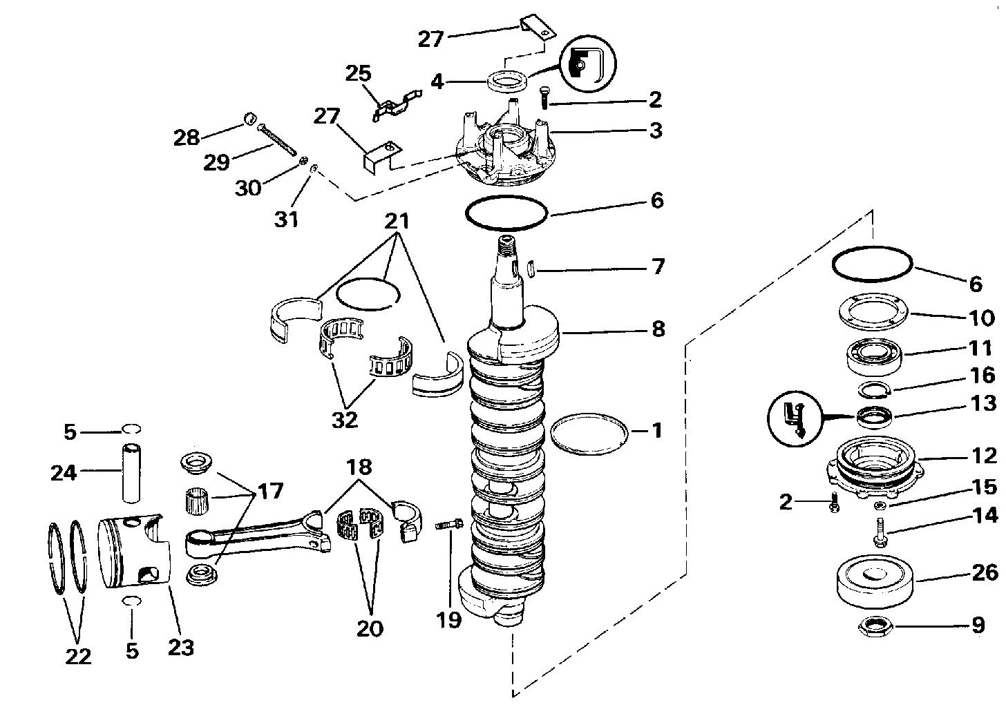
ДЕТАЛИРОВКА ДЛЯ МОДЕЛИ: EVINRUDE E300PLEND 1992

КОЛЕНВАЛ & ПОРШЕНЬ | CRANKSHAFT & PISTON;


Подвесной мотор EVINRUDE E300PLEND 1992  - ankВал & Поршень - ankshaft & Piston

Номер на
рисунке
АртикулНаименованиеКол-во
на складе
Цена
1 0326749

Кольцевой сальник (SEAL RING)

нет в наличии, поставок нет
1 0343471

   (последний код) RING,SEAL

нет в наличии, поставок нет
2 0335687

Винт, Головка картера двигателя (SCREW, Crankcase head)

нет в наличии, поставок нет
2 3852213

   (последний код) SCREW

нет в наличии, поставок нет
3 0396668

Головка картера двигателя & BRG. в сборе. (CRANKCASE HEAD & BRG. ASSY.)

нет в наличии, поставок нет
3 5000574

   (последний код) HEAD AY, CRANKCASE

нет в наличии, поставок нет
4 0322575

Сальник, верхний (SEAL, Upper)

нет в наличии, поставок нет
4 0339620

   (последний код) SEAL,OIL

нет в наличии, поставок нет
5 0326765

Стопорное кольцо (RETAINING RING)

нет в наличии, поставок нет
6 0326741

Уплотнительное кольцо (O-RING)

нет в наличии, поставок нет
7 0307480

Ключ маховика (KEY, Flywheel)

нет в наличии, поставок нет
8 0397161

Коленвал в сборе. (CRANKSHAFT ASSY.)

нет в наличии, поставок нет
8 0326756

   (последний код) CRANKSHAFT

нет в наличии, поставок нет
9 0332145

Гайка, Демпфер to Коленвал (NUT, Damper to crankshaft)

нет в наличии, поставок нет
10 3326748

Пластина, нижний Подшипник (PLATE, Lower bearing)

нет в наличии, поставок нет
11 0390641

Шариковый подшипник (BEARING, Ball)

нет в наличии, поставок нет
12 0434792

Головка картера двигателя в сборе. (CRANKCASE HEAD ASSY.)

нет в наличии, поставок нет
13 0332942

Сальник (SEAL)

нет в наличии, поставок нет
14 0332590

Винт, нижний Подшипник Фиксатор (SCREW, Lower bearing retainer)

нет в наличии, поставок нет
14 0326763

   (последний код) SCREW

нет в наличии, поставок нет
15 0332585

Сальник (SEAL)

нет в наличии, поставок нет
16 0326047

Удерживающие кольцо подшипника (RING, Retaining, bearing)

нет в наличии, поставок нет
17 0434844

Подшипник, Wrist Штифт (BEARING, Wrist pin)

нет в наличии, поставок нет
17 0391480

   (последний код) NEEDLE BEARING

нет в наличии, поставок нет
18 0394488

Шатун в сборе. (CONNECTING ROD ASSY.)

нет в наличии, поставок нет
18 5004705

   (последний код) CONN ROD, LOOP V

нет в наличии, поставок нет
19 0330081

Винт, Тяга Колпачок (SCREW, Rod cap)

нет в наличии, поставок нет
20 0396041

Фиксатор SET (RETAINER SET)

нет в наличии, поставок нет
21 0320499

SPLIT Гильза, Подшипник (SPLIT SLEEVE, Bearing)

нет в наличии, поставок нет
21 0352960

   (последний код) LINER,SPLIT-BRG

нет в наличии, поставок нет
22 0431870

Кольцо SET, Std. (RING SET, Std.)

нет в наличии, поставок нет
22 0431844

Кольцо SET, 0.030 дюйм o.s. (RING SET, 0.030 in. o.s.)

нет в наличии, поставок нет
23 0432970

Поршень, Stbd., Std (PISTON, Stbd., Std)

нет в наличии, поставок нет
23 0398700

   (последний код) PISTON & DOWEL

нет в наличии, поставок нет
23 0433004

Поршень, Stbd., 0.030 дюйм o.s. (PISTON, Stbd., 0.030 in. o.s.)

нет в наличии, поставок нет
23 5006678

   (последний код) PSTN&RNG KT.030 OS

нет в наличии, поставок нет
23 0432969

Поршень, Port, Std. (PISTON, Port, Std.)

нет в наличии, поставок нет
23 0398699

   (последний код) PISTON & DOWEL AY

нет в наличии, поставок нет
23 0433003

Поршень, Port, 0.030 дюйм o.s. (PISTON, Port, 0.030 in. o.s.)

нет в наличии, поставок нет
23 5006677

   (последний код) PSTN&RNG KT.030 OS

нет в наличии, поставок нет
24 0326764

WRIST Штифт (WRIST PIN)

нет в наличии, поставок нет
25 0331926

Фиксатор, Подшипник head (RETAINER, Bearing head)

нет в наличии, поставок нет
26 0394583

TORSIONAL Демпфер в сборе., (TORSIONAL DAMPER ASSY.,)

нет в наличии, поставок нет
27 0316487

Фиксатор, Leads (RETAINER, Leads)

нет в наличии, поставок нет
28 0314416

Бампер, Регулировочный винт (BUMPER, Adjust screw)

нет в наличии, поставок нет
29 0334218

Винт, Spark adjustment (SCREW, Spark adjustment)

нет в наличии, поставок нет
29 0316286

   (последний код) SCREW

нет в наличии, поставок нет
30 0328740

Гайка, Винт, spark adjustment (NUT, Screw, spark adjustment)

нет в наличии, поставок нет
30 0306375

   (последний код) NUT

нет в наличии, поставок нет
31 0302290

LOCKШайба (LOCKWASHER)

нет в наличии, поставок нет
31 0338307

   (последний код) WASHER,LOCK

нет в наличии, поставок нет
32 0387041

Фиксатор & иголка SET (RETAINER & NEEDLE SET)

нет в наличии, поставок нет
32 5007190

   (последний код) NEEDLE&RETAINER AY

2 шт1710 руб.
evinrude

Время выполнения запроса 0.82548093795776 сек.


 
 

данный сайт носит информационный характер и не является публичной офертой

склад запчастей для водомоторной техники