вконтакте

Контактный телефон: +7 (981) 121-46-93, +7 (800) 200-90-76 , Email: parts-katalog@yandex.ru, где купить

 
 

  Логин:

Пароль:

Регистрация

www.partskatalog.ru Все каталоги Запчасти Mercury Запчасти Suzuki Запчасти Tohatsu Запчасти Honda Контакты



УВАЖАЕМЫЕ КЛИЕНТЫ!
C 19 ДЕКАБРЯ 2025 ПО 02 МАРТА 2026 ГОДА ОТДЕЛ ЗАПЧАСТЕЙ И СЕРВИС РАБОТАТЬ НЕ БУДУТ
ПРОДАЖА ЛОДОЧНЫХ МОТОРОВ В ШТАТНОМ РЕЖИМЕ
ОБ ИЗМЕНЕНИЯХ В ГРАФИКЕ РАБОТЫ ЧИТАЙТЕ НА САЙТА




Все разделы каталога запчастей на этот двигатель

назад Раздел:   вперёд

вернуться к списку узлов и деталей

ДЕТАЛИРОВКА ДЛЯ МОДЕЛИ: EVINRUDE VE140TLENS 1992

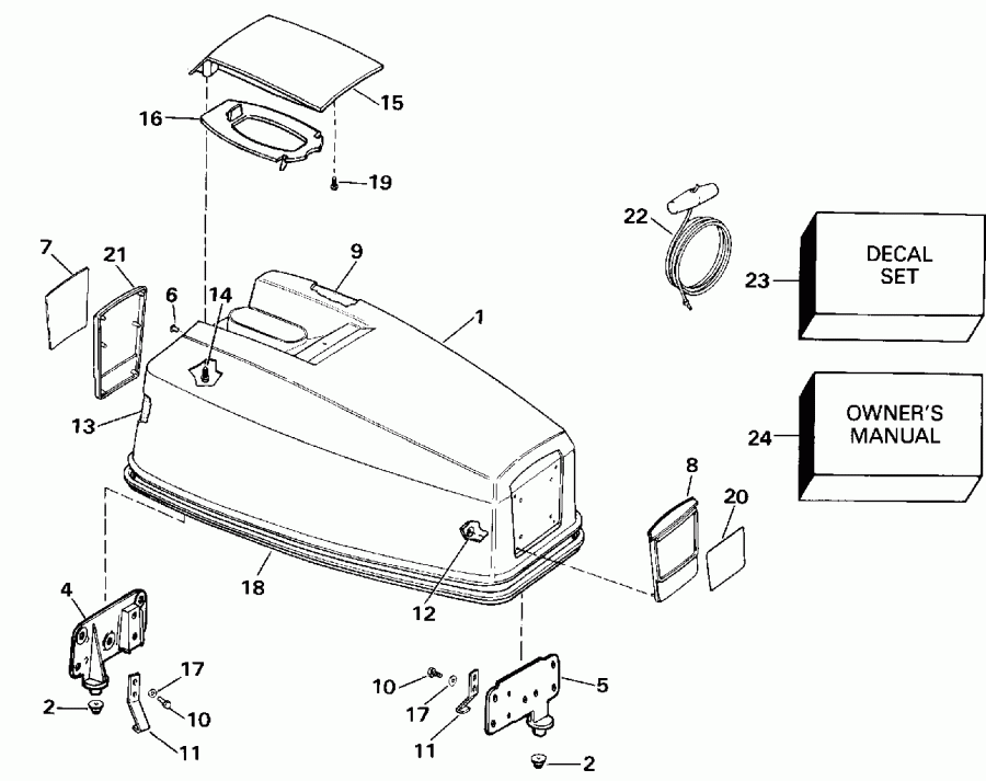
НИЖНЯЯ КРЫШКА ДВИГАТЕЛЯ | LOWER ENGINE COVER;


 Эвинруд VE140TLENS 1992  - wer Крышка двигателя (капот)

Номер на
рисунке
АртикулНаименованиеКол-во
на складе
Цена
1 0308532

Втулка, Latch Рычаг (BUSHING, Latch lever)

нет в наличии, поставок нет
1 0122475

   (последний код) BUSHING

нет в наличии, поставок нет
2 0330664

Крепёжный хомут (TIE STRAP)

нет в наличии, поставок нет
2 0907833

   (последний код) TIE STRAP 11 3/4"

нет в наличии, поставок нет
3 0323169

Крючок, Port, rear (HOOK, Port, rear)

нет в наличии, поставок нет
3 0315177

   (последний код) HOOK

нет в наличии, поставок нет
4 0323170

Крючок спереди & stbd. rear. (HOOK, Front & stbd. rear.)

нет в наличии, поставок нет
4 0315178

   (последний код) HOOK

нет в наличии, поставок нет
5 0326365

Пружина, Кабели Струбцина (SPRING, Cable clamp)

нет в наличии, поставок нет
5 0315197

   (последний код) SPRING

нет в наличии, поставок нет
6 0328584

Крепление нижнее Крышка (MOUNT, Lower cover)

нет в наличии, поставок нет
6 0349557

   (последний код) MOUNT

нет в наличии, поставок нет
7 0432782

Крышка двигателя (капот) & Сальник в сборе., Stbd. (ENGINE COVER & SEAL ASSY., Stbd.)

нет в наличии, поставок нет
7 0398798

   (последний код) COVER&SEAL AY

нет в наличии, поставок нет
8 0

Резинка капота двигателя, front, stbd., 12.5". сокращёная длина from 331018 (SEAL, Engine cover, front, stbd., 12.5". Cut to Length from 331018)

нет в наличии, поставок нет
9 0

Резинка капота двигателя, rear, нижний , 3". сокращёная длина from 331018 (SEAL, Engine cover, rear, lower, 3". Cut to Length from 331018)

нет в наличии, поставок нет
10 0

Сальник, Rear, верхний , 3". сокращёная длина from 331018 (SEAL, Rear, upper, 3". Cut to Length from 331018)

нет в наличии, поставок нет
11 0329743

Шпилька, Нижняя часть корпуса (STUD, Lower cover)

нет в наличии, поставок нет
12 0330288

Стопор пружины, Крепление, front (SPRING PIN, Mount, front)

нет в наличии, поставок нет
13 0330651

Бампер, Нижняя часть корпуса (BUMPER, Lower cover)

нет в наличии, поставок нет
14 0434758

LATCH HANDLE (LATCH HANDLE)

нет в наличии, поставок нет
15 0434390

Крышка двигателя (капот), Port (ENGINE COVER, Port)

нет в наличии, поставок нет
15 0398796

   (последний код) MTR CVR LWR

нет в наличии, поставок нет
16 0336364

Пыльник (GROMMET)

нет в наличии, поставок нет
17 0323937

Винт, Пружина to Нижняя часть корпуса (SCREW, Spring to lower cover)

нет в наличии, поставок нет
18 0328597

Винт, Нижняя часть корпуса, front (SCREW, Lower cover, front)

нет в наличии, поставок нет
19 0329750

Винт, Нижняя часть корпуса, rear, нижний (SCREW, Lower cover, rear, lower)

нет в наличии, поставок нет
20 0330978

Винт, Нижняя часть корпуса, rear, top (SCREW, Lower cover, rear, top)

нет в наличии, поставок нет
21 0330234

Пружинная шайба, Latch handle (SPRING WASHER, Latch handle)

нет в наличии, поставок нет
22 0328703

Шайба, Крючок (WASHER, Hook)

нет в наличии, поставок нет
22 3852184

   (последний код) WASHER

нет в наличии, поставок нет
23 0329749

Шайба, Крепление (WASHER, Mount)

нет в наличии, поставок нет
23 0349556

   (последний код) WASHER

нет в наличии, поставок нет
24 0320521

Пыльник, Drain Индикатор (GROMMET, Drain indicator)

нет в наличии, поставок нет
25 0331941

Пыльник тросика управленияs (GROMMET, Control cables)

нет в наличии, поставок нет
26 0333679

Пыльник, Adapter to Крышка (GROMMET, Adapter to cover)

нет в наличии, поставок нет
27 0912127

Винт, Handle to latch (SCREW, Handle to latch)

нет в наличии, поставок нет
28 0512423

Гильза, Кабель аккумулятора (SLEEVE, Battery cable)

нет в наличии, поставок нет
29 0337088

APPLIQUE (APPLIQUE)

нет в наличии, поставок нет
evinrude

Время выполнения запроса 1.525710105896 сек.


 
 

данный сайт носит информационный характер и не является публичной офертой

склад запчастей для водомоторной техники