вконтакте

Контактный телефон: +7 (981) 121-46-93, +7 (800) 200-90-76 , Email: parts-katalog@yandex.ru, где купить

 
 

  Логин:

Пароль:

Регистрация

www.partskatalog.ru Все каталоги Запчасти Mercury Запчасти Suzuki Запчасти Tohatsu Запчасти Honda Контакты


Все разделы каталога запчастей на этот двигатель

назад Раздел:   вперёд

вернуться к списку узлов и деталей

ДЕТАЛИРОВКА ДЛЯ МОДЕЛИ: EVINRUDE E30RLENR 1992

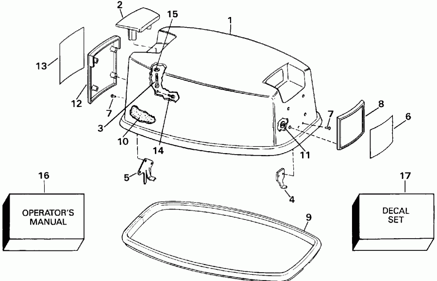
КРЫШКА ДВИГАТЕЛЯ (КАПОТ) - JOHNSON | ENGINE COVER - JOHNSON;


Подвесной двигатель Evinrude E30RLENR 1992  - Johnson

Номер на
рисунке
АртикулНаименованиеКол-во
на складе
Цена
1 0435149

Крышка двигателя (капот) в сборе.. 20CRE-20CRLE (ENGINE COVER ASSY.. 20CRE-20CRLE)

нет в наличии, поставок нет
1 5000796

   (последний код) UMC SVC AY, JO/WHT

нет в наличии, поставок нет
1 0435151

Крышка двигателя (капот) в сборе.. 25RE-25RLE (ENGINE COVER ASSY.. 25RE-25RLE)

нет в наличии, поставок нет
1 5000796

   (последний код) UMC SVC AY, JO/WHT

нет в наличии, поставок нет
1 0435154

Крышка двигателя (капот) в сборе.. 30RE-30RLE (ENGINE COVER ASSY.. 30RE-30RLE)

нет в наличии, поставок нет
1 5000796

   (последний код) UMC SVC AY, JO/WHT

нет в наличии, поставок нет
1 0435156

Крышка двигателя (капот) в сборе.. 35RE-35RLE (ENGINE COVER ASSY.. 35RE-35RLE)

нет в наличии, поставок нет
1 5000796

   (последний код) UMC SVC AY, JO/WHT

нет в наличии, поставок нет
1 0434554

Крышка двигателя (капот) в сборе.. TJ20CRLE (ENGINE COVER ASSY.. TJ20CRLE)

нет в наличии, поставок нет
1 0434818

   (последний код) MOTOR COVER

нет в наличии, поставок нет
2 0208399

Рукоятка наклона (TILT HANDLE)

нет в наличии, поставок нет
3 0330838

Винт, Рукоятка наклона (SCREW, Tilt handle)

нет в наличии, поставок нет
3 0329268

   (последний код) SCREW

нет в наличии, поставок нет
4 0207482

Крючок капота двигателя, front (HOOK, Engine cover, front)

нет в наличии, поставок нет
4 0206656

   (последний код) HOOK

нет в наличии, поставок нет
5 0329635

Крючок капота двигателя, rear (HOOK, Engine cover, rear)

нет в наличии, поставок нет
5 0316171

   (последний код) ANCHOR BLOCK

нет в наличии, поставок нет
6 0337606

Пластина, Рама, front. 20CRE-20CRLE (PLATE, Frame, front. 20CRE-20CRLE)

нет в наличии, поставок нет
6 0337610

Пластина, Рама, front. 25RE-25RLE (PLATE, Frame, front. 25RE-25RLE)

нет в наличии, поставок нет
6 0337614

Пластина, Рама, front. 30RE-30RLE (PLATE, Frame, front. 30RE-30RLE)

нет в наличии, поставок нет
6 0337618

Пластина, Рама, front. 35RE-35RLE (PLATE, Frame, front. 35RE-35RLE)

нет в наличии, поставок нет
6 0335835

Пластина, Рама, front, 20. TJ20CRLE (PLATE, Frame, front, 20. TJ20CRLE)

нет в наличии, поставок нет
7 0554355

Заклёпка (RIVET)

нет в наличии, поставок нет
7 0544355

   (последний код) RIVET

нет в наличии, поставок нет
8 0207863

Рама, Front. 20CRE-20CRLE 25RE-25RLE 30RE-30RLE 35RE-35RLE (FRAME, Front. 20CRE-20CRLE 25RE-25RLE 30RE-30RLE 35RE-35RLE)

нет в наличии, поставок нет
8 0206660

   (последний код) APPLIQUE

нет в наличии, поставок нет
8 0335032

Рама, Front. TJ20CRLE (FRAME, Front. TJ20CRLE)

нет в наличии, поставок нет
9 0316225

Резинка капота двигателя (SEAL, Engine cover)

нет в наличии, поставок нет
9 0326487

   (последний код) SEAL

нет в наличии, поставок нет
10 0211277

SOUND BLANKET, Top (SOUND BLANKET, Top)

нет в наличии, поставок нет
10 0341527

   (последний код) BLANKET,SOUND

нет в наличии, поставок нет
10 0211278

SOUND BLANKET, Port (SOUND BLANKET, Port)

нет в наличии, поставок нет
10 0341528

   (последний код) BLANKET,SOUND

нет в наличии, поставок нет
10 0211280

SOUND BLANKET, Front (SOUND BLANKET, Front)

нет в наличии, поставок нет
10 0341530

   (последний код) BLANKET,SOUND

нет в наличии, поставок нет
10 0211279

SOUND BLANKET, Stbd. (SOUND BLANKET, Stbd.)

нет в наличии, поставок нет
10 0341529

   (последний код) BLANKET,SOUND

нет в наличии, поставок нет
11 0317223

Гайка, Push-on (NUT, Push-on)

нет в наличии, поставок нет
12 0338054

Рама, Rear. 20CRE-20CRLE 25RE-25RLE 30RE-30RLE 35RE-35RLE (FRAME, Rear. 20CRE-20CRLE 25RE-25RLE 30RE-30RLE 35RE-35RLE)

нет в наличии, поставок нет
12 0335041

Рама, Rear. TJ20CRLE (FRAME, Rear. TJ20CRLE)

нет в наличии, поставок нет
13 0337607

Пластина, Рама, rear, 20. 20CRE-20CRLE (PLATE, Frame, rear, 20. 20CRE-20CRLE)

нет в наличии, поставок нет
13 0337611

Пластина, Рама, rear, 25. 25RE-25RLE (PLATE, Frame, rear, 25. 25RE-25RLE)

нет в наличии, поставок нет
13 0337615

Пластина, Рама, rear, 30. 30RE-30RLE (PLATE, Frame, rear, 30. 30RE-30RLE)

нет в наличии, поставок нет
13 0337619

Пластина, Рама, rear, 35. 35RE-35RLE (PLATE, Frame, rear, 35. 35RE-35RLE)

нет в наличии, поставок нет
13 0336672

Пластина, Рама, rear, 20. TJ20CRLE (PLATE, Frame, rear, 20. TJ20CRLE)

нет в наличии, поставок нет
14 0334528

Винт, Рама mtg., rear (SCREW, Frame mtg., rear)

нет в наличии, поставок нет
15 0202150

Шайба, Рукоятка наклона (WASHER, Tilt handle)

нет в наличии, поставок нет
16 0211810

OPERATORS ручной (OPERATORS MANUAL)

нет в наличии, поставок нет
16 8006467

   (последний код) OM211810

нет в наличии, поставок нет
17 0435616

Комплект наклеек. 20CRE-20CRLE (DECAL SET. 20CRE-20CRLE)

нет в наличии, поставок нет
17 0435617

   (последний код) DECAL AY,SET

нет в наличии, поставок нет
17 0435618

Комплект наклеек. 25RE-25RLE (DECAL SET. 25RE-25RLE)

нет в наличии, поставок нет
17 0435619

   (последний код) DECAL AY,SET

нет в наличии, поставок нет
17 0435622

Комплект наклеек. 30RE-30RLE (DECAL SET. 30RE-30RLE)

нет в наличии, поставок нет
17 0435623

Комплект наклеек. 35RE-35RLE (DECAL SET. 35RE-35RLE)

нет в наличии, поставок нет
17 0435195

Комплект наклеек. TJ20CRLE (DECAL SET. TJ20CRLE)

нет в наличии, поставок нет
evinrude

Время выполнения запроса 3.4805748462677 сек.


 
 

данный сайт носит информационный характер и не является публичной офертой

склад запчастей для водомоторной техники