вконтакте

Контактный телефон: +7 (981) 121-46-93, +7 (800) 200-90-76 , Email: parts-katalog@yandex.ru, где купить

 
 

  Логин:

Пароль:

Регистрация

www.partskatalog.ru Все каталоги Запчасти Mercury Запчасти Suzuki Запчасти Tohatsu Запчасти Honda Контакты



УВАЖАЕМЫЕ КЛИЕНТЫ!
C 19 ДЕКАБРЯ 2025 ПО 02 МАРТА 2026 ГОДА ОТДЕЛ ЗАПЧАСТЕЙ И СЕРВИС РАБОТАТЬ НЕ БУДУТ
ПРОДАЖА ЛОДОЧНЫХ МОТОРОВ В ШТАТНОМ РЕЖИМЕ
ОБ ИЗМЕНЕНИЯХ В ГРАФИКЕ РАБОТЫ ЧИТАЙТЕ НА САЙТА




Все разделы каталога запчастей на этот двигатель

назад Раздел:   вперёд

вернуться к списку узлов и деталей

ДЕТАЛИРОВКА ДЛЯ МОДЕЛИ: EVINRUDE E15EENM 1992

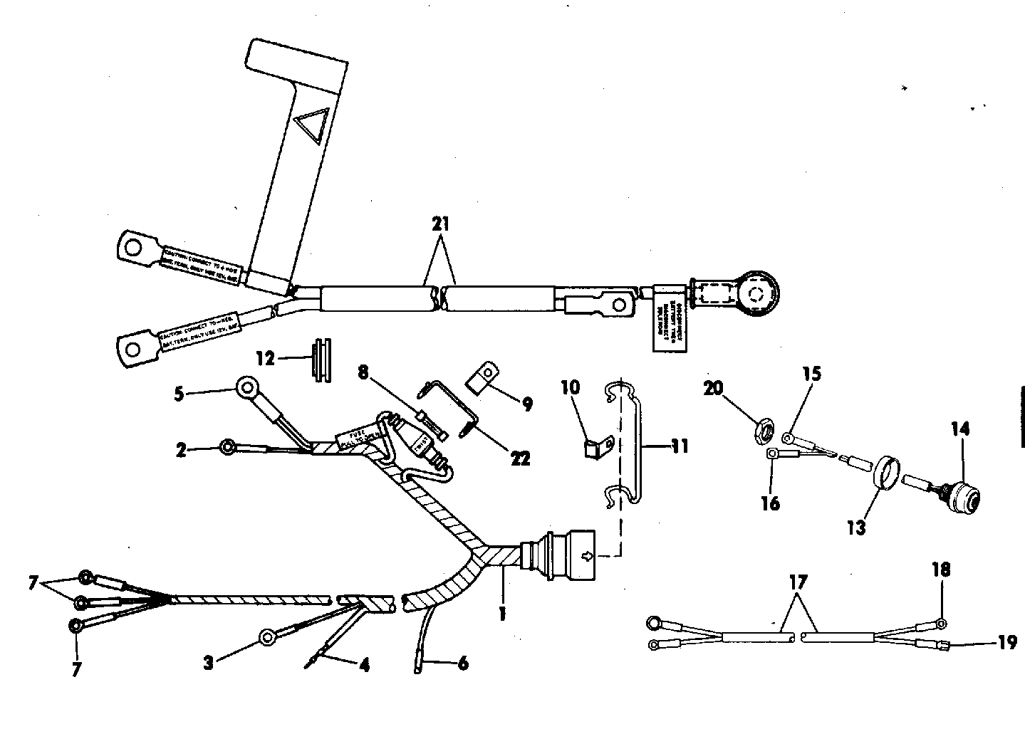
ТОПЛИВНЫЙ НАСОС - ELECTRIC START MODELS | FUEL PUMP - ELECTRIC START MODELS;


Лодочный подвесной мотор EVINRUDE E15EENM 1992  - Electric Start Models

Номер на
рисунке
АртикулНаименованиеКол-во
на складе
Цена
1 0433517

Топливный насос в сборе. (FUEL PUMP ASSY.)

нет в наличии, поставок нет
1 0438560

   (последний код) PUMP AY,FUEL

нет в наличии, поставок нет
2 0319528

Уплотнительное кольцо, Колпачок to Помпа (O-RING, Cap to pump)

нет в наличии, поставок нет
3 0312675

SCREEN, Фильтр (SCREEN, Filter)

нет в наличии, поставок нет
4 0335335

Крышка фильтра (CAP, Filter)

нет в наличии, поставок нет
5 0330061

Винт, Колпачок (SCREW, Cap)

нет в наличии, поставок нет
5 0312677

   (последний код) SCREW

нет в наличии, поставок нет
6 0332678

Диафрагма (DIAPHRAGM)

нет в наличии, поставок нет
6 0328780

   (последний код) DIAPHRAGM

нет в наличии, поставок нет
7 0324660

Уплотнительное кольцо (O-RING)

нет в наличии, поставок нет
8 0335336

FITTING, Fuel (FITTING, Fuel)

нет в наличии, поставок нет
9 0332437

Уплотнительное кольцо корпуса (O-RING, Housing)

нет в наличии, поставок нет
10 0330184

Винт, Помпа Креплениеing (SCREW, Pump mounting)

нет в наличии, поставок нет
11 0322652

Струбцина, Защелка (CLAMP, Snap)

нет в наличии, поставок нет
11 3852170

   (последний код) CLAMP,SNAP

нет в наличии, поставок нет
12 0333734

Кронштейн топливного насоса (BRACKET, Fuel pump)

нет в наличии, поставок нет
13 0320107

Крепёжный хомут, Шланг (TIE STRAP, Hose)

нет в наличии, поставок нет
13 5035626

   (последний код) BAND,REM CON

нет в наличии, поставок нет
14 0333380

Шланг, Коннектор to Помпа (HOSE, Connector to pump)

нет в наличии, поставок нет
14 0330891

   (последний код) HOSE

нет в наличии, поставок нет
15 0

Топливный шланг Помпа pulse 22 дюйм (559 мм) сокращёная длина From 333485 - 1 / 4 дюйм I.D., 25ft. (7, 6m) Roll (HOSE, Fuel pump pulse 22 in. (559mm). Cut to Length From 333485 - 1/4 in. I.D., 25ft. (7,6m) Roll)

нет в наличии, поставок нет
16 0335215

Пружина, Шланг, pulse Ниппель to Топливный насос (SPRING, Hose, pulse nipple to fuel pump)

нет в наличии, поставок нет
17 0329613

Ниппель, Топливный насос pulse (NIPPLE, Fuel pump pulse)

нет в наличии, поставок нет
18 0303107

Шайба, Pulse fitting (WASHER, Pulse fitting)

нет в наличии, поставок нет
19 0

Топливный шланг от помпы к карбюратору. сокращёная длина From 327228 - 5 / 32 дюйм I.D., 25ft (7, 6m) Roll (HOSE, Fuel pump to carb. Cut to Length From 327228 - 5/32 in. I.D., 25ft (7,6m) Roll)

нет в наличии, поставок нет
20 0433519

Топливный насос Ремонтный комплект (FUEL PUMP REPAIR KIT)

нет в наличии, поставок нет
20 0438616

   (последний код) KIT AY,F PUMP RPR

нет в наличии, поставок нет
evinrude

Время выполнения запроса 1.8590669631958 сек.


 
 

данный сайт носит информационный характер и не является публичной офертой

склад запчастей для водомоторной техники