вконтакте

Контактный телефон: +7 (981) 121-46-93, +7 (800) 200-90-76 , Email: parts-katalog@yandex.ru, где купить

 
 

  Логин:

Пароль:

Регистрация

www.partskatalog.ru Все каталоги Запчасти Mercury Запчасти Suzuki Запчасти Tohatsu Запчасти Honda Контакты



УВАЖАЕМЫЕ КЛИЕНТЫ!
C 19 ДЕКАБРЯ 2025 ПО 02 МАРТА 2026 ГОДА ОТДЕЛ ЗАПЧАСТЕЙ И СЕРВИС РАБОТАТЬ НЕ БУДУТ
ПРОДАЖА ЛОДОЧНЫХ МОТОРОВ В ШТАТНОМ РЕЖИМЕ
ОБ ИЗМЕНЕНИЯХ В ГРАФИКЕ РАБОТЫ ЧИТАЙТЕ НА САЙТА




Все разделы каталога запчастей на этот двигатель

назад Раздел:   вперёд

вернуться к списку узлов и деталей

ДЕТАЛИРОВКА ДЛЯ МОДЕЛИ: EVINRUDE E15RELENM 1992

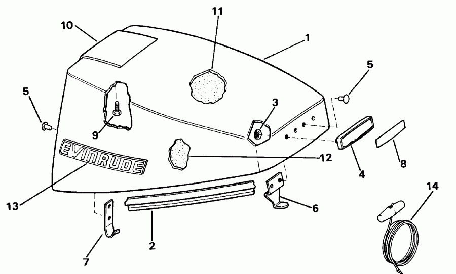
КРЫШКА ДВИГАТЕЛЯ (КАПОТ) - EVINRUDE | ENGINE COVER - EVINRUDE;


Лодочный подвесной мотор Эвинруд E15RELENM 1992  - Evinrude / Evinrude

Номер на
рисунке
АртикулНаименованиеКол-во
на складе
Цена
1 0284120

Крышка двигателя (капот) в сборе.. 9.9 Models (ENGINE COVER ASSY.. 9.9 Models)

нет в наличии, поставок нет
1 0284121

   (последний код) MTR COVER SAIL DRV

нет в наличии, поставок нет
1 0284121

Крышка двигателя (капот) в сборе.. 10SEL Models (ENGINE COVER ASSY.. 10SEL Models)

нет в наличии, поставок нет
1 0284120

   (последний код) MTR CVR 9.9HP -

нет в наличии, поставок нет
1 0284122

Крышка двигателя (капот) в сборе.. 15 Models (ENGINE COVER ASSY.. 15 Models)

нет в наличии, поставок нет
1 0283929

   (последний код) COVER AY,MOTOR-UPR

нет в наличии, поставок нет
1 0284057

Крышка двигателя (капот) в сборе.. TE Models (ENGINE COVER ASSY.. TE Models)

нет в наличии, поставок нет
1 0283835

   (последний код) COVER AY,MOTOR-UPR

нет в наличии, поставок нет
2 0331867

Резинка капота двигателя (SEAL, Engine cover)

нет в наличии, поставок нет
2 0332823

   (последний код) SEAL,MOTOR COVER

нет в наличии, поставок нет
3 0317223

Гайка, Push-on (NUT, Push-on)

нет в наличии, поставок нет
4 0211924

Рама, Front (FRAME, Front)

нет в наличии, поставок нет
4 0334864

Рама, Front. TE Models (FRAME, Front. TE Models)

нет в наличии, поставок нет
5 0318836

Заклёпка, Крючок to Крышка (RIVET, Hook to cover)

нет в наличии, поставок нет
6 0396886

Крючок спереди (Includes №5) (HOOK, Front (Includes No.5))

нет в наличии, поставок нет
7 0391124

Крючок, Rear (Includes №5) (HOOK, Rear (Includes No.5))

нет в наличии, поставок нет
7 0318881

   (последний код) HOOK

нет в наличии, поставок нет
8 0211920

Пластина, Рама, front (PLATE, Frame, front)

нет в наличии, поставок нет
8 0211353

Пластина, Рама, front (PLATE, Frame, front)

нет в наличии, поставок нет
8 0211422

Пластина, Рама, front. TE Models (PLATE, Frame, front. TE Models)

нет в наличии, поставок нет
9 0330838

Винт (SCREW)

нет в наличии, поставок нет
9 0329268

   (последний код) SCREW

нет в наличии, поставок нет
10 0331134

Рукоятка наклона (TILT HANDLE)

нет в наличии, поставок нет
11 0335597

SOUND BLANKET, Top (SOUND BLANKET, Top)

нет в наличии, поставок нет
12 0335598

SOUND BLANKET, Side (SOUND BLANKET, Side)

нет в наличии, поставок нет
14 0433824

Шнур стартера. Дистанционное управление Models (STARTER ROPE. Remote Control Models)

нет в наличии, поставок нет
0211777 0211777

OPERATORS ручной. Not Shown 10SEL Models 4-Language (Двигатель, French, Spanish, Portuguese) (OPERATORS MANUAL. Not Shown 10SEL Models 4-Language (Engine, French, Spanish, Portuguese))

нет в наличии, поставок нет
0211777 8006458

   (последний код) OM211777

нет в наличии, поставок нет
0211772 0211772

OPERATORS ручной. Not Shown 4-Language (Двигатель, French, Spanish, Portuguese) (OPERATORS MANUAL. Not Shown 4-Language (Engine, French, Spanish, Portuguese))

нет в наличии, поставок нет
0211772 8006562

   (последний код) OM212142-4L

нет в наличии, поставок нет
0211773 0211773

OPERATORS ручной. Not Shown 7-Language (Dutch, Norwegian, Swedish, German, Finnish, Italian, Danish) (OPERATORS MANUAL. Not Shown 7-Language (Dutch, Norwegian, Swedish, German, Finnish, Italian, Danish))

нет в наличии, поставок нет
0211945 0211945

OPERATORS ручной. Not Shown Дистанционное управление Models English / French Only (OPERATORS MANUAL. Not Shown Remote Control Models English/French Only)

нет в наличии, поставок нет
0211945 8006460

   (последний код) OM211945

нет в наличии, поставок нет
0211944 0211944

OPERATORS ручной. Not Shown English / French Only (OPERATORS MANUAL. Not Shown English/French Only)

нет в наличии, поставок нет
0211944 8006463

   (последний код) OM211944

нет в наличии, поставок нет
0284324 0284324

Комплект наклеек. Not Shown 9.9 Models 15 Models (DECAL SET. Not Shown 9.9 Models 15 Models)

нет в наличии, поставок нет
0284328 0284328

Комплект наклеек. Not Shown 10SEL Models (DECAL SET. Not Shown 10SEL Models)

нет в наличии, поставок нет
evinrude

Время выполнения запроса 2.5372250080109 сек.


 
 

данный сайт носит информационный характер и не является публичной офертой

склад запчастей для водомоторной техники