вконтакте

Контактный телефон: +7 (981) 121-46-93, +7 (800) 200-90-76 , Email: parts-katalog@yandex.ru, где купить

 
 

  Логин:

Пароль:

Регистрация

www.partskatalog.ru Все каталоги Запчасти Mercury Запчасти Suzuki Запчасти Tohatsu Запчасти Honda Контакты


Все разделы каталога запчастей на этот двигатель

назад Раздел:   вперёд

вернуться к списку узлов и деталей

ДЕТАЛИРОВКА ДЛЯ МОДЕЛИ: EVINRUDE E175EXEIS 1991

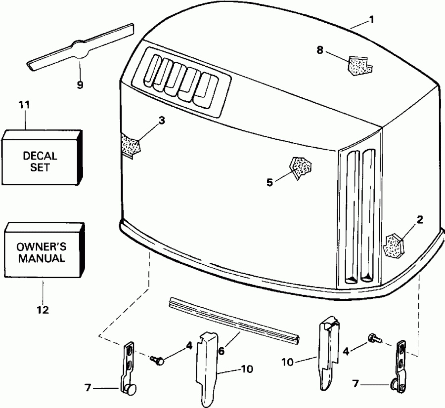
КРЫШКА ДВИГАТЕЛЯ (КАПОТ) - JOHNSON | ENGINE COVER - JOHNSON;


Мотор Evinrude E175EXEIS 1991  - Johnson / Johnson

Номер на
рисунке
АртикулНаименованиеКол-во
на складе
Цена
1 0434718

Крышка двигателя (капот) в сборе.. 150EL, EX (ENGINE COVER ASSY.. 150EL, EX)

нет в наличии, поставок нет
1 0439653

   (последний код) COVER AY,MOTOR-

нет в наличии, поставок нет
1 0434721

Крышка двигателя (капот) в сборе.. 150GL (ENGINE COVER ASSY.. 150GL)

нет в наличии, поставок нет
1 0439654

   (последний код) COVER AY,MOTOR-

нет в наличии, поставок нет
1 0434723

Крышка двигателя (капот) в сборе.. 150NX (ENGINE COVER ASSY.. 150NX)

нет в наличии, поставок нет
1 0439653

   (последний код) COVER AY,MOTOR-

нет в наличии, поставок нет
1 0434719

Крышка двигателя (капот) в сборе.. 175EX (ENGINE COVER ASSY.. 175EX)

нет в наличии, поставок нет
1 0439653

   (последний код) COVER AY,MOTOR-

нет в наличии, поставок нет
1 0434722

Крышка двигателя (капот) в сборе.. 175GL (ENGINE COVER ASSY.. 175GL)

нет в наличии, поставок нет
1 0433686

   (последний код) COVER AY,MOTOR-UPR

нет в наличии, поставок нет
1 0434720

Крышка двигателя (капот) в сборе.. 150ELA (ENGINE COVER ASSY.. 150ELA)

нет в наличии, поставок нет
1 0434471

   (последний код) COVER AY,MOTOR-UPR

нет в наличии, поставок нет
1 0434670

Крышка двигателя (капот) в сборе.. TJ150GL (ENGINE COVER ASSY.. TJ150GL)

нет в наличии, поставок нет
2 0335927

SOUND BLANKET, Front (SOUND BLANKET, Front)

нет в наличии, поставок нет
2 0341486

   (последний код) BLANKET,SOUND

нет в наличии, поставок нет
3 0335928

SOUND BLANKET, Rear (SOUND BLANKET, Rear)

нет в наличии, поставок нет
3 0341487

   (последний код) BLANKET,SOUND

нет в наличии, поставок нет
4 0328724

Винт, Крючок (SCREW, Hook)

нет в наличии, поставок нет
4 3852186

   (последний код) SCREW

нет в наличии, поставок нет
5 0335929

SOUND BLANKET, Side (SOUND BLANKET, Side)

нет в наличии, поставок нет
5 0341488

   (последний код) BLANKET,SOUND

нет в наличии, поставок нет
6 0335843

Сальник (SEAL)

нет в наличии, поставок нет
7 0433513

Крючок AY. (HOOK AY.)

нет в наличии, поставок нет
7 0435445

   (последний код) HOOK AY

нет в наличии, поставок нет
8 0335930

SOUND BLANKET, Top (SOUND BLANKET, Top)

нет в наличии, поставок нет
8 0341490

   (последний код) BLANKET,SOUND

нет в наличии, поставок нет
9 0336176

APPLIQUE, Counter rotating (APPLIQUE, Counter rotating)

нет в наличии, поставок нет
9 0336817

APPLIQUE. TJ150GL (APPLIQUE. TJ150GL)

нет в наличии, поставок нет
10 0336748

Крышка, Крючок ay. (COVER, Hook ay.)

нет в наличии, поставок нет
11 0435245

Комплект наклеек. 150EL, EX 150NX (DECAL SET. 150EL, EX 150NX)

нет в наличии, поставок нет
11 0435246

Комплект наклеек. 150GL 150ELA (DECAL SET. 150GL 150ELA)

нет в наличии, поставок нет
11 0435247

Комплект наклеек. TJ150GL (DECAL SET. TJ150GL)

нет в наличии, поставок нет
11 0435248

Комплект наклеек. 175EX (DECAL SET. 175EX)

нет в наличии, поставок нет
11 0435249

Комплект наклеек. 175GL (DECAL SET. 175GL)

нет в наличии, поставок нет
12 0434038

OWNERS ручной (OWNERS MANUAL)

нет в наличии, поставок нет
12 8011919

   (последний код) OMEAGLE 434038

нет в наличии, поставок нет
evinrude

Время выполнения запроса 1.9421579837799 сек.


 
 

данный сайт носит информационный характер и не является публичной офертой

склад запчастей для водомоторной техники