вконтакте

Контактный телефон: +7 (981) 121-46-93, +7 (800) 200-90-76 , Email: parts-katalog@yandex.ru, где купить

 
 

  Логин:

Пароль:

Регистрация

www.partskatalog.ru Все каталоги Запчасти Mercury Запчасти Suzuki Запчасти Tohatsu Запчасти Honda Контакты


Все разделы каталога запчастей на этот двигатель

назад Раздел:   вперёд

вернуться к списку узлов и деталей

ДЕТАЛИРОВКА ДЛЯ МОДЕЛИ: EVINRUDE E100WTLEIB 1991

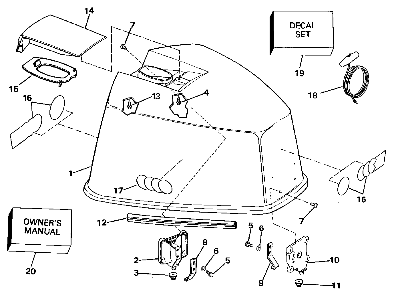
КРЫШКА ДВИГАТЕЛЯ (КАПОТ) | ENGINE COVER;


Двигатель Evinrude E100WTLEIB 1991  - gine Крышка - gine Cover

Номер на
рисунке
АртикулНаименованиеКол-во
на складе
Цена
1 0432957

Крышка двигателя (капот) в сборе., Johnson (ENGINE COVER ASSY., Johnson)

нет в наличии, поставок нет
1 0431809

   (последний код) MOTOR-COVER

нет в наличии, поставок нет
1 0283712

Крышка двигателя (капот) в сборе., Evinrude (ENGINE COVER ASSY., Evinrude)

нет в наличии, поставок нет
2 0394976

LOCATING Кронштейн, Rear (LOCATING BRACKET, Rear)

нет в наличии, поставок нет
2 0389972

   (последний код) BRKT & BUMPR AY

нет в наличии, поставок нет
3 0324898

Бампер, Locating Кронштейн (BUMPER, Locating bracket)

нет в наличии, поставок нет
4 0323229

Винт, Рукоятка наклона, front (SCREW, Tilt handle, front)

нет в наличии, поставок нет
5 0319137

Винт, Крючок (SCREW, Hook)

нет в наличии, поставок нет
6 0306407

Шайба, Крючок (WASHER, Hook)

нет в наличии, поставок нет
6 3852059

   (последний код) WASHER

нет в наличии, поставок нет
7 0326948

Заклёпка, Locating Кронштейн (RIVET, Locating bracket)

нет в наличии, поставок нет
7 0331881

   (последний код) RIVET

нет в наличии, поставок нет
8 0323176

Крючок, Rear Крышка (HOOK, Rear cover)

нет в наличии, поставок нет
8 0315191

   (последний код) HOOK

нет в наличии, поставок нет
9 0323175

Крючок капота двигателя, front (HOOK, Engine cover, front)

нет в наличии, поставок нет
9 0315199

   (последний код) HOOK

нет в наличии, поставок нет
10 0389971

LOCATING Кронштейн, Front (LOCATING BRACKET, Front)

нет в наличии, поставок нет
10 0207513

   (последний код) BRACKET

нет в наличии, поставок нет
11 0324898

Бампер, Locating Кронштейн (BUMPER, Locating bracket)

нет в наличии, поставок нет
12 0329548

Резинка капота двигателя (SEAL, Engine cover)

нет в наличии, поставок нет
12 0910916

   (последний код) SEAL

нет в наличии, поставок нет
13 0323228

Винт, Рукоятка наклона, rear (SCREW, Tilt handle, rear)

нет в наличии, поставок нет
14 0208208

Рукоятка наклона (TILT HANDLE)

нет в наличии, поставок нет
15 0210296

AIR вход BAFFLE (AIR INLET BAFFLE)

нет в наличии, поставок нет
16 0211023

APPLIQUE, Front & rear, Evinrude (APPLIQUE, Front & rear, Evinrude)

нет в наличии, поставок нет
16 0334008

APPLIQUE, Front & rear, Johnson (APPLIQUE, Front & rear, Johnson)

нет в наличии, поставок нет
17 0334007

APPLIQUE, Sides, Johnson (APPLIQUE, Sides, Johnson)

нет в наличии, поставок нет
18 0378347

Шнур стартера (STARTER ROPE)

нет в наличии, поставок нет
19 0432997

Комплект наклеек, Johnson (DECAL SET, Johnson)

нет в наличии, поставок нет
19 0435636

   (последний код) DECAL AY,SET

нет в наличии, поставок нет
19 0283716

Комплект наклеек, Evinrude (DECAL SET, Evinrude)

нет в наличии, поставок нет
20 0434342

OWNERS ручной, Johnson (OWNERS MANUAL, Johnson)

нет в наличии, поставок нет
20 0434339

   (последний код) OM90-115--4L91

нет в наличии, поставок нет
20 0211651

OWNERS ручной, Evinrude (OWNERS MANUAL, Evinrude)

нет в наличии, поставок нет
evinrude

Время выполнения запроса 5.3981220722198 сек.


 
 

данный сайт носит информационный характер и не является публичной офертой

склад запчастей для водомоторной техники