вконтакте

Контактный телефон: +7 (981) 121-46-93, +7 (800) 200-90-76 , Email: parts-katalog@yandex.ru, где купить

 
 

  Логин:

Пароль:

Регистрация

www.partskatalog.ru Все каталоги Запчасти Mercury Запчасти Suzuki Запчасти Tohatsu Запчасти Honda Контакты



УВАЖАЕМЫЕ КЛИЕНТЫ!
C 19 ДЕКАБРЯ 2025 ПО 02 МАРТА 2026 ГОДА ОТДЕЛ ЗАПЧАСТЕЙ И СЕРВИС РАБОТАТЬ НЕ БУДУТ
ПРОДАЖА ЛОДОЧНЫХ МОТОРОВ В ШТАТНОМ РЕЖИМЕ
ОБ ИЗМЕНЕНИЯХ В ГРАФИКЕ РАБОТЫ ЧИТАЙТЕ НА САЙТА




Все разделы каталога запчастей на этот двигатель

назад Раздел:   вперёд

вернуться к списку узлов и деталей

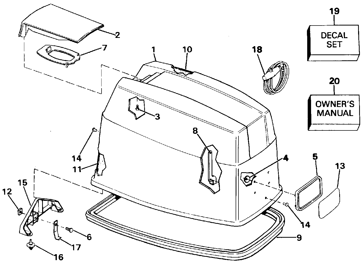
ДЕТАЛИРОВКА ДЛЯ МОДЕЛИ: EVINRUDE E60ELEIB 1991

КРЫШКА ДВИГАТЕЛЯ (КАПОТ) - JOHNSON | ENGINE COVER - JOHNSON;


Мотор EVINRUDE E60ELEIB 1991  - Johnson

Номер на
рисунке
АртикулНаименованиеКол-во
на складе
Цена
1 0434557

Крышка двигателя (капот) ASSEMBLY. TJ60 Model Only (ENGINE COVER ASSEMBLY. TJ60 Model Only)

нет в наличии, поставок нет
1 0433855

   (последний код) COVER AY,MOTOR-UPR

нет в наличии, поставок нет
1 0433932

Крышка двигателя (капот) ASSEMBLY, 60 (ENGINE COVER ASSEMBLY, 60)

нет в наличии, поставок нет
1 0433931

Крышка двигателя (капот) ASSEMBLY, 70 (ENGINE COVER ASSEMBLY, 70)

нет в наличии, поставок нет
2 0208208

Рукоятка наклона (TILT HANDLE)

нет в наличии, поставок нет
3 0323228

Винт, Рукоятка наклона, rear (SCREW, Tilt handle, rear)

нет в наличии, поставок нет
3 0323229

Винт, Рукоятка наклона, front (SCREW, Tilt handle, front)

нет в наличии, поставок нет
4 0317223

Защелка (FASTENER)

нет в наличии, поставок нет
5 0335034

APPLIQUE, Front. TJ60 Model Only (APPLIQUE, Front. TJ60 Model Only)

нет в наличии, поставок нет
6 0307029

Винт, Крючок Креплениеing (SCREW, Hook mounting)

нет в наличии, поставок нет
7 0210296

BAFFLE, Рукоятка наклона (BAFFLE, Tilt handle)

нет в наличии, поставок нет
8 0208243

Крючок спереди (HOOK, Front)

нет в наличии, поставок нет
8 0206510

   (последний код) MTR CVR HOOK

нет в наличии, поставок нет
9 0329273

Резинка капота двигателя (SEAL, Engine cover)

нет в наличии, поставок нет
9 0315985

   (последний код) MTR CVR SEAL

нет в наличии, поставок нет
10 0329506

SOUND BLANKET, Top (SOUND BLANKET, Top)

нет в наличии, поставок нет
10 0341537

   (последний код) BLANKET,SOUND

нет в наличии, поставок нет
11 0320611

SOUND BLANKET, Side (SOUND BLANKET, Side)

нет в наличии, поставок нет
11 0341536

   (последний код) BLANKET,SOUND

нет в наличии, поставок нет
12 0203688

Гайка (NUT)

нет в наличии, поставок нет
12 0328710

   (последний код) NUT-SCREW-ID

нет в наличии, поставок нет
13 0335058

Пластина, Front. TJ60 Model Only (PLATE, Front. TJ60 Model Only)

нет в наличии, поставок нет
14 0326948

Заклёпка, Кронштейн to Крышка (RIVET, Bracket to cover)

нет в наличии, поставок нет
14 0331881

   (последний код) RIVET

нет в наличии, поставок нет
15 0210213

LOCATING Кронштейн (LOCATING BRACKET)

нет в наличии, поставок нет
15 0206128

   (последний код) BRACKET

нет в наличии, поставок нет
16 0313984

Бампер, Кронштейн (BUMPER, Bracket)

нет в наличии, поставок нет
17 0323234

Крючок, Rear (HOOK, Rear)

нет в наличии, поставок нет
17 0206129

   (последний код) HOOK

нет в наличии, поставок нет
18 0378347

Шнур, Emergency start (ROPE, Emergency start)

нет в наличии, поставок нет
19 0435347

Комплект наклеек, 60 Models (DECAL SET, 60 Models)

нет в наличии, поставок нет
19 0435348

Комплект наклеек. TJ60 Model Only (DECAL SET. TJ60 Model Only)

нет в наличии, поставок нет
19 0435349

Комплект наклеек, 70 Models (DECAL SET, 70 Models)

нет в наличии, поставок нет
20 0434336

OWNERS ручной. 4-Language Ownerft.s ручной (English, French, Spanish & Portuguese) (OWNERS MANUAL. 4-Language Ownerft.s Manual (English, French, Spanish & Portuguese))

нет в наличии, поставок нет
20 8011910

   (последний код) OM60/70 434336

нет в наличии, поставок нет
20 0434337

OWNERS ручной. 7-Language Ownerft.s ручной (German, Italian, Dutch, Swedish, Finnish, Danish & Norwegian) (OWNERS MANUAL. 7-Language Ownerft.s Manual (German, Italian, Dutch, Swedish, Finnish, Danish & Norwegian))

нет в наличии, поставок нет
20 8011911

   (последний код) OM60/70 434337

нет в наличии, поставок нет
evinrude

Время выполнения запроса 11.280869007111 сек.


 
 

данный сайт носит информационный характер и не является публичной офертой

склад запчастей для водомоторной техники