вконтакте

Контактный телефон: +7 (981) 121-46-93, +7 (800) 200-90-76 , Email: parts-katalog@yandex.ru, где купить

 
 

  Логин:

Пароль:

Регистрация

www.partskatalog.ru Все каталоги Запчасти Mercury Запчасти Suzuki Запчасти Tohatsu Запчасти Honda Контакты



УВАЖАЕМЫЕ КЛИЕНТЫ!
C 19 ДЕКАБРЯ 2025 ПО 02 МАРТА 2026 ГОДА ОТДЕЛ ЗАПЧАСТЕЙ И СЕРВИС РАБОТАТЬ НЕ БУДУТ
ПРОДАЖА ЛОДОЧНЫХ МОТОРОВ В ШТАТНОМ РЕЖИМЕ
ОБ ИЗМЕНЕНИЯХ В ГРАФИКЕ РАБОТЫ ЧИТАЙТЕ НА САЙТА




Все разделы каталога запчастей на этот двигатель

назад Раздел:   вперёд

вернуться к списку узлов и деталей

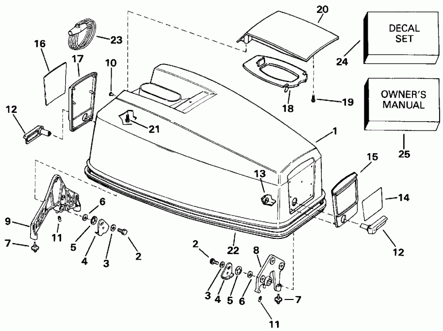
ДЕТАЛИРОВКА ДЛЯ МОДЕЛИ: EVINRUDE E45WMLEIA 1991

КРЫШКА ДВИГАТЕЛЯ (КАПОТ) - EVINRUDE ELECTRIC START MODELS | ENGINE COVER - EVINRUDE ELECTRIC START MODELS &NB;


Лодочный мотор Эвинруд E45WMLEIA 1991  - Evinrude Electric Start Models / Evinrude Electric Start Models

Номер на
рисунке
АртикулНаименованиеКол-во
на складе
Цена
1 0283735

Крышка двигателя (капот) ASSEMBLY., 45 Ev. (ENGINE COVER ASSEMBLY., 45 Ev.)

нет в наличии, поставок нет
2 0912127

Винт, Крючок (SCREW, Hook)

нет в наличии, поставок нет
3 0328703

Шайба, Винт Крючок (WASHER, Screw hook)

нет в наличии, поставок нет
3 3852184

   (последний код) WASHER

нет в наличии, поставок нет
4 0330252

Крючок спереди и rear Крышка (HOOK, Front and rear cover)

нет в наличии, поставок нет
4 0323236

   (последний код) HOOK-MTR-CVR

нет в наличии, поставок нет
5 0553766

BOW Шайба (BOW WASHER)

нет в наличии, поставок нет
5 0123886

   (последний код) SPRING-WASHE

нет в наличии, поставок нет
6 0321863

Шайба, Latch (WASHER, Latch)

нет в наличии, поставок нет
7 0315159

Бампер, Locating Кронштейнs (BUMPER, Locating brackets)

нет в наличии, поставок нет
8 0210510

LOCATING Кронштейн, Front (LOCATING BRACKET, Front)

нет в наличии, поставок нет
9 0210509

LOCATING Кронштейн, Rear (LOCATING BRACKET, Rear)

нет в наличии, поставок нет
10 0326948

Заклёпка, Locating Кронштейнs (RIVET, Locating brackets)

нет в наличии, поставок нет
10 0331881

   (последний код) RIVET

нет в наличии, поставок нет
11 0313607

FITTING, Lube (FITTING, Lube)

нет в наличии, поставок нет
11 3852121

   (последний код) FITTING,LUB

нет в наличии, поставок нет
12 0396608

HANDLE & Вал в сборе (HANDLE & SHAFT ASSY)

нет в наличии, поставок нет
12 0283130

   (последний код) LATCH-HANDLE

нет в наличии, поставок нет
13 0317223

Гайка, Push-on (NUT, Push-on)

нет в наличии, поставок нет
14 0211486

Пластина, Рама, front (PLATE, Frame, front)

нет в наличии, поставок нет
15 0335043

Рама, Front (FRAME, Front)

нет в наличии, поставок нет
16 0211487

Пластина, Applique, rear (PLATE, Applique, rear)

нет в наличии, поставок нет
17 0335044

Рама, Rear (FRAME, Rear)

нет в наличии, поставок нет
18 0210296

BAFFLE, Air вход (BAFFLE, Air inlet)

нет в наличии, поставок нет
19 0323229

Винт, Рукоятка наклона, front (SCREW, Tilt handle, front)

нет в наличии, поставок нет
20 0208181

Рукоятка наклона (TILT HANDLE)

нет в наличии, поставок нет
21 0323228

Винт, Рукоятка наклона, rear (SCREW, Tilt handle, rear)

нет в наличии, поставок нет
22 0332241

Резинка капота двигателя, верхний (SEAL, Engine cover, upper)

нет в наличии, поставок нет
22 0325322

   (последний код) SEAL,MOTOR COVER

нет в наличии, поставок нет
23 0378347

Шнур стартера (STARTER ROPE)

нет в наличии, поставок нет
24 0283880

Комплект наклеек (DECAL SET)

нет в наличии, поставок нет
25 0211670

OWNERS ручной (OWNERS MANUAL)

нет в наличии, поставок нет
evinrude

Время выполнения запроса 1.3824989795685 сек.


 
 

данный сайт носит информационный характер и не является публичной офертой

склад запчастей для водомоторной техники