вконтакте

Контактный телефон: +7 (981) 121-46-93, +7 (800) 200-90-76 , Email: parts-katalog@yandex.ru, где купить

 
 

  Логин:

Пароль:

Регистрация

www.partskatalog.ru Все каталоги Запчасти Mercury Запчасти Suzuki Запчасти Tohatsu Запчасти Honda Контакты


Все разделы каталога запчастей на этот двигатель

назад Раздел:   вперёд

вернуться к списку узлов и деталей

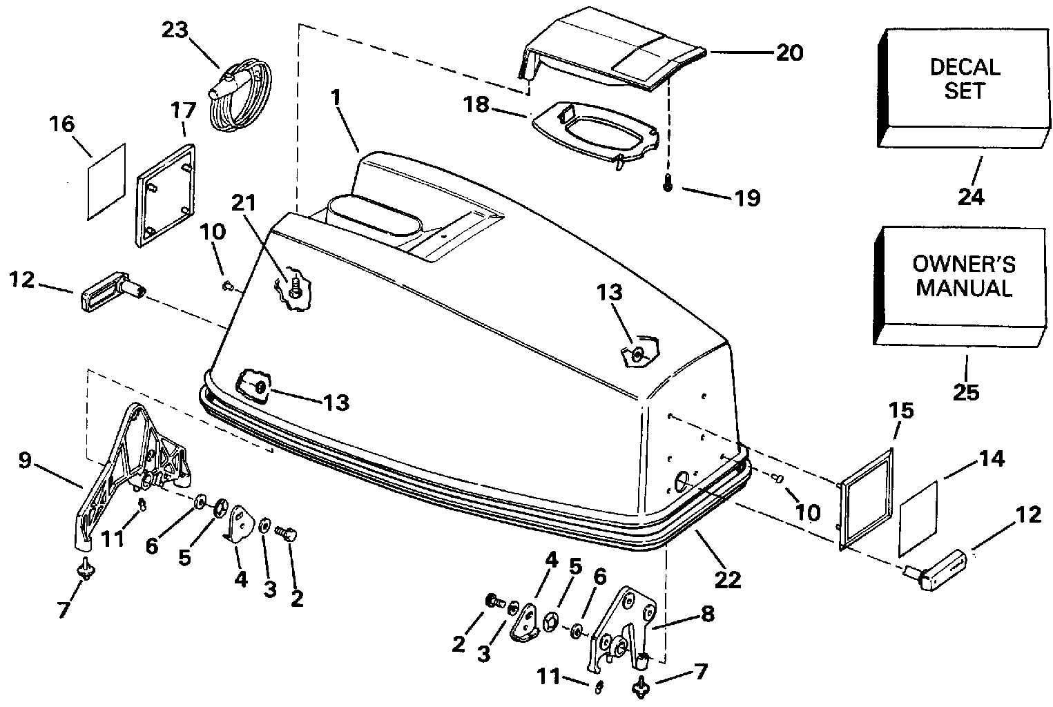
ДЕТАЛИРОВКА ДЛЯ МОДЕЛИ: EVINRUDE E45WMLEIA 1991

КРЫШКА ДВИГАТЕЛЯ (КАПОТ) - JOHNSON ELECTRIC START MODELS | ENGINE COVER - JOHNSON ELECTRIC START MODELS  


Подвесной двигатель Evinrude E45WMLEIA 1991  - Johnson Electric Start Models - Johnson Electric Start Models

Номер на
рисунке
АртикулНаименованиеКол-во
на складе
Цена
1 0433050

Крышка двигателя (капот) в сборе., 45 Jo. (ENGINE COVER ASSY., 45 Jo.)

нет в наличии, поставок нет
2 0912127

Винт, Крючок to handle (SCREW, Hook to handle)

нет в наличии, поставок нет
3 0328703

Шайба, Крючок to handle (WASHER, Hook to handle)

нет в наличии, поставок нет
3 3852184

   (последний код) WASHER

нет в наличии, поставок нет
4 0330252

Крючок, Latch handle (HOOK, Latch handle)

нет в наличии, поставок нет
4 0323236

   (последний код) HOOK-MTR-CVR

нет в наличии, поставок нет
5 0553766

Шайба, Locating Кронштейн (WASHER, Locating bracket)

нет в наличии, поставок нет
5 0123886

   (последний код) SPRING-WASHE

нет в наличии, поставок нет
6 0321863

Шайба, Latch handle (WASHER, Latch handle)

нет в наличии, поставок нет
7 0315159

Бампер, Locating Кронштейн (BUMPER, Locating bracket)

нет в наличии, поставок нет
8 0210510

LOCATING Кронштейн, Front (LOCATING BRACKET, Front)

нет в наличии, поставок нет
9 0210509

LOCATING Кронштейн, Rear (LOCATING BRACKET, Rear)

нет в наличии, поставок нет
10 0326948

Заклёпка, Locating Кронштейнs (RIVET, Locating brackets)

нет в наличии, поставок нет
10 0331881

   (последний код) RIVET

нет в наличии, поставок нет
11 0313607

FITTING, Lube (FITTING, Lube)

нет в наличии, поставок нет
11 3852121

   (последний код) FITTING,LUB

нет в наличии, поставок нет
12 0396608

HANDLE & Вал в сборе. (HANDLE & SHAFT ASSY.)

нет в наличии, поставок нет
12 0283130

   (последний код) LATCH-HANDLE

нет в наличии, поставок нет
13 0317223

Гайка, Push-on (NUT, Push-on)

нет в наличии, поставок нет
14 0335198

Пластина, Рама, front (PLATE, Frame, front)

нет в наличии, поставок нет
15 0335043

Рама, Front (FRAME, Front)

нет в наличии, поставок нет
16 0335199

Пластина, Рама, rear (PLATE, Frame, rear)

нет в наличии, поставок нет
17 0335044

Рама, Rear (FRAME, Rear)

нет в наличии, поставок нет
18 0210296

BAFFLE Air вход (BAFFLE Air inlet)

нет в наличии, поставок нет
19 0323229

Винт, Рукоятка наклона, front (SCREW, Tilt handle, front)

нет в наличии, поставок нет
20 0208181

Рукоятка наклона (TILT HANDLE)

нет в наличии, поставок нет
21 0323228

Винт, Рукоятка наклона, rear (SCREW, Tilt handle, rear)

нет в наличии, поставок нет
22 0332241

Резинка капота двигателя (SEAL, Engine cover)

нет в наличии, поставок нет
22 0325322

   (последний код) SEAL,MOTOR COVER

нет в наличии, поставок нет
23 0378347

Шнур стартера (STARTER ROPE)

нет в наличии, поставок нет
24 0433353

Комплект наклеек (DECAL SET)

нет в наличии, поставок нет
25 0434409

OWNERS ручной (OWNERS MANUAL)

нет в наличии, поставок нет
evinrude

Время выполнения запроса 1.5177841186523 сек.


 
 

данный сайт носит информационный характер и не является публичной офертой

склад запчастей для водомоторной техники