вконтакте

Контактный телефон: +7 (981) 121-46-93, +7 (800) 200-90-76 , Email: parts-katalog@yandex.ru, где купить

 
 

  Логин:

Пароль:

Регистрация

www.partskatalog.ru Все каталоги Запчасти Mercury Запчасти Suzuki Запчасти Tohatsu Запчасти Honda Контакты


Все разделы каталога запчастей на этот двигатель

назад Раздел:   вперёд

вернуться к списку узлов и деталей

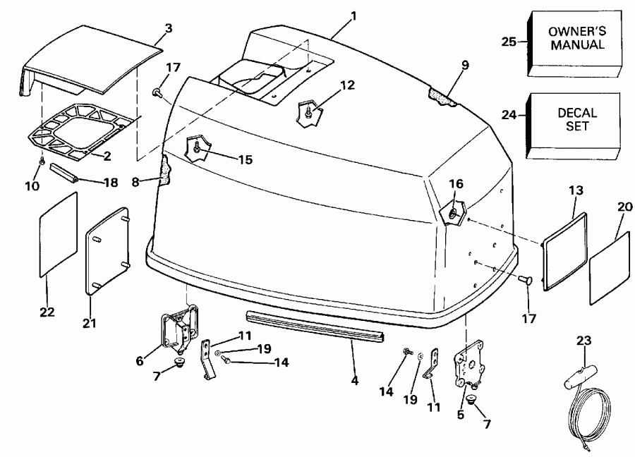
ДЕТАЛИРОВКА ДЛЯ МОДЕЛИ: EVINRUDE VE120TLESB 1990

КРЫШКА ДВИГАТЕЛЯ (КАПОТ) - JOHNSON | ENGINE COVER - JOHNSON;


Подвесной лодочный мотор EVINRUDE VE120TLESB 1990  - Johnson / Johnson

Номер на
рисунке
АртикулНаименованиеКол-во
на складе
Цена
1 0432575

Крышка двигателя (капот) в сборе., 120. Metallic Gray Крышка двигателя (капот) (ENGINE COVER ASSY., 120. Metallic Gray Engine Cover)

нет в наличии, поставок нет
1 0432465

Крышка двигателя (капот) в сборе., 120. белый Крышка двигателя (капот) (ENGINE COVER ASSY., 120. White Engine Cover)

нет в наличии, поставок нет
1 0422462

Крышка двигателя (капот) в сборе., 140. 140 обратное вращение Only (ENGINE COVER ASSY., 140. 140 Counter Rotation Only)

нет в наличии, поставок нет
1 0432576

Крышка двигателя (капот) в сборе., 140. Metallic Gray Крышка двигателя (капот) (ENGINE COVER ASSY., 140. Metallic Gray Engine Cover)

нет в наличии, поставок нет
1 0432461

Крышка двигателя (капот) в сборе., 140. белый Крышка двигателя (капот) (ENGINE COVER ASSY., 140. White Engine Cover)

нет в наличии, поставок нет
2 0331942

BAFFLE, Рукоятка наклона (BAFFLE, Tilt handle)

нет в наличии, поставок нет
2 0328670

   (последний код) BAFFLE

нет в наличии, поставок нет
3 0328671

Рукоятка наклона (TILT HANDLE)

нет в наличии, поставок нет
4 0912032

Резинка капота двигателя (SEAL, Engine cover)

нет в наличии, поставок нет
4 0330731

   (последний код) SEAL,MOTOR COVER

нет в наличии, поставок нет
5 0329762

LOCATING BRKT., Front (LOCATING BRKT., Front)

нет в наличии, поставок нет
6 0394976

LOCATING BRKT., Rear (LOCATING BRKT., Rear)

нет в наличии, поставок нет
6 0389972

   (последний код) BRKT & BUMPR AY

нет в наличии, поставок нет
7 0324898

Бампер, Locating brkts. (BUMPER, Locating brkts.)

нет в наличии, поставок нет
8 0328668

SOUND BLANKET, Side (SOUND BLANKET, Side)

нет в наличии, поставок нет
8 0341539

   (последний код) BLANKET,SOUN

нет в наличии, поставок нет
9 0328667

SOUND BLANKET, Top (SOUND BLANKET, Top)

нет в наличии, поставок нет
9 0341538

   (последний код) BLANKET,SOUN

нет в наличии, поставок нет
10 0323937

Винт, Baffle to Рукоятка наклона (SCREW, Baffle to tilt handle)

нет в наличии, поставок нет
11 0323176

Крючок капота двигателя (HOOK, Engine cover)

нет в наличии, поставок нет
11 0315191

   (последний код) HOOK

нет в наличии, поставок нет
12 0323229

Винт, Рукоятка наклона, front (SCREW, Tilt handle, front)

нет в наличии, поставок нет
13 0331576

APPLIQUE, Front. Metallic Gray Крышка двигателя (капот) (APPLIQUE, Front. Metallic Gray Engine Cover)

нет в наличии, поставок нет
13 0331006

APPLIQUE, Front. белый Крышка двигателя (капот) (APPLIQUE, Front. White Engine Cover)

нет в наличии, поставок нет
14 0319137

Винт, Крючок (SCREW, Hook)

нет в наличии, поставок нет
15 0323228

Винт, Рукоятка наклона, rear (SCREW, Tilt handle, rear)

нет в наличии, поставок нет
16 0317223

Защелка, Applique (FASTENER, Applique)

нет в наличии, поставок нет
17 0326948

Заклёпка, Locating Кронштейн (RIVET, Locating bracket)

нет в наличии, поставок нет
17 0331881

   (последний код) RIVET

нет в наличии, поставок нет
18 0328669

Сальник Baffle to Рукоятка наклона (SEAL Baffle to tilt handle)

нет в наличии, поставок нет
18 0210187

   (последний код) SEAL,MOTOR COVER

нет в наличии, поставок нет
19 0328703

Шайба, Винт (WASHER, Screw)

нет в наличии, поставок нет
19 3852184

   (последний код) WASHER

нет в наличии, поставок нет
20 0334561

Пластина, Applique, front. 140 обратное вращение Only (PLATE, Applique, front. 140 Counter Rotation Only)

нет в наличии, поставок нет
20 0334559

Пластина, Applique, front (PLATE, Applique, front)

нет в наличии, поставок нет
21 0331576

APPLIQUE, Крышка двигателя (капот), rear (APPLIQUE, Engine cover, rear)

нет в наличии, поставок нет
22 0334566

Пластина, Rear, 120 (PLATE, Rear, 120)

нет в наличии, поставок нет
22 0334562

Пластина, Rear, 140. 140 обратное вращение Only (PLATE, Rear, 140. 140 Counter Rotation Only)

нет в наличии, поставок нет
22 0334560

Пластина, Rear, 140 (PLATE, Rear, 140)

нет в наличии, поставок нет
23 0378347

Шнур стартера (STARTER ROPE)

нет в наличии, поставок нет
24 0433151

Комплект наклеек, 120 (DECAL SET, 120)

нет в наличии, поставок нет
24 0433150

Комплект наклеек, 140 (DECAL SET, 140)

нет в наличии, поставок нет
25 0433163

OWNERS ручной. 4 - Language ручной (OWNERS MANUAL. 4 - Language Manual)

нет в наличии, поставок нет
25 8011873

   (последний код) OM LV 4L.433163

нет в наличии, поставок нет
25 0433164

OWNERS ручной. 7 - Language ручной (OWNERS MANUAL. 7 - Language Manual)

нет в наличии, поставок нет
25 0432383

OWNERS ручной. 140 обратное вращение Only (OWNERS MANUAL. 140 Counter Rotation Only)

нет в наличии, поставок нет
25 8011826

   (последний код) OM LOOP CO.RO89

нет в наличии, поставок нет
25 0433166

OWNERS ручной. English / French ручной (OWNERS MANUAL. English/French Manual)

нет в наличии, поставок нет
evinrude

Время выполнения запроса 1.9633491039276 сек.


 
 

данный сайт носит информационный характер и не является публичной офертой

склад запчастей для водомоторной техники