вконтакте

Контактный телефон: +7 (981) 121-46-93, +7 (800) 200-90-76 , Email: parts-katalog@yandex.ru, где купить

 
 

  Логин:

Пароль:

Регистрация

www.partskatalog.ru Все каталоги Запчасти Mercury Запчасти Suzuki Запчасти Tohatsu Запчасти Honda Контакты


Все разделы каталога запчастей на этот двигатель

назад Раздел:   вперёд

вернуться к списку узлов и деталей

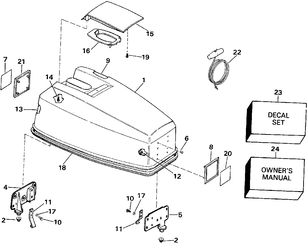
ДЕТАЛИРОВКА ДЛЯ МОДЕЛИ: EVINRUDE VE50TLESR 1990

КРЫШКА ДВИГАТЕЛЯ (КАПОТ) - JOHNSON 50 | ENGINE COVER - JOHNSON 50;


Подвесной лодочный мотор Evinrude VE50TLESR 1990  - Johnson 50 - Johnson 50

Номер на
рисунке
АртикулНаименованиеКол-во
на складе
Цена
1 0433663

Крышка двигателя (капот) в сборе.. 50BE - 50BEL - 50TL 50TEL (ENGINE COVER ASSY.. 50BE - 50BEL - 50TL 50TEL)

нет в наличии, поставок нет
1 0439929

   (последний код) COVER AY,MOTOR-UPR

нет в наличии, поставок нет
1 0433689

Крышка двигателя (капот) в сборе.. TJ50TL (ENGINE COVER ASSY.. TJ50TL)

нет в наличии, поставок нет
1 5000736

   (последний код) COVER AY,MOTOR-

нет в наличии, поставок нет
2 0334432

Бампер, Locating Кронштейн (BUMPER, Locating bracket)

нет в наличии, поставок нет
4 0333939

LOCATING Кронштейн, Rear (LOCATING BRACKET, Rear)

нет в наличии, поставок нет
5 0333938

LOCATING Кронштейн Front (LOCATING BRACKET Front)

нет в наличии, поставок нет
6 0326948

Заклёпка, Locating Кронштейн (RIVET, Locating bracket)

нет в наличии, поставок нет
6 0331881

   (последний код) RIVET

нет в наличии, поставок нет
7 0334418

Пластина, Rear. 50BE - 50BEL - 50TL 50TEL (PLATE, Rear. 50BE - 50BEL - 50TL 50TEL)

нет в наличии, поставок нет
7 0335756

Пластина, Rear. TJ50TL (PLATE, Rear. TJ50TL)

нет в наличии, поставок нет
8 0334236

Рама, Front. 50BE - 50BEL - 50TL 50TEL (FRAME, Front. 50BE - 50BEL - 50TL 50TEL)

нет в наличии, поставок нет
8 0335033

Рама, Front. TJ50TL (FRAME, Front. TJ50TL)

нет в наличии, поставок нет
9 0206681

SOUND BLANKET, TOP (SOUND BLANKET, TOP)

нет в наличии, поставок нет
9 0341531

   (последний код) BLANKET,SOUND

нет в наличии, поставок нет
10 0305284

Винт, Крючок to Кронштейн (SCREW, Hook to bracket)

нет в наличии, поставок нет
10 0908158

   (последний код) SCREW

нет в наличии, поставок нет
11 0323176

Крючок, Кронштейн (HOOK, Bracket)

нет в наличии, поставок нет
11 0315191

   (последний код) HOOK

нет в наличии, поставок нет
12 0317223

Защелка, Applique (FASTENER, Applique)

нет в наличии, поставок нет
13 0206682

SOUND BLANKET, Side (SOUND BLANKET, Side)

нет в наличии, поставок нет
13 0341532

   (последний код) BLANKET,SOUND

нет в наличии, поставок нет
14 0323228

Винт, Рукоятка наклона, rear (SCREW, Tilt handle, rear)

нет в наличии, поставок нет
15 0208181

Рукоятка наклона (TILT HANDLE)

нет в наличии, поставок нет
16 0210296

BAFFLE, Рукоятка наклона (BAFFLE, Tilt handle)

нет в наличии, поставок нет
17 0313079

Шайба, Крючок to Кронштейн (WASHER, Hook to bracket)

нет в наличии, поставок нет
18 0211111

Резинка капота двигателя (SEAL, Engine cover)

нет в наличии, поставок нет
19 0323229

Винт, Рукоятка наклона, front (SCREW, Tilt handle, front)

нет в наличии, поставок нет
20 0334417

Пластина, Applique. 50BE - 50BEL - 50TL 50TEL (PLATE, Applique. 50BE - 50BEL - 50TL 50TEL)

нет в наличии, поставок нет
20 0335754

Пластина, Applique. TJ50TL (PLATE, Applique. TJ50TL)

нет в наличии, поставок нет
21 0334237

Рама, Rear. 50BE - 50BEL - 50TL 50TEL (FRAME, Rear. 50BE - 50BEL - 50TL 50TEL)

нет в наличии, поставок нет
21 0335042

Рама, Rear. TJ50TL (FRAME, Rear. TJ50TL)

нет в наличии, поставок нет
22 0378347

Шнур стартера (STARTER ROPE)

нет в наличии, поставок нет
23 0433118

Комплект наклеек. 50BE - 50BEL - 50TL 50TEL (DECAL SET. 50BE - 50BEL - 50TL 50TEL)

нет в наличии, поставок нет
23 0433205

Комплект наклеек. TJ50TL (DECAL SET. TJ50TL)

нет в наличии, поставок нет
24 0433311

OWNERS ручной. 50TEL 4-Language Ownerft.s ручной (English, French, Spanish & Portuguese) (OWNERS MANUAL. 50TEL 4-Language Ownerft.s Manual (English, French, Spanish & Portuguese))

нет в наличии, поставок нет
24 8011861

   (последний код) OM40/50RP433311

нет в наличии, поставок нет
24 0433312

OWNERS ручной. 50BE - 50BEL - 50TL TJ50TL 4-Language Ownerft.s ручной (English, French, Spanish & Portuguese) (OWNERS MANUAL. 50BE - 50BEL - 50TL TJ50TL 4-Language Ownerft.s Manual (English, French, Spanish & Portuguese))

нет в наличии, поставок нет
24 8011863

   (последний код) OM40/50EL433312

нет в наличии, поставок нет
24 0433313

OWNERS ручной. 50BE - 50BEL - 50TL 7-Language Ownerft.s ручной (German, Italian, Dutch, Swedish, Finnish, Danish & Norwegian) (OWNERS MANUAL. 50BE - 50BEL - 50TL 7-Language Ownerft.s Manual (German, Italian, Dutch, Swedish, Finnish, Danish & Norwegian))

нет в наличии, поставок нет
evinrude

Время выполнения запроса 1.8242380619049 сек.


 
 

данный сайт носит информационный характер и не является публичной офертой

склад запчастей для водомоторной техники