вконтакте

Контактный телефон: +7 (981) 121-46-93, +7 (800) 200-90-76 , Email: parts-katalog@yandex.ru, где купить

 
 

  Логин:

Пароль:

Регистрация

www.partskatalog.ru Все каталоги Запчасти Mercury Запчасти Suzuki Запчасти Tohatsu Запчасти Honda Контакты


Все разделы каталога запчастей на этот двигатель

назад Раздел:   вперёд

вернуться к списку узлов и деталей

ДЕТАЛИРОВКА ДЛЯ МОДЕЛИ: EVINRUDE TE40ELESR 1990

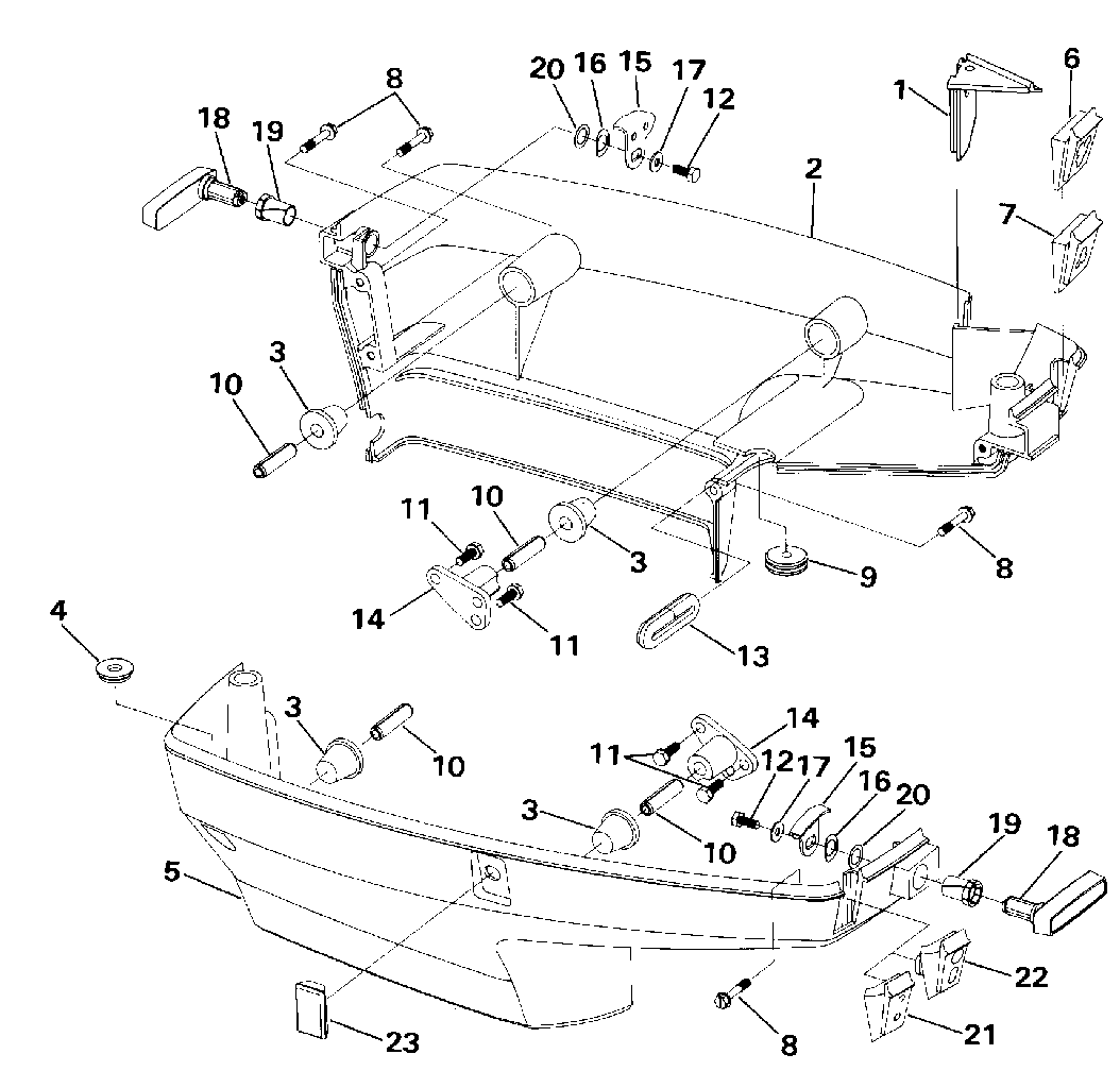
НИЖНЯЯ КРЫШКА ДВИГАТЕЛЯ | LOWER ENGINE COVER;


Двигатель Эвинруд TE40ELESR 1990  - wer Engine Cover / wer Крышка двигателя (капот)

Номер на
рисунке
АртикулНаименованиеКол-во
на складе
Цена
1 0333759

Кронштейн, Fuel conn.. 40TL - 50TL 40TE - 50TE 40E - 50BE 40TTL (BRACKET, Fuel conn.. 40TL - 50TL 40TE - 50TE 40E - 50BE 40TTL)

нет в наличии, поставок нет
1 0333760

Кронштейн, Fuel conn.. 40RC - 40RL (BRACKET, Fuel conn.. 40RC - 40RL)

нет в наличии, поставок нет
1 0344240

   (последний код) BRACKET

нет в наличии, поставок нет
2 0333511

Крышка двигателя (капот), нижний , port. (ENGINE COVER, Lower, port.)

нет в наличии, поставок нет
2 5004984

   (последний код) LMC AY, PORT/WHITE

нет в наличии, поставок нет
3 0332413

Крепление (MOUNT)

нет в наличии, поставок нет
4 0320521

Пыльник, Overboard Индикатор (GROMMET, Overboard indicator)

нет в наличии, поставок нет
5 0332412

Крышка двигателя (капот), нижний , stbd. (ENGINE COVER, Lower, stbd.)

нет в наличии, поставок нет
5 5004985

   (последний код) LMC AY, STBD/WHITE

нет в наличии, поставок нет
6 0333761

Пыльник, Primer Помпа ay.. 40RC - 40RL (GROMMET, Primer pump ay.. 40RC - 40RL)

нет в наличии, поставок нет
6 0334462

Пыльник, Дистанционное управление Проводs. 40TL - 50TL 40TTL (GROMMET, Remote control wires. 40TL - 50TL 40TTL)

нет в наличии, поставок нет
6 0340213

   (последний код) GROMMET

нет в наличии, поставок нет
7 0332416

Пыльник. 40TE - 50TE 40E - 50BE (GROMMET. 40TE - 50TE 40E - 50BE)

нет в наличии, поставок нет
8 0332415

Винт (SCREW)

нет в наличии, поставок нет
9 0321452

Пыльник, Переключающая тяга (GROMMET, Shift rod)

нет в наличии, поставок нет
9 0318249

   (последний код) GROMMET

нет в наличии, поставок нет
10 0332406

Штифт, Roll (PIN, Roll)

нет в наличии, поставок нет
11 0551793

Винт, Sвышеport, port & stbd. (SCREW, Support, port & stbd.)

нет в наличии, поставок нет
12 0912127

Винт, Latch to handle (SCREW, Latch to handle)

нет в наличии, поставок нет
13 0332441

Сальник, Рулевая система Рычаг (SEAL, Steering arm)

нет в наличии, поставок нет
13 0344332

   (последний код) SEAL

нет в наличии, поставок нет
14 0333772

Кронштейн, Крепление (BRACKET, Mount)

нет в наличии, поставок нет
15 0330253

LATCH (LATCH)

нет в наличии, поставок нет
15 0323235

   (последний код) HOOK-MTR-CVR

нет в наличии, поставок нет
16 0553766

Шайба, Latch handle (WASHER, Latch handle)

нет в наличии, поставок нет
16 0123886

   (последний код) SPRING-WASHE

нет в наличии, поставок нет
17 0328703

Шайба (WASHER)

нет в наличии, поставок нет
17 3852184

   (последний код) WASHER

нет в наличии, поставок нет
18 0396611

HANDLE AY., Latch (HANDLE AY., Latch)

нет в наличии, поставок нет
18 0432321

   (последний код) HDL&SFT-AY

нет в наличии, поставок нет
19 0334851

Втулка, Latch handle (BUSHING, Latch handle)

нет в наличии, поставок нет
20 0321863

Шайба, Latch handle Вал. 40TE - 50TE (WASHER, Latch handle shaft. 40TE - 50TE)

нет в наличии, поставок нет
21 0334164

Пыльник тросика дросселя. 40TL - 50TL 40E - 50BE (GROMMET, Throttle cable. 40TL - 50TL 40E - 50BE)

нет в наличии, поставок нет
22 0332478

Пыльник тросика управленияs. 40TE - 50TE 40RC - 40RL 40TTL (GROMMET, Control cables. 40TE - 50TE 40RC - 40RL 40TTL)

нет в наличии, поставок нет
23 0335694

Заглушка, Tilt & Переключатель трима. 40TE - 50TE 40E - 50BE 40RC - 40RL (PLUG, Tilt & trim switch. 40TE - 50TE 40E - 50BE 40RC - 40RL)

нет в наличии, поставок нет
23 0334833

   (последний код) PLUG

нет в наличии, поставок нет
evinrude

Время выполнения запроса 0.83932399749756 сек.


 
 

данный сайт носит информационный характер и не является публичной офертой

склад запчастей для водомоторной техники