| |
Все разделы каталога запчастей на этот двигатель
вернуться к списку узлов и деталей ДЕТАЛИРОВКА ДЛЯ МОДЕЛИ: EVINRUDE VE40TELESR 1990
РУЛЕВАЯ СИСТЕМА КОННЕКТОР KIT | STEERING CONNECTOR KIT;
Номер на рисунке | Артикул | Наименование | Кол-во на складе | Цена |
| 0173699 | 0173699 | Рулевая система Коннектор KIT, Stainless steel. Not Shown (STEERING CONNECTOR KIT, Stainless steel. Not Shown) | нет в наличии, поставок нет |
| 0173699 | 0173328 | (последний код) STEERINGCONNECT | нет в наличии, поставок нет |
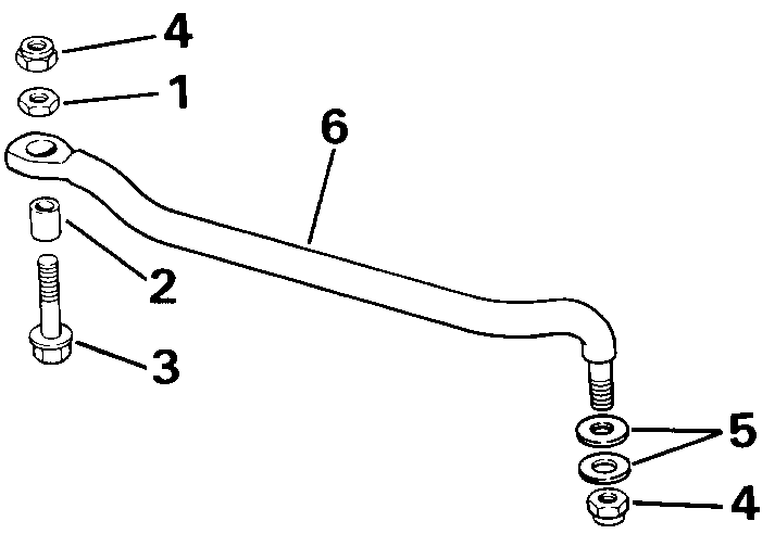
| 1 | 0122840 | Гайка, Стержень (NUT, Pivot) | нет в наличии, поставок нет |
| 2 | 0122841 | Проставка, Стержень (SPACER, Pivot) | нет в наличии, поставок нет |
| 3 | 0123178 | Болт, Рулевая система Коннектор (BOLT, Steering connector) | нет в наличии, поставок нет |
| 3 | 0344327 | (последний код) BOLT | нет в наличии, поставок нет |
| 4 | 0315077 | LOCKГайка, Stainless steel (LOCKNUT, Stainless steel) | нет в наличии, поставок нет |
| 4 | 3852132 | (последний код) NUT,LOCK | нет в наличии, поставок нет |
| 5 | 0319453 | Шайба (WASHER) | нет в наличии, поставок нет |
| 5 | 3852155 | (последний код) WASHER | нет в наличии, поставок нет |
| 6 | 0174244 | Коннектор Тяга в сборе., Stainless steel (CONNECTOR ROD ASSY., Stainless steel) | нет в наличии, поставок нет |
| 6 | 0173693 | (последний код) CONN-ROD-AY | нет в наличии, поставок нет |

Время выполнения запроса 0.35390996932983 сек.
|
|