вконтакте

Контактный телефон: +7 (981) 121-46-93, +7 (800) 200-90-76 , Email: parts-katalog@yandex.ru, где купить

 
 

  Логин:

Пароль:

Регистрация

www.partskatalog.ru Все каталоги Запчасти Mercury Запчасти Suzuki Запчасти Tohatsu Запчасти Honda Контакты



УВАЖАЕМЫЕ КЛИЕНТЫ!
C 19 ДЕКАБРЯ 2025 ПО 02 МАРТА 2026 ГОДА ОТДЕЛ ЗАПЧАСТЕЙ И СЕРВИС РАБОТАТЬ НЕ БУДУТ
ПРОДАЖА ЛОДОЧНЫХ МОТОРОВ В ШТАТНОМ РЕЖИМЕ
ОБ ИЗМЕНЕНИЯХ В ГРАФИКЕ РАБОТЫ ЧИТАЙТЕ НА САЙТА




Все разделы каталога запчастей на этот двигатель

назад Раздел:   вперёд

вернуться к списку узлов и деталей

ДЕТАЛИРОВКА ДЛЯ МОДЕЛИ: EVINRUDE E30EESS 1990

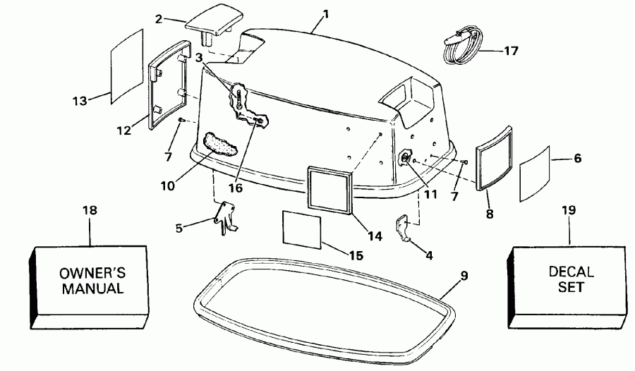
КРЫШКА ДВИГАТЕЛЯ (КАПОТ) - JOHNSON | ENGINE COVER - JOHNSON;


Подвесной мотор Эвинруд E30EESS 1990  - Johnson - Johnson

Номер на
рисунке
АртикулНаименованиеКол-во
на складе
Цена
1 0432411

Крышка двигателя (капот) в сборе.. 20EE - 20ELE (ENGINE COVER ASSY.. 20EE - 20ELE)

нет в наличии, поставок нет
1 0432410

Крышка двигателя (капот) в сборе.. 25EE - 25ELE (ENGINE COVER ASSY.. 25EE - 25ELE)

нет в наличии, поставок нет
1 0433819

Крышка двигателя (капот) в сборе.. TE25ELE (ENGINE COVER ASSY.. TE25ELE)

нет в наличии, поставок нет
1 0434555

   (последний код) COVER AY,MOTOR-

нет в наличии, поставок нет
1 0432412

Крышка двигателя (капот) в сборе.. 30EE - 30ELE (ENGINE COVER ASSY.. 30EE - 30ELE)

нет в наличии, поставок нет
1 0433137

Крышка двигателя (капот) в сборе.. TE30ELE (ENGINE COVER ASSY.. TE30ELE)

нет в наличии, поставок нет
2 0322882

Рукоятка наклона (TILT HANDLE)

нет в наличии, поставок нет
3 0330823

Винт, Рукоятка наклона (SCREW, Tilt handle)

нет в наличии, поставок нет
3 0325838

   (последний код) SCREW

нет в наличии, поставок нет
4 0320400

Крючок капота двигателя, front. 20EE - 20ELE 25EE - 25ELE 30EE - 30ELE (HOOK, Engine cover, front. 20EE - 20ELE 25EE - 25ELE 30EE - 30ELE)

нет в наличии, поставок нет
4 0316170

   (последний код) HOOK FRONT MTR CV

нет в наличии, поставок нет
4 0206342

Крючок капота двигателя, front. TE25ELE TE30ELE (HOOK, Engine cover, front. TE25ELE TE30ELE)

нет в наличии, поставок нет
5 0329635

Крючок капота двигателя, rear (HOOK, Engine cover, rear)

нет в наличии, поставок нет
5 0316171

   (последний код) ANCHOR BLOCK

нет в наличии, поставок нет
6 0334480

Пластина, Рама, front, 20. 20EE - 20ELE (PLATE, Frame, front,20. 20EE - 20ELE)

нет в наличии, поставок нет
6 0334484

Пластина, Рама, front, 25. 25EE - 25ELE (PLATE, Frame, front, 25. 25EE - 25ELE)

нет в наличии, поставок нет
6 0335837

Пластина, Рама, front, 25. TE25ELE (PLATE, Frame, front, 25. TE25ELE)

нет в наличии, поставок нет
6 0334488

Пластина, Рама, front, 30. 30EE - 30ELE (PLATE, Frame, front, 30. 30EE - 30ELE)

нет в наличии, поставок нет
6 0335067

Пластина, Рама, rear, 30. TE30ELE (PLATE, Frame, rear, 30. TE30ELE)

нет в наличии, поставок нет
7 0554355

Заклёпка (RIVET)

нет в наличии, поставок нет
7 0544355

   (последний код) RIVET

нет в наличии, поставок нет
8 0331434

Рама, Front. 20EE - 20ELE 25EE - 25ELE 30EE - 30ELE (FRAME, Front. 20EE - 20ELE 25EE - 25ELE 30EE - 30ELE)

нет в наличии, поставок нет
8 0335032

Рама, Front. TE25ELE TE30ELE (FRAME, Front. TE25ELE TE30ELE)

нет в наличии, поставок нет
9 0326487

Резинка капота двигателя. 20EE - 20ELE 25EE - 25ELE 30EE - 30ELE (SEAL, Engine cover. 20EE - 20ELE 25EE - 25ELE 30EE - 30ELE)

нет в наличии, поставок нет
9 0316225

   (последний код) SEAL MTR CVR,BLK

нет в наличии, поставок нет
9 0316225

Резинка капота двигателя. TE25ELE TE30ELE (SEAL, Engine cover. TE25ELE TE30ELE)

нет в наличии, поставок нет
9 0326487

   (последний код) SEAL

нет в наличии, поставок нет
10 0334603

SOUND BLANKET, Top. 20EE - 20ELE 25EE - 25ELE 30EE - 30ELE (SOUND BLANKET, Top. 20EE - 20ELE 25EE - 25ELE 30EE - 30ELE)

нет в наличии, поставок нет
10 0211273

SOUND BLANKET, Top. TE25ELE TE30ELE (SOUND BLANKET, Top. TE25ELE TE30ELE)

нет в наличии, поставок нет
10 0341523

   (последний код) BLANKET,SOUND

нет в наличии, поставок нет
10 0334604

SOUND BLANKET, Port. 20EE - 20ELE 25EE - 25ELE 30EE - 30ELE (SOUND BLANKET, Port. 20EE - 20ELE 25EE - 25ELE 30EE - 30ELE)

нет в наличии, поставок нет
10 0211275

SOUND BLANKET, Port. TE25ELE TE30ELE (SOUND BLANKET, Port. TE25ELE TE30ELE)

нет в наличии, поставок нет
10 0341525

   (последний код) BLANKET,SOUND

нет в наличии, поставок нет
10 0334605

SOUND BLANKET, Front. 20EE - 20ELE 25EE - 25ELE 30EE - 30ELE (SOUND BLANKET, Front. 20EE - 20ELE 25EE - 25ELE 30EE - 30ELE)

нет в наличии, поставок нет
10 0211276

SOUND BLANKET, Front. TE25ELE TE30ELE (SOUND BLANKET, Front. TE25ELE TE30ELE)

нет в наличии, поставок нет
10 0341526

   (последний код) BLANKET,SOUND

нет в наличии, поставок нет
10 0334606

SOUND BLANKET, Stbd.. 20EE - 20ELE 25EE - 25ELE 30EE - 30ELE (SOUND BLANKET, Stbd.. 20EE - 20ELE 25EE - 25ELE 30EE - 30ELE)

нет в наличии, поставок нет
10 0211274

SOUND BLANKET, Stbd.. TE25ELE TE30ELE (SOUND BLANKET, Stbd.. TE25ELE TE30ELE)

нет в наличии, поставок нет
10 0341524

   (последний код) BLANKET,SOUND

нет в наличии, поставок нет
11 0317223

Гайка, Push-on (NUT, Push-on)

нет в наличии, поставок нет
12 0334529

Рама, Rear. 20EE - 20ELE 25EE - 25ELE 30EE - 30ELE (FRAME, Rear. 20EE - 20ELE 25EE - 25ELE 30EE - 30ELE)

нет в наличии, поставок нет
12 0335041

Рама, Rear. TE25ELE TE30ELE (FRAME, Rear. TE25ELE TE30ELE)

нет в наличии, поставок нет
13 0334479

Пластина, Рама, rear, 20. 20EE - 20ELE (PLATE, Frame, rear, 20. 20EE - 20ELE)

нет в наличии, поставок нет
13 0334483

Пластина, Рама, rear, 25. 25EE - 25ELE (PLATE, Frame, rear, 25. 25EE - 25ELE)

нет в наличии, поставок нет
13 0335838

Пластина, Рама, rear, 25. TE25ELE (PLATE, Frame, rear, 25. TE25ELE)

нет в наличии, поставок нет
13 0334487

Пластина, Рама, rear, 30. 30EE - 30ELE (PLATE, Frame, rear, 30. 30EE - 30ELE)

нет в наличии, поставок нет
13 0335065

Пластина, Рама, rear, 30. TE30ELE (PLATE, Frame, rear, 30. TE30ELE)

нет в наличии, поставок нет
16 0334528

Винт, Рама mtg., rear. 20EE - 20ELE 25EE - 25ELE TE25ELE 30EE - 30ELETE30ELE (SCREW, Frame mtg., rear. 20EE - 20ELE 25EE - 25ELE TE25ELE 30EE - 30ELETE30ELE)

нет в наличии, поставок нет
17 0378347

Шнур стартера (STARTER ROPE)

нет в наличии, поставок нет
18 0433322

OWNERS ручной. 4-Language Ownerft.s ручной Provided with All Models (except 25SEE - 25SELE) & Available in All OMC Маркировкаeting Areas. (OWNERS MANUAL. 4-Language Ownerft.s Manual Provided with All Models (except 25SEE - 25SELE) & Available in All OMC Marketing Areas.)

нет в наличии, поставок нет
18 8011853

   (последний код) OM20/25EL433322

нет в наличии, поставок нет
18 0433323

OWNERS ручной. 7-Language Ownerft.s ручной Additionally Provided with All OMC Belgium Models (except 25SEE-25SELE) & Available in OMC Belgium Маркировкаeting Area Only. (OWNERS MANUAL. 7-Language Ownerft.s Manual Additionally Provided with All OMC Belgium Models (except 25SEE-25SELE) & Available in OMC Belgium Marketing Area Only.)

нет в наличии, поставок нет
18 8011854

   (последний код) OM20/25EL433323

нет в наличии, поставок нет
18 0433321

OWNERS ручной. Italian Only Ownerft.s ручной Provided with 25SEE-25SELE Models Only & Available from OMC Belgium Only. (OWNERS MANUAL. Italian Only Ownerft.s Manual Provided with 25SEE-25SELE Models Only & Available from OMC Belgium Only.)

нет в наличии, поставок нет
19 0433643

Комплект наклеек. 20EE - 20ELE (DECAL SET. 20EE - 20ELE)

нет в наличии, поставок нет
19 0433106

   (последний код) DECAL AY,SET

нет в наличии, поставок нет
19 0433644

Комплект наклеек. 25EE - 25ELE (DECAL SET. 25EE - 25ELE)

нет в наличии, поставок нет
19 0433107

   (последний код) DECAL AY,SET

нет в наличии, поставок нет
19 0433647

Комплект наклеек. TE25ELE TE30ELE (DECAL SET. TE25ELE TE30ELE)

нет в наличии, поставок нет
19 0434042

   (последний код) DECAL AY,SET

нет в наличии, поставок нет
19 0433645

Комплект наклеек. 30EE - 30ELE (DECAL SET. 30EE - 30ELE)

нет в наличии, поставок нет
19 0433105

   (последний код) DECAL AY,SET

нет в наличии, поставок нет
evinrude

Время выполнения запроса 3.7113599777222 сек.


 
 

данный сайт носит информационный характер и не является публичной офертой

склад запчастей для водомоторной техники