вконтакте

Контактный телефон: +7 (981) 121-46-93, +7 (800) 200-90-76 , Email: parts-katalog@yandex.ru, где купить

 
 

  Логин:

Пароль:

Регистрация

www.partskatalog.ru Все каталоги Запчасти Mercury Запчасти Suzuki Запчасти Tohatsu Запчасти Honda Контакты



УВАЖАЕМЫЕ КЛИЕНТЫ!
C 19 ДЕКАБРЯ 2025 ПО 02 МАРТА 2026 ГОДА ОТДЕЛ ЗАПЧАСТЕЙ И СЕРВИС РАБОТАТЬ НЕ БУДУТ
ПРОДАЖА ЛОДОЧНЫХ МОТОРОВ В ШТАТНОМ РЕЖИМЕ
ОБ ИЗМЕНЕНИЯХ В ГРАФИКЕ РАБОТЫ ЧИТАЙТЕ НА САЙТА




Вернуться к началу выбора


Тип двигателя: четырёхтактный

Модель двигателя: Honda BF2AK

Модификация Вашего двигателя:   Honda BF2AK SD
Модели с серийным номером двигателя от BAEE-1100001 до BAEE-1199999
Модели с серийным номером рамы от BAES-1100001 до BAES-1103159

РЕЖИМЫ ПРОСМОТРА

Все узлы и детали

Двигатель

Внешние части


   Выберите раздел

найти расходники на лодочные моторы Suzuki

Гильза цилиндра / Головка блока цилиндра (Cylinder Barrel / Cylinder Head)

Гильза цилиндра / Головка блока цилиндра (Cylinder Barrel / Cylinder Head)

Масляный поддон (Oil Pan)

Масляный поддон (Oil Pan)

Поршень / Коленвал / Распределительный вал (Piston / Crankshaft / Camshaft)

Поршень / Коленвал / Распределительный вал (Piston / Crankshaft / Camshaft)

Барабанный стартер (1) (Recoil Starter (1))

Барабанный стартер (1) (Recoil Starter (1))

Барабанный стартер (2) (Recoil Starter (2))

Барабанный стартер (2) (Recoil Starter (2))

Крышка вентилятора / Рычаг дросселя (Fan Cover / Throttle Lever)

Крышка вентилятора / Рычаг дросселя (Fan Cover / Throttle Lever)

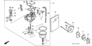
Карбюратор (Carburetor)

Карбюратор (Carburetor)

Воздуховод / Выхлопная труба (Air Guide / Exhaust Pipe)

Воздуховод / Выхлопная труба (Air Guide / Exhaust Pipe)

Топливный бак (Fuel Tank)

Топливный бак (Fuel Tank)

Катушка зажигания / Маховик (Ignition Coil / Flywheel)

Катушка зажигания / Маховик (Ignition Coil / Flywheel)

Комплект прокладок (Gasket Kit)

Комплект прокладок (Gasket Kit)

Румпель / Крышка двигателя (капот) (Steering Handle / Engine Cover)

Румпель / Крышка двигателя (капот) (Steering Handle / Engine Cover)

Удлинение корпуса / Вертикальный вал (Extension Case / Vertical Shaft)

Удлинение корпуса / Вертикальный вал (Extension Case / Vertical Shaft)

Картер коробки передач / Вал гребного винта (Gear Case / Propeller Shaft)

Картер коробки передач / Вал гребного винта (Gear Case / Propeller Shaft)

Поворотный корпус / Кронштейн транца (Swivel Case / Stern Bracket)

Поворотный корпус / Кронштейн транца (Swivel Case / Stern Bracket)

Наклейки (Label)

Наклейки (Label)

Шнур стартера / Инструмент (Starter Rope / Tool)

Шнур стартера / Инструмент (Starter Rope / Tool)

tohatsu

 
 

данный сайт носит информационный характер и не является публичной офертой

склад запчастей для водомоторной техники