вконтакте

Контактный телефон: +7 (981) 121-46-93, +7 (800) 200-90-76 , Email: parts-katalog@yandex.ru, где купить

 
 

  Логин:

Пароль:

Регистрация

www.partskatalog.ru Все каталоги Запчасти Mercury Запчасти Suzuki Запчасти Tohatsu Запчасти Honda Контакты



УВАЖАЕМЫЕ КЛИЕНТЫ!
C 19 ДЕКАБРЯ 2025 ПО 02 МАРТА 2026 ГОДА ОТДЕЛ ЗАПЧАСТЕЙ И СЕРВИС РАБОТАТЬ НЕ БУДУТ
ПРОДАЖА ЛОДОЧНЫХ МОТОРОВ В ШТАТНОМ РЕЖИМЕ
ОБ ИЗМЕНЕНИЯХ В ГРАФИКЕ РАБОТЫ ЧИТАЙТЕ НА САЙТА




Вернуться к началу выбора


Тип двигателя: четырёхтактный

Модель двигателя: Honda BF90DK0

Модификация Вашего двигателя:   Honda BF90DK0 EFI; LHGD
Модели с серийным номером двигателя от BEBCJ-1000001 до BEBCJ-
Модели с серийным номером рамы от BBCJ-1000001 до BBCJ-

РЕЖИМЫ ПРОСМОТРА

Все узлы и детали

Двигатель

Внешние части


   Выберите раздел

найти расходники на лодочные моторы Suzuki

Крышка головки цилиндра (Cylinder Head Cover)

Крышка головки цилиндра (Cylinder Head Cover)

Головка блока цилиндра (Cylinder Head)

Головка блока цилиндра (Cylinder Head)

Блок цилиндра (Cylinder Block)

Блок цилиндра (Cylinder Block)

Масляный насос (Oil Pump)

Масляный насос (Oil Pump)

Масляный картер (Oil Case)

Масляный картер (Oil Case)

Коленвал / Поршень (Crankshaft / Piston)

Коленвал / Поршень (Crankshaft / Piston)

Распределительный вал / Клапан (Camshaft / Valve)

Распределительный вал / Клапан (Camshaft / Valve)

Корпус цепи (Chain Case)

Корпус цепи (Chain Case)

Впускной трубопровод / инжектор (Inlet Manifold / Injector)

Впускной трубопровод / инжектор (Inlet Manifold / Injector)

Глушитель case (Silencer Case)

Глушитель case (Silencer Case)

Топливный насос (Fuel Pump)

Топливный насос (Fuel Pump)

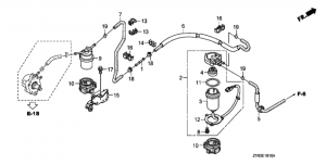
Водоотделитель (Water Separator)

Водоотделитель (Water Separator)

Пароотделитель (Vapor Separator)

Пароотделитель (Vapor Separator)

Генератор переменного тока (A.c. Generator)

Генератор переменного тока (A.c. Generator)

Заглушка top coil (Plug Top Coil)

Заглушка top coil (Plug Top Coil)

Электронный блок управления (Electronic Control Unit)

Электронный блок управления (Electronic Control Unit)

Двигатель стартера (Starter Motor)

Двигатель стартера (Starter Motor)

Румпель (Steering Handle)

Румпель (Steering Handle)

Переключающий вал (Shift Shaft)

Переключающий вал (Shift Shaft)

Удлинение корпуса (Extension Case)

Удлинение корпуса (Extension Case)

Картер коробки передач (Gear Case)

Картер коробки передач (Gear Case)

Картер коробки передач в сборе (Gear Case Assy)

Картер коробки передач в сборе (Gear Case Assy)

Крепёж корпуса (Mount Case)

Крепёж корпуса (Mount Case)

Водяной насос / Вертикальный вал (Water Pump / Vertical Shaft)

Водяной насос / Вертикальный вал (Water Pump / Vertical Shaft)

Вал гребного винта (Propeller Shaft)

Вал гребного винта (Propeller Shaft)

Топливный бак (Fuel Tank)

Топливный бак (Fuel Tank)

Main Жгут проводов (Main Wire Harness)

Main Жгут проводов (Main Wire Harness)

Кабель стартера (Starter Cable)

Кабель стартера (Starter Cable)

Электрические части корпуса (Electronic Parts Case)

Электрические части корпуса (Electronic Parts Case)

Крышка генератора переменного тока (A.c. Generator Cover)

Крышка генератора переменного тока (A.c. Generator Cover)

Измеритель трима / Тахометр (Trim Meter / Tachometer)

Измеритель трима / Тахометр (Trim Meter / Tachometer)

Крышка двигателя (капот) / Под корпусом (Engine Cover / Under Case)

Крышка двигателя (капот) / Под корпусом (Engine Cover / Under Case)

Кронштейн транца / Поворотный корпус (Stern Bracket / Swivel Case)

Кронштейн транца / Поворотный корпус (Stern Bracket / Swivel Case)

Steering friction shaft (Steering Friction Shaft)

Steering friction shaft (Steering Friction Shaft)

Механизированный дифферент наклона (Power Trim-tilt)

Механизированный дифферент наклона (Power Trim-tilt)

Демпфер (Damper)

Демпфер (Damper)

Наклейки (Label)

Наклейки (Label)

Инструмент (Tool)

Инструмент (Tool)

Панель управления (single) (2-led) (Control Panel (single) (2-led))

Панель управления (single) (2-led) (Control Panel (single) (2-led))

Панель управления (dual) (2-led) (Control Panel (dual) (2-led))

Панель управления (dual) (2-led) (Control Panel (dual) (2-led))

Дистанционное управление (монтаж сбоку) (Remote Control (side Mount))

Дистанционное управление (монтаж сбоку) (Remote Control (side Mount))

Дистанционное управление (panel mount) (Remote Control (panel Mount))

Дистанционное управление (panel mount) (Remote Control (panel Mount))

Дистанционное управление (Внутренности машинки газ-реверс) (Remote Control (inner Housing))

Дистанционное управление (Внутренности машинки газ-реверс) (Remote Control (inner Housing))

Компоненты для установи спидометра (цифровые) (Speedometer Kit (digital))

Компоненты для установи спидометра (цифровые) (Speedometer Kit (digital))

Топливный бак tube (Fuel Tank Tube)

Топливный бак tube (Fuel Tank Tube)

Наборы для ремонта водяного насоса (Impeller Pump Kit)

Наборы для ремонта водяного насоса (Impeller Pump Kit)

Дистанционное управление (одинарное, правое, монтаж сверху) (Remote Control (top Mount Single Type) (right))

Дистанционное управление (одинарное, правое, монтаж сверху) (Remote Control (top Mount Single Type) (right))

Дистанционное управление (одинарное, левое, монтаж сверху) (Remote Control (top Mount Single Type) (left))

Дистанционное управление (одинарное, левое, монтаж сверху) (Remote Control (top Mount Single Type) (left))

Дистанционное управление (двойное, правое, монтаж сверху) (Remote Control (top Mount Dual Type) (right))

Дистанционное управление (двойное, правое, монтаж сверху) (Remote Control (top Mount Dual Type) (right))

Дистанционное управление (сдвойное, монтаж сверху) (левый) (Remote Control (top Mount Dual Type) (left))

Дистанционное управление (сдвойное, монтаж сверху) (левый) (Remote Control (top Mount Dual Type) (left))

Дистанционное управление (правое, монтаж заподлицо) (Remote Control (flush Mount Type) (right))

Дистанционное управление (правое, монтаж заподлицо) (Remote Control (flush Mount Type) (right))

Дистанционное управление (левое, монтаж заподлицо) (Remote Control (flush Mount Type) (left))

Дистанционное управление (левое, монтаж заподлицо) (Remote Control (flush Mount Type) (left))

Кабели под одинарное ДУ (Cable (single))

Кабели под одинарное ДУ (Cable (single))

Кабели под сдвоенное ДУ (Cable (dual))

Кабели под сдвоенное ДУ (Cable (dual))

Контрольная панель, комплект (2-led) (Control Panel Kit (2-led))

Контрольная панель, комплект (2-led) (Control Panel Kit (2-led))

Панель переключателей, комплект (1) (2-panel / 4-led) (Switch Panel Kit (1) (2-panel / 4-led))

Панель переключателей, комплект (1) (2-panel / 4-led) (Switch Panel Kit (1) (2-panel / 4-led))

Панель переключателей, комплект (2) (1-panel / 4-led) (Switch Panel Kit (2) (1-panel / 4-led))

Панель переключателей, комплект (2) (1-panel / 4-led) (Switch Panel Kit (2) (1-panel / 4-led))

Компоненты для установи спидометра (Speedometer Kit)

Компоненты для установи спидометра (Speedometer Kit)

Гребной винт (Propeller)

Гребной винт (Propeller)

Комплект болтов (Bolt Kit)

Комплект болтов (Bolt Kit)

Румпель, установочный комплект (Steering Handle Kit)

Румпель, установочный комплект (Steering Handle Kit)

tohatsu

 
 

данный сайт носит информационный характер и не является публичной офертой

склад запчастей для водомоторной техники