вконтакте

Контактный телефон: +7 (981) 121-46-93, +7 (800) 200-90-76 , Email: parts-katalog@yandex.ru, где купить

 
 

  Логин:

Пароль:

Регистрация

www.partskatalog.ru Все каталоги Запчасти Mercury Запчасти Suzuki Запчасти Tohatsu Запчасти Honda Контакты



УВАЖАЕМЫЕ КЛИЕНТЫ!
C 19 ДЕКАБРЯ 2025 ПО 02 МАРТА 2026 ГОДА ОТДЕЛ ЗАПЧАСТЕЙ И СЕРВИС РАБОТАТЬ НЕ БУДУТ
ПРОДАЖА ЛОДОЧНЫХ МОТОРОВ В ШТАТНОМ РЕЖИМЕ
ОБ ИЗМЕНЕНИЯХ В ГРАФИКЕ РАБОТЫ ЧИТАЙТЕ НА САЙТА




Вернуться к началу выбора


Тип двигателя: четырёхтактный

Модель двигателя: Honda BF20DK2

Модификация Вашего двигателя:   Honda BF20DK2 SRTU
Модели с серийным номером двигателя от BEAMJ-1000001 до BEAMJ-1999999
Модели с серийным номером рамы от BAMJ-1500001 до BAMJ-1599999

РЕЖИМЫ ПРОСМОТРА

Все узлы и детали

Двигатель

Внешние части


   Выберите раздел

найти расходники на лодочные моторы Suzuki

E-02 Головка Цилиндра (E-02 Cylinder Barrel)

E-02 Головка Цилиндра (E-02 Cylinder Barrel)

E-03-20 Масляный кожух / Уплотнение поддона картера (E-03-20 Oil Case / Seal sump oil pan)

E-03-20 Масляный кожух / Уплотнение поддона картера (E-03-20 Oil Case / Seal sump oil pan)

E-03 Блок Цилиндра (E-03 Block Cylinder)

E-03 Блок Цилиндра (E-03 Block Cylinder)

E-04 Термостат (E-04 Thermostat)

E-04 Термостат (E-04 Thermostat)

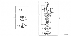
E-05 Масляный Насос (E-05 Oil Pump)

E-05 Масляный Насос (E-05 Oil Pump)

E-07 Коленвал / Поршень (E-07 Crankshaft / Piston)

E-07 Коленвал / Поршень (E-07 Crankshaft / Piston)

E-09 Распредвал / Клапан (E-09 Camshaft / Valve)

E-09 Распредвал / Клапан (E-09 Camshaft / Valve)

E-11 Барабанный Стартер (E-11 Recoil Starter)

E-11 Барабанный Стартер (E-11 Recoil Starter)

E-13 Ремень Распредвала (E-13 Belt Timing)

E-13 Ремень Распредвала (E-13 Belt Timing)

E-14-1 Карбюратор (Авто) (E-14-1 Carburetor (auto))

E-14-1 Карбюратор (Авто) (E-14-1 Carburetor (auto))

E-14-20 Крышка шумопоглотителя (глушителя) (E-14-20 Cover Muffler)

E-14-20 Крышка шумопоглотителя (глушителя) (E-14-20 Cover Muffler)

E-16 Крышка выхлопной камеры (E-16 Cover Exhaust Chamber)

E-16 Крышка выхлопной камеры (E-16 Cover Exhaust Chamber)

E-18 Топливный Насос (E-18 Fuel Pump)

E-18 Топливный Насос (E-18 Fuel Pump)

E-19 Маховик (E-19 Flywheel)

E-19 Маховик (E-19 Flywheel)

E-20 Катушка зажигания / Электронный блок управления (E-20 Ignition Cool / Electronic Control Module)

E-20 Катушка зажигания / Электронный блок управления (E-20 Ignition Cool / Electronic Control Module)

E-21 Стартерный Двигатель (E-21 Starter Motor)

E-21 Стартерный Двигатель (E-21 Starter Motor)

EOP-2 Комплект Сочленения Водяного Шланга (EOP-2 Joint Kit Water Hose)

EOP-2 Комплект Сочленения Водяного Шланга (EOP-2 Joint Kit Water Hose)

F-03-10 Картер коробки передач в сборе (F-03-10 Gear Case Assy)

F-03-10 Картер коробки передач в сборе (F-03-10 Gear Case Assy)

F-03 Картер / Удлиняющий кожух  (F-03 Crankcase / Extension Case)

F-03 Картер / Удлиняющий кожух (F-03 Crankcase / Extension Case)

F-04 Водяной насос / Вертикальный вал (L,s Size) (F-04 Water Pump/Vertical Shaft (L,s Size))

F-04 Водяной насос / Вертикальный вал (L,s Size) (F-04 Water Pump/Vertical Shaft (L,s Size))

F-05 Вал гребного винта / Гребной винт (F-05 Propeller Shaft / Propeller)

F-05 Вал гребного винта / Гребной винт (F-05 Propeller Shaft / Propeller)

F-06 Топливный Бак (F-06 Fuel Tank)

F-06 Топливный Бак (F-06 Fuel Tank)

F-07-1 Жгут проводов / Регулятор / Кабель стартёра (2) (F-07-1 Harness / Regulator / Cable Starter (2))

F-07-1 Жгут проводов / Регулятор / Кабель стартёра (2) (F-07-1 Harness / Regulator / Cable Starter (2))

F-08-11 Масляный кожух / Вал переключения (модели под ду) (F-08-11 Oil Case/Shift Shaft (Remote Control))

F-08-11 Масляный кожух / Вал переключения (модели под ду) (F-08-11 Oil Case/Shift Shaft (Remote Control))

F-08 Капот двигателя (F-08 Cover Motor)

F-08 Капот двигателя (F-08 Cover Motor)

F-10-1 Кронштейн Транца (2) (F-10-1 Stern Bracket (2))

F-10-1 Кронштейн Транца (2) (F-10-1 Stern Bracket (2))

F-11-1 Корпус Шарниров (2) (F-11-1 Swivel Case (2))

F-11-1 Корпус Шарниров (2) (F-11-1 Swivel Case (2))

F-11-20 Механизированный дифферент наклона (F-11-20 Trim/Tilt Power Assy)

F-11-20 Механизированный дифферент наклона (F-11-20 Trim/Tilt Power Assy)

F-12 Этикетка (F-12 Label)

F-12 Этикетка (F-12 Label)

F-13 Инструмент (F-13 Instruments)

F-13 Инструмент (F-13 Instruments)

F-15-1 Дистанционное управление, механическое, крышка - хром (F-15-1 Remote Control (Nhk Mec) (Handle Cap = Chrome))

F-15-1 Дистанционное управление, механическое, крышка - хром (F-15-1 Remote Control (Nhk Mec) (Handle Cap = Chrome))

F-15 Ду (Hi-Lex) (Handle Cap = Gray) (F-15 Remote Control (Hi-Lex) (серая крышка рукоятки))

F-15 Ду (Hi-Lex) (Handle Cap = Gray) (F-15 Remote Control (Hi-Lex) (серая крышка рукоятки))

Fop-1 Измерительные приборы / Проводка под приборы (Fop-1 Gauge / Wiring for Gauge)

Fop-1 Измерительные приборы / Проводка под приборы (Fop-1 Gauge / Wiring for Gauge)

Fop-2 Комплект для установки двигателя (Fop-2 Kit for Engine Mounting)

Fop-2 Комплект для установки двигателя (Fop-2 Kit for Engine Mounting)

Fop-3 Комплекты крыльчатки, ремкомплекты водяного насоса (Fop-3 Impeller Water Pump Complect)

Fop-3 Комплекты крыльчатки, ремкомплекты водяного насоса (Fop-3 Impeller Water Pump Complect)

Fop-4 Кабель (Fop-4 Cable)

Fop-4 Кабель (Fop-4 Cable)

Fop-5 Комплект гребного винта  (Fop-5 Propeller)

Fop-5 Комплект гребного винта (Fop-5 Propeller)

tohatsu

 
 

данный сайт носит информационный характер и не является публичной офертой

склад запчастей для водомоторной техники