вконтакте

Контактный телефон: +7 (981) 121-46-93, +7 (800) 200-90-76 , Email: parts-katalog@yandex.ru, где купить

 
 

  Логин:

Пароль:

Регистрация

www.partskatalog.ru Все каталоги Запчасти Mercury Запчасти Suzuki Запчасти Tohatsu Запчасти Honda Контакты



УВАЖАЕМЫЕ КЛИЕНТЫ!
C 31 ОКТЯБРЯ 2025 ПО 10 НОЯБРЯ 2025 ГОДА РАБОТАТЬ НЕ БУДЕМ




Вернуться к началу выбора


Тип двигателя: четырёхтактный

Модель двигателя: Honda BF30DK2

Модификация Вашего двигателя:   Honda BF30DK2 SHGU
Модели с серийным номером двигателя от BEAUJ-1000001 до BEAUJ-1999999
Модели с серийным номером рамы от BAUJ-1400001 до BAUJ-1499999

РЕЖИМЫ ПРОСМОТРА

Все узлы и детали

Двигатель

Внешние части


   Выберите раздел

найти расходники на лодочные моторы Suzuki

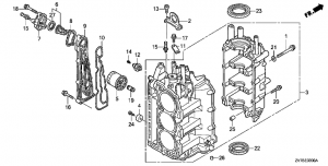
E-02 Головка Цилиндра (E-02 Cylinder Barrel)

E-02 Головка Цилиндра (E-02 Cylinder Barrel)

E-03 Блок Цилиндра (E-03 Block Cylinder)

E-03 Блок Цилиндра (E-03 Block Cylinder)

E-05 Масляный Насос (E-05 Oil Pump)

E-05 Масляный Насос (E-05 Oil Pump)

E-06 Поддон Масляного Картера (E-06 Oil Pan)

E-06 Поддон Масляного Картера (E-06 Oil Pan)

E-07 Коленвал / Поршень (E-07 Crankshaft / Piston)

E-07 Коленвал / Поршень (E-07 Crankshaft / Piston)

E-09-1 Распредвал (E-09-1 Camshaft Assy)

E-09-1 Распредвал (E-09-1 Camshaft Assy)

E-13 Ремень Распредвала (E-13 Belt Timing)

E-13 Ремень Распредвала (E-13 Belt Timing)

E-14-10 Трубки Карбюратора (E-14-10 Carburetor Tube)

E-14-10 Трубки Карбюратора (E-14-10 Carburetor Tube)

E-14-20 Тяга Дроссельной Заслонки (E-14-20 Throttle Rod)

E-14-20 Тяга Дроссельной Заслонки (E-14-20 Throttle Rod)

E-14-30 Крышка шумопоглотителя (глушителя) (E-14-30 Cover Muffler)

E-14-30 Крышка шумопоглотителя (глушителя) (E-14-30 Cover Muffler)

E-14 Карбюратор в сборе (E-14 Carburetor Assy)

E-14 Карбюратор в сборе (E-14 Carburetor Assy)

E-19 Маховик (E-19 Flywheel)

E-19 Маховик (E-19 Flywheel)

E-20 Крышка блока контактного зажигания (E-20 Cover CDI Unit)

E-20 Крышка блока контактного зажигания (E-20 Cover CDI Unit)

E-21 Стартерный Двигатель (E-21 Starter Motor)

E-21 Стартерный Двигатель (E-21 Starter Motor)

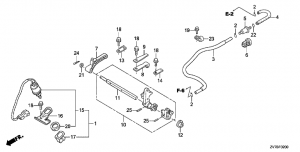
F-01-1 Ручка рулевого управления - румпель (2) (F-01-1 Handle Steering (2))

F-01-1 Ручка рулевого управления - румпель (2) (F-01-1 Handle Steering (2))

F-02 Механизм вала переключения (F-02 Shift Shaft)

F-02 Механизм вала переключения (F-02 Shift Shaft)

F-03-10 Картер коробки передач в сборе (F-03-10 Gear Case Assy)

F-03-10 Картер коробки передач в сборе (F-03-10 Gear Case Assy)

F-03 Удлиняющий Кожух (F-03 Extension Case)

F-03 Удлиняющий Кожух (F-03 Extension Case)

F-04 Водяной Насос (F-04 Water Pump)

F-04 Водяной Насос (F-04 Water Pump)

F-05 Вал Гребного Винта (F-05 Propeller Shaft)

F-05 Вал Гребного Винта (F-05 Propeller Shaft)

F-06 Топливные трубки/топливный Бак (F-06 Fuel Tube/Fuel Tank)

F-06 Топливные трубки/топливный Бак (F-06 Fuel Tube/Fuel Tank)

F-07-1 Регулятор (F-07-1 Regulator)

F-07-1 Регулятор (F-07-1 Regulator)

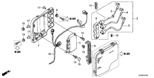
F-07-10 Катушка зажигания / Электронный блок управления (F-07-10 Ignition Cool / Electronic Control Module)

F-07-10 Катушка зажигания / Электронный блок управления (F-07-10 Ignition Cool / Electronic Control Module)

F-08 Капот двигателя/нижний Кожух (F-08 Cover Motor/Lower Cover)

F-08 Капот двигателя/нижний Кожух (F-08 Cover Motor/Lower Cover)

F-10-1 Кронштейн Транца (F-10-1 Stern Bracket)

F-10-1 Кронштейн Транца (F-10-1 Stern Bracket)

F-11-1 Корпус Шарниров (F-11-1 Swivel Case)

F-11-1 Корпус Шарниров (F-11-1 Swivel Case)

F-11-10 Демпфер (F-11-10 Damper)

F-11-10 Демпфер (F-11-10 Damper)

F-12 Этикетка (F-12 Label)

F-12 Этикетка (F-12 Label)

F-13 Инструмент (F-13 Instruments)

F-13 Инструмент (F-13 Instruments)

Fop-1-1 Комплекты измерительных приборов (Fop-1-1 Gauge Kit)

Fop-1-1 Комплекты измерительных приборов (Fop-1-1 Gauge Kit)

Fop-1 Измерительные приборы (Fop-1 Meter)

Fop-1 Измерительные приборы (Fop-1 Meter)

Fop-10 Комплект Сочленения Водяного Шланга (Fop-10 Joint Kit Water Hose)

Fop-10 Комплект Сочленения Водяного Шланга (Fop-10 Joint Kit Water Hose)

Fop-12 Гребной Винт (Fop-12 Propeller)

Fop-12 Гребной Винт (Fop-12 Propeller)

Fop-3 Комплект для установки двигателя (Fop-3 Kit for Engine Mounting)

Fop-3 Комплект для установки двигателя (Fop-3 Kit for Engine Mounting)

Fop-4 Комплекты крыльчатки, ремкомплекты водяного насоса (Fop-4 Impeller Water Pump Complect)

Fop-4 Комплекты крыльчатки, ремкомплекты водяного насоса (Fop-4 Impeller Water Pump Complect)

Fop-7 Комплект панели управления (Fop-7 Control Panel Complect)

Fop-7 Комплект панели управления (Fop-7 Control Panel Complect)

tohatsu

 
 

данный сайт носит информационный характер и не является публичной офертой

склад запчастей для водомоторной техники