вконтакте

Контактный телефон: +7 (981) 121-46-93, +7 (800) 200-90-76 , Email: parts-katalog@yandex.ru, где купить

 
 

  Логин:

Пароль:

Регистрация

www.partskatalog.ru Все каталоги Запчасти Mercury Запчасти Suzuki Запчасти Tohatsu Запчасти Honda Контакты



УВАЖАЕМЫЕ КЛИЕНТЫ!
C 19 ДЕКАБРЯ 2025 ПО 02 МАРТА 2026 ГОДА ОТДЕЛ ЗАПЧАСТЕЙ И СЕРВИС РАБОТАТЬ НЕ БУДУТ
ПРОДАЖА ЛОДОЧНЫХ МОТОРОВ В ШТАТНОМ РЕЖИМЕ
ОБ ИЗМЕНЕНИЯХ В ГРАФИКЕ РАБОТЫ ЧИТАЙТЕ НА САЙТА




Вернуться к началу выбора


Тип двигателя: четырёхтактный

Модель двигателя: Honda BF50DK4

Модификация Вашего двигателя:   Honda BF50DK4 SRTU
Модели с серийным номером двигателя от BEBEJ-1200001 до BEBEJ-1299999
Модели с серийным номером рамы от BBEJ-1300001 до BBEJ-1399999

РЕЖИМЫ ПРОСМОТРА

Все узлы и детали

Двигатель

Внешние части


   Выберите раздел

найти расходники на лодочные моторы Suzuki

E-02 Головка цилиндра (E-02 Cylinder Barrel)

E-02 Головка цилиндра (E-02 Cylinder Barrel)

E-03 Блок цилиндрааа (E-03 Block Cylinder)

E-03 Блок цилиндрааа (E-03 Block Cylinder)

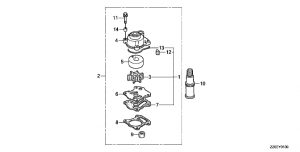
E-05 Масляный насос (E-05 Oil Pump)

E-05 Масляный насос (E-05 Oil Pump)

E-06 Поддон масляного картера (E-06 Oil Crankcase Pan)

E-06 Поддон масляного картера (E-06 Oil Crankcase Pan)

E-07 Коленвал / Поршень (E-07 Crankshaft / Piston)

E-07 Коленвал / Поршень (E-07 Crankshaft / Piston)

E-09 Распредвал (E-09 Camshaft Assy)

E-09 Распредвал (E-09 Camshaft Assy)

E-13 Ремень распредвала (E-13 Belt Timing)

E-13 Ремень распредвала (E-13 Belt Timing)

E-14 Впускной коллектор / Инжектор (E-14 Intake Manifold / Injector)

E-14 Впускной коллектор / Инжектор (E-14 Intake Manifold / Injector)

E-15-10 Воздухозаборник (E-15-10 Air intake)

E-15-10 Воздухозаборник (E-15-10 Air intake)

E-15 Корпус дроссельной заслонки (E-15 Throttle Body)

E-15 Корпус дроссельной заслонки (E-15 Throttle Body)

E-18-10 Пароотделитель (E-18-10 Vapour Separator)

E-18-10 Пароотделитель (E-18-10 Vapour Separator)

E-18 Трубки (E-18 Tubes)

E-18 Трубки (E-18 Tubes)

E-19 Генератор переменного тока (E-19 Generator AC)

E-19 Генератор переменного тока (E-19 Generator AC)

E-20-10 Катушка зажигания (E-20-10 Ignition Cool)

E-20-10 Катушка зажигания (E-20-10 Ignition Cool)

E-20 Электронный блок управления (E-20 Electrical Control Unit)

E-20 Электронный блок управления (E-20 Electrical Control Unit)

E-21 Двигатель электростартера (E-21 Starter Motor)

E-21 Двигатель электростартера (E-21 Starter Motor)

EOP-1 Комплект Прокладки (EOP-1 Gasket Kit)

EOP-1 Комплект Прокладки (EOP-1 Gasket Kit)

F-03-10 Картер коробки передач в сборе (F-03-10 Gear Case Assy)

F-03-10 Картер коробки передач в сборе (F-03-10 Gear Case Assy)

F-03-20 Кожух первичной шестерни (F-03-20 Housing Of Primary Gear)

F-03-20 Кожух первичной шестерни (F-03-20 Housing Of Primary Gear)

F-03 Удлиняющий кожух (F-03 Extension Case)

F-03 Удлиняющий кожух (F-03 Extension Case)

F-04 Водяной насос (F-04 Water Pump)

F-04 Водяной насос (F-04 Water Pump)

F-05 Вал гребного винта (F-05 Propeller Shaft)

F-05 Вал гребного винта (F-05 Propeller Shaft)

F-06 Топливный бак (F-06 Fuel Tank)

F-06 Топливный бак (F-06 Fuel Tank)

F-07-10 Жгут проводов (F-07-10 Harness)

F-07-10 Жгут проводов (F-07-10 Harness)

F-07-20 Крышка генератора переменного тока (F-07-20 Covwer Alternator)

F-07-20 Крышка генератора переменного тока (F-07-20 Covwer Alternator)

F-07 Регулятор (F-07 Regulator)

F-07 Регулятор (F-07 Regulator)

F-08 Капот двигателя/Нижний Кожух (F-08 Cover Motor/Lower Cover)

F-08 Капот двигателя/Нижний Кожух (F-08 Cover Motor/Lower Cover)

F-10 Кронштейн транца (F-10 Stern Bracket)

F-10 Кронштейн транца (F-10 Stern Bracket)

F-11-20 Механизированный дифферент наклона (F-11-20 Trim / Tilt Power Assy)

F-11-20 Механизированный дифферент наклона (F-11-20 Trim / Tilt Power Assy)

F-11 Корпус шарниров (F-11 Swivel Case)

F-11 Корпус шарниров (F-11 Swivel Case)

F-12 Этикетка (F-12 Label)

F-12 Этикетка (F-12 Label)

F-13 Инструмент / Другие детали (F-13 Instruments / Other Parts)

F-13 Инструмент / Другие детали (F-13 Instruments / Other Parts)

F-15-2 Дистанционное управление, механическое, крышка - хром (F-15-2 Remote Control (Nhk Mec) (Handle Cap = Chrome))

F-15-2 Дистанционное управление, механическое, крышка - хром (F-15-2 Remote Control (Nhk Mec) (Handle Cap = Chrome))

Fop-1 Ремкомплект водяного насоса (Fop-1 Repair Water Pump Complect)

Fop-1 Ремкомплект водяного насоса (Fop-1 Repair Water Pump Complect)

Fop-10 Дополнительная проводка (Fop-10 Other Cable)

Fop-10 Дополнительная проводка (Fop-10 Other Cable)

Fop-11 Дисплей (установочный комплект) (Fop-11 Display Kit)

Fop-11 Дисплей (установочный комплект) (Fop-11 Display Kit)

Fop-12 Набор кабелей (Fop-12 Cable Kit)

Fop-12 Набор кабелей (Fop-12 Cable Kit)

Fop-2-1 Комплекты измерительных приборов (Аналоговый) (Fop-2-1 Gauge Kit (Analog))

Fop-2-1 Комплекты измерительных приборов (Аналоговый) (Fop-2-1 Gauge Kit (Analog))

Fop-2 Измерительные приборы (Fop-2 Meter)

Fop-2 Измерительные приборы (Fop-2 Meter)

Fop-3-1 Панели переключателей - комплекты (2) (Fop-3-1 Breaker Panel Set (2))

Fop-3-1 Панели переключателей - комплекты (2) (Fop-3-1 Breaker Panel Set (2))

Fop-3-2 Панели переключателей - комплекты (3) (Fop-3-2 Breaker Panel Set (3))

Fop-3-2 Панели переключателей - комплекты (3) (Fop-3-2 Breaker Panel Set (3))

Fop-3-3 Панели переключателей - комплекты (4) (Fop-3-3 Breaker Panel Set (4))

Fop-3-3 Панели переключателей - комплекты (4) (Fop-3-3 Breaker Panel Set (4))

Fop-3-4 Панели переключателей - комплекты (5) (Fop-3-4 Breaker Panel Set (5))

Fop-3-4 Панели переключателей - комплекты (5) (Fop-3-4 Breaker Panel Set (5))

Fop-3 Панели переключателей - комплекты (1) (Fop-3 Breaker Panel Set (1))

Fop-3 Панели переключателей - комплекты (1) (Fop-3 Breaker Panel Set (1))

Fop-4-1 Контроллер ДУ (одинарный, установка сверху, слева) (Fop-4-1 Single Type Remote Control Top Mount (Left))

Fop-4-1 Контроллер ДУ (одинарный, установка сверху, слева) (Fop-4-1 Single Type Remote Control Top Mount (Left))

Fop-4-2 Контроллер ДУ (сдвоенный, установка сверху, справа) (Fop-4-2 Double Type Remote Control Top Mount (Right))

Fop-4-2 Контроллер ДУ (сдвоенный, установка сверху, справа) (Fop-4-2 Double Type Remote Control Top Mount (Right))

Fop-4-3 Контроллер ДУ (сдвоенный, установка сверху, слева) (Fop-4-3 Double Type Remote Control Top Mount (Left))

Fop-4-3 Контроллер ДУ (сдвоенный, установка сверху, слева) (Fop-4-3 Double Type Remote Control Top Mount (Left))

Fop-4-4 Контроллер ДУ (установка заподлицо, правый) (Fop-4-4 Flush Type Remote Control Top Mount (Right))

Fop-4-4 Контроллер ДУ (установка заподлицо, правый) (Fop-4-4 Flush Type Remote Control Top Mount (Right))

Fop-4-5 Контроллер ДУ (установка заподлицо, левый) (Fop-4-5 Flush Type Remote Control Top Mount (Left))

Fop-4-5 Контроллер ДУ (установка заподлицо, левый) (Fop-4-5 Flush Type Remote Control Top Mount (Left))

Fop-4 Контроллер ДУ (одинарный, установка сверху, правый) (Fop-4 Single Type Remote Control Top Mount (Right))

Fop-4 Контроллер ДУ (одинарный, установка сверху, правый) (Fop-4 Single Type Remote Control Top Mount (Right))

Fop-5-1 Кабели для сдвоенного контроллера ДУ (Fop-5-1 Cable (Double Remote Control))

Fop-5-1 Кабели для сдвоенного контроллера ДУ (Fop-5-1 Cable (Double Remote Control))

Fop-5 Кабели для одинарного контроллера ДУ (Fop-5 Cable (Single Remote Control))

Fop-5 Кабели для одинарного контроллера ДУ (Fop-5 Cable (Single Remote Control))

Fop-6 Гребной винт (Fop-6 Propeller)

Fop-6 Гребной винт (Fop-6 Propeller)

Fop-7 Комплект болтов (Hi-Lex) (Fop-7 Bolt Complect (Hi-Lex))

Fop-7 Комплект болтов (Hi-Lex) (Fop-7 Bolt Complect (Hi-Lex))

Fop-8 Комплект румпеля для рулевого управления (Fop-8 Handle Kit Assy)

Fop-8 Комплект румпеля для рулевого управления (Fop-8 Handle Kit Assy)

tohatsu

 
 

данный сайт носит информационный характер и не является публичной офертой

склад запчастей для водомоторной техники