вконтакте

Контактный телефон: +7 (981) 121-46-93, +7 (800) 200-90-76 , Email: parts-katalog@yandex.ru, где купить

 
 

  Логин:

Пароль:

Регистрация

www.partskatalog.ru Все каталоги Запчасти Mercury Запчасти Suzuki Запчасти Tohatsu Запчасти Honda Контакты

назад Раздел:   вперёд

Модификация Вашего двигателя:   Honda BF75E SD
Модели с серийным номером двигателя от BF75S-1600001 до BF75S-1699999
Модели с серийным номером рамы от BF75S-1600001 до BF75S-1699999

Вернуться к выбору узлов мотора

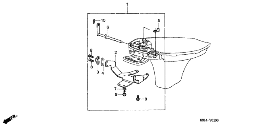
   Дистанционное управление
Remote Control      


ДЕТАЛИРОВКА ДЛЯ МОДЕЛИ: HONDA BF75E

Подвесной четырёх-тактный двигатель BF75E - Дистанционное управление / Remote Control
Номер на
рисунке
АртикулНаименованиеКол-во
на складе
Цена
106170-881-811

Комплект для установки дистанционного управления (Control kit, remote)

под заказпо запросу 
217851-881-811

Кронштейн рулевого управления (Bracket, steering)

под заказпо запросу 
517941-881-811

Стопор, Дроссель arm (Stopper, throttle arm)

под заказпо запросу 
624701-881-812

Рычаг переключателя (Lever, shift)

под заказпо запросу 
790504-921-010

Плоская шайба, 6 мм (Washer, plain, 6mm)

6 шт330 руб. 
892000-05010-4J

Болт под шестигранник., 5x10 (Bolt, hex., 5x10)

под заказпо запросу 
992000-06012-4J

Болт под шестигранник., 6x12 (Bolt, hex., 6x12)

под заказпо запросу 
1094251-06000

Штифт (Pin)

под заказ90 руб. 

Время выполнения запроса 0.80665802955627 сек.

 
 

данный сайт носит информационный характер и не является публичной офертой

склад запчастей для водомоторной техники