вконтакте

Контактный телефон: +7 (981) 121-46-93, +7 (800) 200-90-76 , Email: parts-katalog@yandex.ru, где купить

 
 

  Логин:

Пароль:

Регистрация

www.partskatalog.ru Все каталоги Запчасти Mercury Запчасти Suzuki Запчасти Tohatsu Запчасти Honda Контакты


Вернуться к началу выбора


Тип двигателя: четырёхтактный

Модель двигателя: Honda BF75E

Модификация Вашего двигателя:   Honda BF75E SD
Модели с серийным номером двигателя от BF75S-1600001 до BF75S-1699999
Модели с серийным номером рамы от BF75S-1600001 до BF75S-1699999

РЕЖИМЫ ПРОСМОТРА

Все узлы и детали

Двигатель

Внешние части


   Выберите раздел

найти расходники на лодочные моторы Suzuki

Головка блока цилиндра / Гильза цилиндра (Cylinder Head / Cylinder Barrel)

Головка блока цилиндра / Гильза цилиндра (Cylinder Head / Cylinder Barrel)

Впускной трубопровод / Блок управления C.D.I. (Inlet Manifold / C.d.i. Unit)

Впускной трубопровод / Блок управления C.D.I. (Inlet Manifold / C.d.i. Unit)

Масляный насос / Масляный фильтр / Выхлопная труба (Oil Pump / Oil Filter / Exhaust Pipe)

Масляный насос / Масляный фильтр / Выхлопная труба (Oil Pump / Oil Filter / Exhaust Pipe)

Коленвал / Поршень (Crankshaft / Piston)

Коленвал / Поршень (Crankshaft / Piston)

Распределительный вал / Клапан (Camshaft / Valve)

Распределительный вал / Клапан (Camshaft / Valve)

Барабанный стартер (Recoil Starter)

Барабанный стартер (Recoil Starter)

Корпус стартера / Шкив (Starter Case / Cam Pulley)

Корпус стартера / Шкив (Starter Case / Cam Pulley)

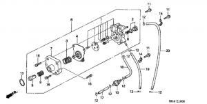
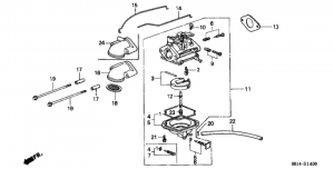
Карбюратор / Воздуховод (Carburetor / Air Guide)

Карбюратор / Воздуховод (Carburetor / Air Guide)

Топливный насос (Fuel Pump)

Топливный насос (Fuel Pump)

Маховик / Катушка зажигания (Flywheel / Ignition Coil)

Маховик / Катушка зажигания (Flywheel / Ignition Coil)

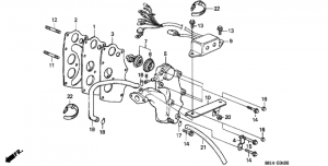
Аварийный выключатель (Safety Switch)

Аварийный выключатель (Safety Switch)

Комплект прокладок (Gasket Kit)

Комплект прокладок (Gasket Kit)

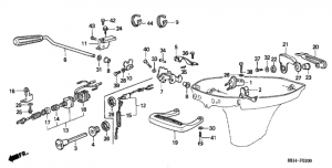
Румпель / Тросик дросселя (Steering Handle / Throttle Cable)

Румпель / Тросик дросселя (Steering Handle / Throttle Cable)

Переключающий вал / Ручка для переноски / Крышка рычага блокировки (Shift Shaft / Carrying Handle / Cover Lock Lever)

Переключающий вал / Ручка для переноски / Крышка рычага блокировки (Shift Shaft / Carrying Handle / Cover Lock Lever)

Картер коробки передач / Удлинение корпуса / Переключающая тяга (Gear Case / Extension Case / Shift Rod)

Картер коробки передач / Удлинение корпуса / Переключающая тяга (Gear Case / Extension Case / Shift Rod)

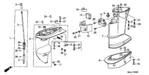
Картер коробки передач в сборе. (Gear Case Assy.)

Картер коробки передач в сборе. (Gear Case Assy.)

Водяной насос / Вертикальный вал (Water Pump / Vertical Shaft)

Водяной насос / Вертикальный вал (Water Pump / Vertical Shaft)

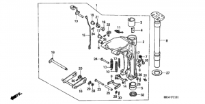
Вал гребного винта / Гребной винт (Propeller Shaft / Propeller)

Вал гребного винта / Гребной винт (Propeller Shaft / Propeller)

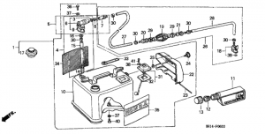
Топливный бак / Вспомогательный бак (1) (Fuel Tank / Sub Tank (1))

Топливный бак / Вспомогательный бак (1) (Fuel Tank / Sub Tank (1))

Топливный бак (2) (Fuel Tank (2))

Топливный бак (2) (Fuel Tank (2))

Масляный картер / Крышка двигателя (капот) (1) (Oil Case / Engine Cover (1))

Масляный картер / Крышка двигателя (капот) (1) (Oil Case / Engine Cover (1))

Масляный картер / Крышка двигателя (капот) (2) (Oil Case / Engine Cover (2))

Масляный картер / Крышка двигателя (капот) (2) (Oil Case / Engine Cover (2))

Монтажная рама / Верхняя монтажная резинка (Mount Frame / Upper Mount Rubber)

Монтажная рама / Верхняя монтажная резинка (Mount Frame / Upper Mount Rubber)

Кронштейн транца / Регулировочная тяга (Stern Bracket / Adjust Rod)

Кронштейн транца / Регулировочная тяга (Stern Bracket / Adjust Rod)

Поворотный корпус / Поворотный вал (1) (Swivel Case / Swivel Shaft (1))

Поворотный корпус / Поворотный вал (1) (Swivel Case / Swivel Shaft (1))

Поворотный корпус / Поворотный вал (2) (Swivel Case / Swivel Shaft (2))

Поворотный корпус / Поворотный вал (2) (Swivel Case / Swivel Shaft (2))

Наклейки (Label)

Наклейки (Label)

Стандартный инструмент / Шнур стартера (Tools / Starter Rope)

Стандартный инструмент / Шнур стартера (Tools / Starter Rope)

Дистанционное управление (Remote Control)

Дистанционное управление (Remote Control)

Комплект для монтажа стартера (Vertical Starter)

Комплект для монтажа стартера (Vertical Starter)

Монтажный комплект, водяной / Чехол двигателя (Water Mouth / Body Cover)

Монтажный комплект, водяной / Чехол двигателя (Water Mouth / Body Cover)

Наборы для ремонта водяного насоса (Water Pump Impeller Kit)

Наборы для ремонта водяного насоса (Water Pump Impeller Kit)

tohatsu

 
 

данный сайт носит информационный характер и не является публичной офертой

склад запчастей для водомоторной техники