вконтакте

Контактный телефон: +7 (981) 121-46-93, +7 (800) 200-90-76 , Email: parts-katalog@yandex.ru, где купить

 
 

  Логин:

Пароль:

Регистрация

www.partskatalog.ru Все каталоги Запчасти Mercury Запчасти Suzuki Запчасти Tohatsu Запчасти Honda Контакты



УВАЖАЕМЫЕ КЛИЕНТЫ!
C 19 ДЕКАБРЯ 2025 ПО 02 МАРТА 2026 ГОДА ОТДЕЛ ЗАПЧАСТЕЙ И СЕРВИС РАБОТАТЬ НЕ БУДУТ
ПРОДАЖА ЛОДОЧНЫХ МОТОРОВ В ШТАТНОМ РЕЖИМЕ
ОБ ИЗМЕНЕНИЯХ В ГРАФИКЕ РАБОТЫ ЧИТАЙТЕ НА САЙТА




Выбрать другую модель

назад Раздел:   вперёд

вернуться к списку узлов и деталей

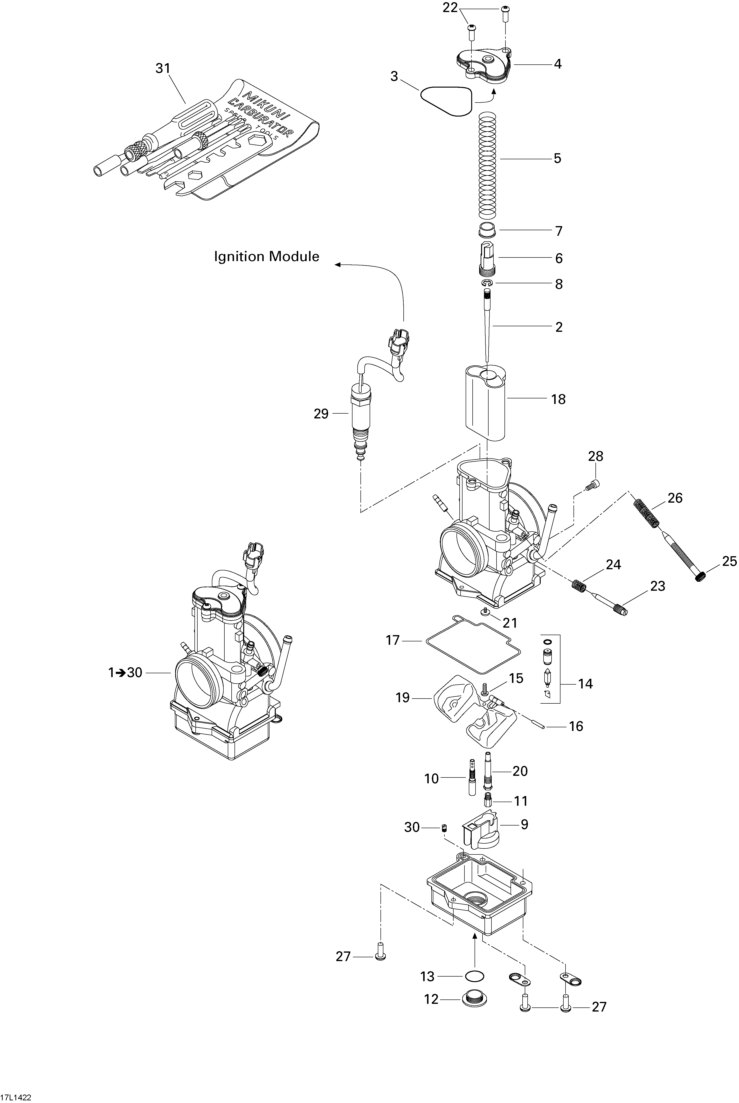
ДЕТАЛИРОВКА ДЛЯ МОДЕЛИ: LYNX Rave RS 600, 2014


Snowmobiles Лункс  - Carburetor - Карбюратор

Номер на
рисунке
АртикулНаименованиеКол-во
на складе
Цена
1 403138818

MIKUNI TMX39-1Z1 (MIKUNI TMX39-1Z1)

под заказ49200 руб.
2 404162141

иголка 6FDY2-2 (Needle 6FDY2-2)

под заказ3640 руб.
3 404162111

Уплотнительное кольцо (O-Ring)

под заказ1290 руб.
4 404162110

Top Колпачок (Top Cap)

под заказ2210 руб.
5 404162109

Пружина (Spring)

под заказ1290 руб.
6 404162108

Держатель Направляющая (Holder Guide)

под заказ1850 руб.
7 404161863

Кольцо (Ring)

под заказ1070 руб.
8 404152200

Уплотнительное кольцо (E-Ring)

под заказ430 руб.
9 404161855

Держатель (Holder)

под заказ1780 руб.
10404162134

Pilot Jet 55 (Pilot Jet 55)

под заказ880 руб.
11404100500

Главный жиклёр 280 (Main Jet 280)

под заказ590 руб.
11963881

(последний код) MAIN JET 280 (USE 404100500)

под заказ370 руб.
12404107400

Drain Заглушка винта (Drain Plug Screw)

под заказ1780 руб.
13404107300

Уплотнительное кольцо (O-Ring)

под заказ590 руб.
14404161868

Игольчатый клапан 1.5 (Needle Valve 1.5)

под заказ5570 руб.
15404138600

Винт (Screw)

под заказ290 руб.
16404161860

Штифт (Pin)

под заказ880 руб.
17404161993

Уплотнительное кольцо (O-Ring)

под заказ1930 руб.
18404162106

Поршень Клапан 4.0 (Piston Valve 4.0)

под заказ15150 руб.
19404161859

Поплавок (Float)

под заказ8370 руб.
20486400012

Игла жиклёра P-6 (Jet Needle P-6)

под заказпо запросу
21404161861

Винт (Screw)

под заказ430 руб.
22404138700

Винт (Screw)

под заказ430 руб.
23404161866

Регулятор (Adjuster)

под заказ1170 руб.
24404132400

Пружина (Spring)

под заказ590 руб.
25404161850

Регулятор (Adjuster)

под заказ1780 руб.
26404161849

Пружина (Spring)

под заказ880 руб.
27404161848

Винт (Screw)

под заказ430 руб.
28404162100

Винт (Screw)

под заказ720 руб.
29404161998

Solenoid (Solenoid)

под заказ21400 руб.
30404162098

Главный жиклёр 230 (Main Jet 230)

под заказ910 руб.
31404112000

Набор инструмента (Tool Kit)

под заказ7330 руб.
31876960

(последний код) SPECIAL TOOL KIT

под заказ5730 руб.
lynx

 
 

данный сайт носит информационный характер и не является публичной офертой

склад запчастей для водомоторной техники