вконтакте

Контактный телефон: +7 (981) 121-46-93, +7 (800) 200-90-76 , Email: parts-katalog@yandex.ru, где купить

 
 

  Логин:

Пароль:

Регистрация

www.partskatalog.ru Все каталоги Запчасти Mercury Запчасти Suzuki Запчасти Tohatsu Запчасти Honda Контакты



УВАЖАЕМЫЕ КЛИЕНТЫ!
C 19 ДЕКАБРЯ 2025 ПО 02 МАРТА 2026 ГОДА ОТДЕЛ ЗАПЧАСТЕЙ И СЕРВИС РАБОТАТЬ НЕ БУДУТ
ПРОДАЖА ЛОДОЧНЫХ МОТОРОВ В ШТАТНОМ РЕЖИМЕ
ОБ ИЗМЕНЕНИЯХ В ГРАФИКЕ РАБОТЫ ЧИТАЙТЕ НА САЙТА




Выбрать другую модель

назад Раздел:   вперёд

вернуться к списку узлов и деталей

ДЕТАЛИРОВКА ДЛЯ МОДЕЛИ: LYNX Xtrim Commander 600 E-TEC, 2014


Snow mobile Лункс  - Battery And Starter

Номер на
рисунке
АртикулНаименованиеКол-во
на складе
Цена
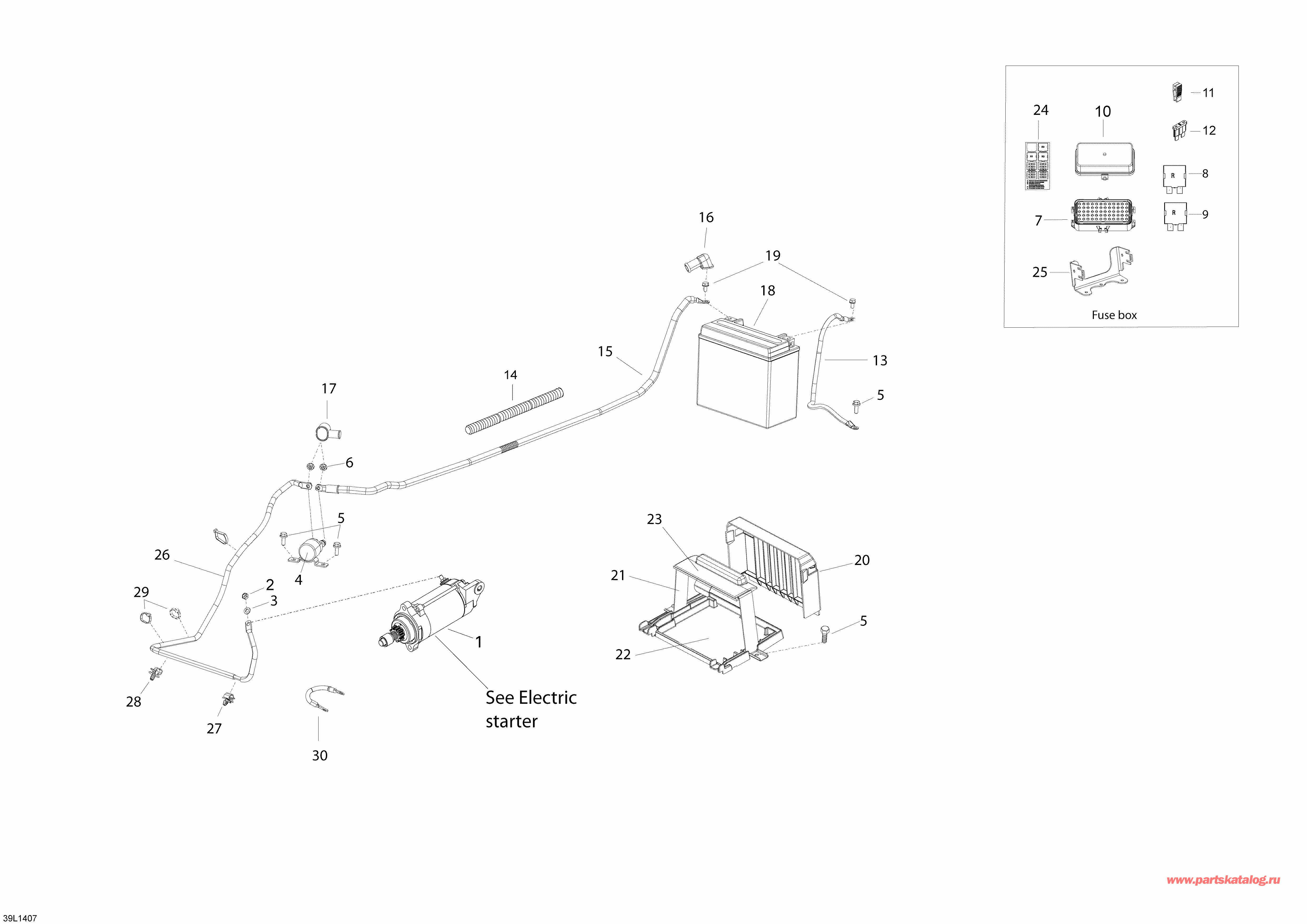
1 515177389

Electric start (Electric start)

под заказ43100 руб.
1 515177047

(последний код) DEMARREUR *STARTER

под заказпо запросу
1 SM-01314

     (не оригинальная запчасть) Стартер электрический BRP SM-01314

под заказ16 770 руб.
1 AT-MZ1210

     (не оригинальная запчасть) Стартер электрический BRP AT-MZ1210

под заказ11 490 руб.
1 SM-MZ1118

     (не оригинальная запчасть) Стартер электрический двигателя снегохода SM-MZ1118

под заказ16 230 руб.
2 232561434

Эластичная гайка со стопором M6 (Elastic stop nut M6)

под заказ270 руб.
3 234061410

Шайба (Washer)

под заказ270 руб.
3 711244213

(последний код) RONDELLE *WASHER

под заказ210 руб.
4 278003012

Solenoid (Solenoid)

под заказ4310 руб.
4 SM-01146

     (не оригинальная запчасть) Реле стартера BRP SM-01146

под заказ2 810 руб.
4 004-120-02

     (не оригинальная запчасть) Реле стартера BRP 004-120-02

под заказ4 420 руб.
5 207561644

Винт (Screw)

под заказ290 руб.
6 233261414

Elastic Фланецd Гайка M6 (Elastic flanged nut M6)

под заказ290 руб.
6

(последний код)

под заказпо запросу
7 XXX

Предохранитель Корпус (Fuse housing)

8 515176774

Реле 30 Amp (Relay 30 Amp)

под заказ1260 руб.
8 710000739

(последний код) RELAIS *RELAY 10A

под заказ1010 руб.
9 515176775

Реле 50 Amp (Relay 50 Amp)

под заказ1290 руб.
9 710000740

(последний код) RELAIS *RELAY 30A

под заказ1010 руб.
10710001026

Крышка (Cover)

под заказ1580 руб.
10710000659

(последний код) COUVERCLE FUSE *FUSE COVER

под заказ1230 руб.
11515175811

Инструмент (Tool)

под заказ180 руб.
12710000742

Предохранитель 5A (Fuse 5A)

под заказ720 руб.
12710000743

Предохранитель 7, 5A (Fuse 7,5A)

под заказ720 руб.
12710000744

Предохранитель 10A (Fuse 10A)

под заказ720 руб.
12710000745

Предохранитель 15A (Fuse 15A)

под заказ720 руб.
12710000746

Предохранитель 20A (Fuse 20A)

под заказ720 руб.
12710000747

Предохранитель 30A (Fuse 30A)

под заказ720 руб.
13515176780

Battery Заземляющий провод 380 mm. (Battery ground cable 380 mm.)

под заказ4070 руб.
1428015

Трубопровод (Tubing)

под заказ1260 руб.
15515176805

Кабель аккумулятора 1230 mm. (Battery cable 1230 mm.)

под заказ2920 руб.
16278001771

Крышка (Cover)

под заказ580 руб.
17570151000

Крышка (Cover)

под заказ1350 руб.
17673580

(последний код) CAPUCHON PROT. *CAP-PROTECTION

под заказ810 руб.
18410301203

Battery. Includes 18 to 19 (Battery. Includes 18 to 19)

под заказ12230 руб.
18715900316

(последний код) BATTERIE 18 AMP*BATTERY-18 AMP

под заказпо запросу
18FTX20L-BS

     (не оригинальная запчасть) Аккумулятор FTX20L-BS (YTX20L-BS)

под заказ8 580 руб.
18FHD20HL-BS-GEL

     (не оригинальная запчасть) Аккумулятор гелевый FHD20HL-BS-GEL (YTX20HL-BS, YTX20L-BS)

под заказ11 110 руб.
19250000282

Battery Защелка kit (Battery fastener kit)

под заказ860 руб.
19295500849

(последний код) ENS. BOULON BA*FASTENER BATTERY KIT

под заказ680 руб.
20510005079

Battery Крышка (Battery cover)

под заказ1280 руб.
21510005143

Фиксатор Хомут (Retainer strap)

под заказ5350 руб.
22515176804

Battery sвышеport (Battery support)

под заказ5350 руб.
23510005146

Фиксатор Хомут Трубопровод (Retainer strap tubing)

под заказ2000 руб.
24516005892

Наклейка предохранителя (Fuse decal)

под заказ1250 руб.
25515177073

Блок предохранителей sвышеport (Fuse box support)

под заказ2920 руб.
25515176624

(последний код) FUSEBOX SUPPORT

под заказ1910 руб.
26515176806

Start Кабели 1000 mm. (Start cable 1000 mm.)

под заказ2500 руб.
27515176795

Зажим (Clip)

под заказ430 руб.
27293750031

(последний код) ANCRAGE TIE RAP*TIE RAP MOUNT

под заказ340 руб.
28605627000

Шпилька (Stud)

под заказ210 руб.
29414115200

Tie rap (Tie rap)

под заказ130 руб.
29414587300

(последний код) TIE RAP *TIE-RAP

под заказ110 руб.
30515177289

Двигатель Провод заземления (Engine ground wire)

под заказ1780 руб.
lynx

 
 

данный сайт носит информационный характер и не является публичной офертой

склад запчастей для водомоторной техники