вконтакте

Контактный телефон: +7 (981) 121-46-93, +7 (800) 200-90-76 , Email: parts-katalog@yandex.ru, где купить

 
 

  Логин:

Пароль:

Регистрация

www.partskatalog.ru Все каталоги Запчасти Mercury Запчасти Suzuki Запчасти Tohatsu Запчасти Honda Контакты



УВАЖАЕМЫЕ КЛИЕНТЫ!
C 19 ДЕКАБРЯ 2025 ПО 02 МАРТА 2026 ГОДА ОТДЕЛ ЗАПЧАСТЕЙ И СЕРВИС РАБОТАТЬ НЕ БУДУТ
ПРОДАЖА ЛОДОЧНЫХ МОТОРОВ В ШТАТНОМ РЕЖИМЕ
ОБ ИЗМЕНЕНИЯХ В ГРАФИКЕ РАБОТЫ ЧИТАЙТЕ НА САЙТА




Выбрать другую модель

назад Раздел:   вперёд

вернуться к списку узлов и деталей

ДЕТАЛИРОВКА ДЛЯ МОДЕЛИ: LYNX Xtrim 800R PowerTEK, 2010


Snowmobiles lynx  - Bottom Pan - Нижний поддон

Номер на
рисунке
АртикулНаименованиеКол-во
на складе
Цена
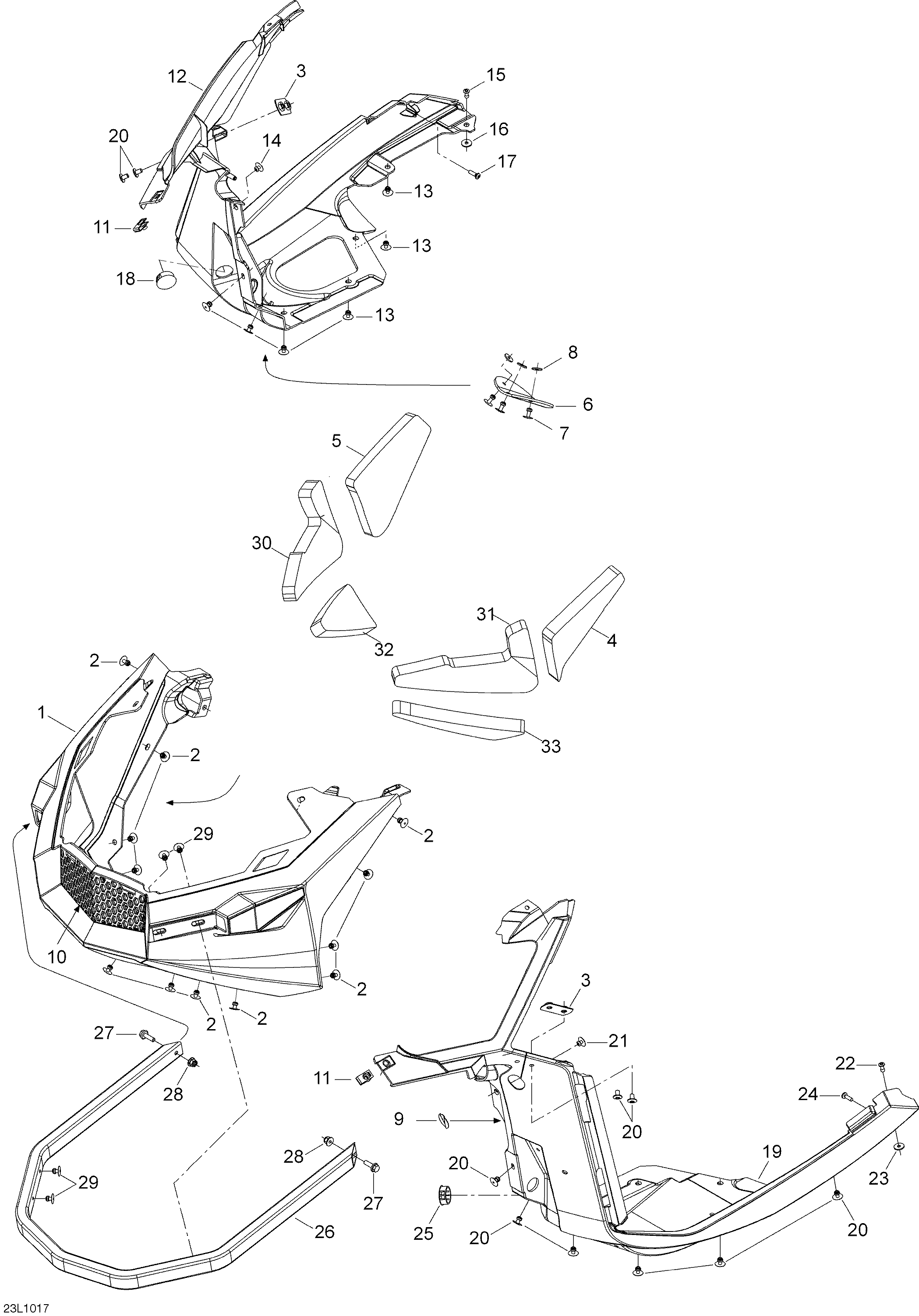
1 502006971

Front Нижний поддон (Front Bottom Pan)

под заказ9970 руб.
1 502006941

(последний код) BOTTOM PAN

под заказ6100 руб.
2 293150104

Pop Заклёпка 3 / 16" (Pop Rivet 3/16")

под заказ80 руб.
2 861783600

(последний код) KIT FASTENER LONG SKID RIVET

под заказ570 руб.
3 502006949

Пластина (Plate)

под заказ980 руб.
4 502006829

RH Foam верхний (RH Foam Upper)

под заказ610 руб.
4 502007210

(последний код) FOAM UPPER RH

под заказ1000 руб.
5 502006830

LH Foam верхний (LH Foam Upper)

под заказ690 руб.
5 502007211

(последний код) FOAM UPPER LH

под заказ1080 руб.
6 502006935

Snow Deflector (Snow Deflector)

под заказ3780 руб.
7 293150104

Pop Заклёпка 3 / 16" (Pop Rivet 3/16")

под заказ80 руб.
7 861783600

(последний код) KIT FASTENER LONG SKID RIVET

под заказ570 руб.
8 517124300

Шайба (Washer)

под заказ130 руб.
9 293250087

Прокладка (Gasket)

под заказ580 руб.
10 517304007

Grill (Grill)

под заказ2200 руб.
11 293250087

Прокладка (Gasket)

под заказ580 руб.
12 502006831

RH Нижний поддон (RH Bottom Pan)

под заказ4710 руб.
12 502007035

(последний код) COQUE DROITE *PAN-BOTTOM RH

под заказпо запросу
13 293150104

Pop Заклёпка 3 / 16" (Pop Rivet 3/16")

под заказ80 руб.
13 861783600

(последний код) KIT FASTENER LONG SKID RIVET

под заказ570 руб.
14 293150103

Pop Заклёпка 3 / 16" (Pop Rivet 3/16")

под заказ140 руб.
15 390402300

Pop Заклёпка 3 / 16" (Pop Rivet 3/16")

под заказ140 руб.
16 517124300

Шайба (Washer)

под заказ130 руб.
17 250000146

Truss Head Torx Винт K50 X 16 (Truss Head Torx Screw K50 X 16)

под заказ230 руб.
17 250000720

(последний код) TORX-SCREW TRUSS HEAD PT.K50X16

под заказ140 руб.
17 SM-06020

     (не оригинальная запчасть) Крепеж для стекла BRP SM-06020

под заказ890 руб.
18 414916600

Nylon Колпачок (Nylon Cap)

под заказ290 руб.
19 502006832

LH Нижний поддон (LH Bottom Pan)

под заказ4710 руб.
19 502007036

(последний код) COQUE GAUCHE *PAN BOTTOM LH

под заказпо запросу
20 293150104

Pop Заклёпка 3 / 16" (Pop Rivet 3/16")

под заказ80 руб.
20 861783600

(последний код) KIT FASTENER LONG SKID RIVET

под заказ570 руб.
21 293150103

Pop Заклёпка 3 / 16" (Pop Rivet 3/16")

под заказ140 руб.
22 390402300

Pop Заклёпка 3 / 16" (Pop Rivet 3/16")

под заказ140 руб.
23 517124300

Шайба (Washer)

под заказ130 руб.
24 250000146

Truss Head Torx Винт K50 X 16 (Truss Head Torx Screw K50 X 16)

под заказ230 руб.
24 250000720

(последний код) TORX-SCREW TRUSS HEAD PT.K50X16

под заказ140 руб.
24 SM-06020

     (не оригинальная запчасть) Крепеж для стекла BRP SM-06020

под заказ890 руб.
25 414916600

Nylon Колпачок (Nylon Cap)

под заказ290 руб.
26 502007116

Front Бампер (Front Bumper)

под заказ7930 руб.
26 502006833

(последний код) PARE-CHOCS *BUMPER

под заказ4720 руб.
26 SM-12454

     (не оригинальная запчасть) Бампер для BRP (REV XP) SM-12454

под заказ3 750 руб.
27 207662044

Hex. Фланецd Винт M6 X 20 (Hex. Flanged Screw M6 X 20)

под заказ290 руб.
28 233261414

Hex. Фланецd Elastic Гайка M6 (Hex. Flanged Elastic Nut M6)

под заказ290 руб.
28

(последний код)

под заказпо запросу
29 293150104

Pop Заклёпка 3 / 16" (Pop Rivet 3/16")

под заказ80 руб.
29 861783600

(последний код) KIT FASTENER LONG SKID RIVET

под заказ570 руб.
30 502006906

RH Middle Foam (RH Middle Foam)

под заказ910 руб.
30 502007212

(последний код) FOAM MIDDLE RH

под заказ1380 руб.
31 502006907

LH Middle Foam (LH Middle Foam)

под заказ910 руб.
31 502007213

(последний код) FOAM MIDDLE LH

под заказ1380 руб.
32 502006908

RH нижний Foam (RH Lower Foam)

под заказ610 руб.
32 502007214

(последний код) FOAM LOWER RH

под заказ1000 руб.
33 502006909

LH нижний Foam (LH Lower Foam)

под заказ610 руб.
33 502007215

(последний код) FOAM LOWER LH

под заказ1000 руб.
lynx

 
 

данный сайт носит информационный характер и не является публичной офертой

склад запчастей для водомоторной техники