вконтакте

Контактный телефон: +7 (981) 121-46-93, +7 (800) 200-90-76 , Email: parts-katalog@yandex.ru, где купить

 
 

  Логин:

Пароль:

Регистрация

www.partskatalog.ru Все каталоги Запчасти Mercury Запчасти Suzuki Запчасти Tohatsu Запчасти Honda Контакты



УВАЖАЕМЫЕ КЛИЕНТЫ!
C 19 ДЕКАБРЯ 2025 ПО 02 МАРТА 2026 ГОДА ОТДЕЛ ЗАПЧАСТЕЙ И СЕРВИС РАБОТАТЬ НЕ БУДУТ
ПРОДАЖА ЛОДОЧНЫХ МОТОРОВ В ШТАТНОМ РЕЖИМЕ
ОБ ИЗМЕНЕНИЯХ В ГРАФИКЕ РАБОТЫ ЧИТАЙТЕ НА САЙТА




Выбрать другую модель

назад Раздел:   вперёд

вернуться к списку узлов и деталей

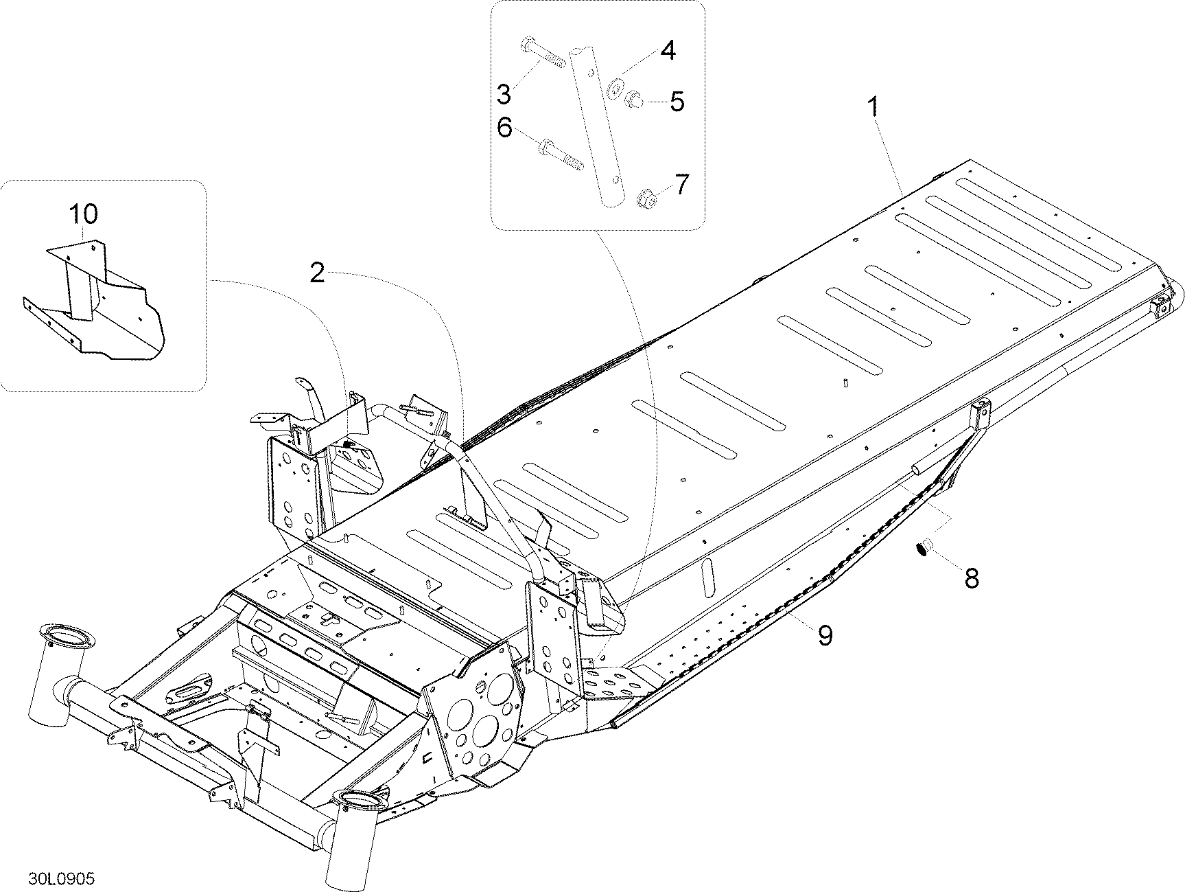
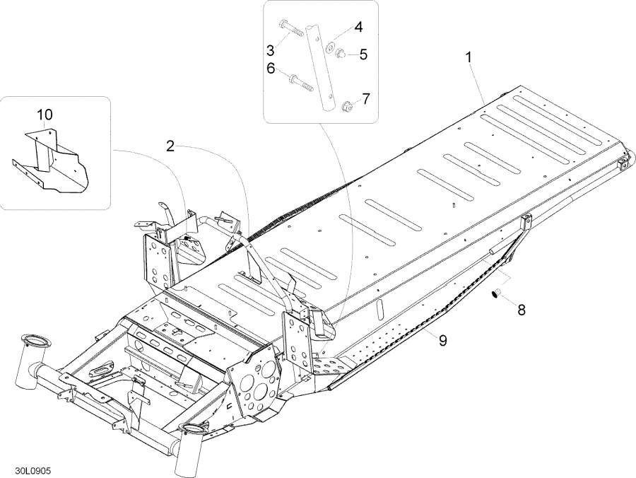
ДЕТАЛИРОВКА ДЛЯ МОДЕЛИ: LYNX YETI Pro 550, 2009


Snowmobile Lynx  - Рама - Frame

Номер на
рисунке
АртикулНаименованиеКол-во
на складе
Цена
1 605155133

Рама в сборе (Frame assy)

под заказ188900 руб.
2 605155220

Румпель sвышеp. (Handle steering supp.)

под заказ16650 руб.
3 40003

Винт M6 x 35 (Screw M6 x 35)

под заказ50 руб.
4 20003

Шайба (Washer)

под заказ20 руб.
4

(последний код)

под заказпо запросу
5 33051

Гайка M6 (Nut M6)

под заказ80 руб.
5 3399051

(последний код) NUT M6(USE 33051)

под заказ50 руб.
6 40002

Винт M6 x 40 (Screw M6 x 40)

под заказ60 руб.
7 33200

Гайка M6 (Nut M6)

под заказпо запросу
7 33072

(последний код) NUT-FLANGE HEX. M6 DIN 6927 8.8 YIC

под заказпо запросу
8 28210

Filler Заглушка S-22 (Filler plug S-22)

под заказ240 руб.
9 605253506

Reinдляcement R.H. (Reinforcement R.H.)

под заказ3290 руб.
9 605253507

Reinдляcement L.H. (Reinforcement L.H.)

под заказ3290 руб.
10 605253504

Toe rest R.H (Toe rest R.H)

под заказ2760 руб.
10 605253505

Toe rest L.H (Toe rest L.H)

под заказ2760 руб.
lynx

 
 

данный сайт носит информационный характер и не является публичной офертой

склад запчастей для водомоторной техники